1月22日,国网新能源云公示河南省2026年风、光项目机制电价竞价结果。
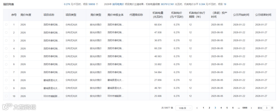
2026年按光伏竞价项目竞价出清结果:机制电量规模2796742.403兆瓦时,机制电价水平0.276元/千瓦时,项目58658个。
2026年按风电竞价项目竞价出清结果:机制电量规模3837612.561兆瓦时,机制电价水平0.304元/千瓦时,项目19个。
根据河南136号文竞价文件,竞价申报主体为2025年6月1日-2026年12月31日投产或承诺投产的、且满足河南136号文规定的风电、光伏项目。
竞价区分风电、光伏两类项目开展。其中风电机制电量总规模39.13亿千瓦时、光伏机制电量总规模66亿千瓦时。
风电、光伏竞价申报充足率均为120%。风电、光伏单个项目机制电量比例均为80%。
竞价上下限:风电、光伏竞价上限均为0.349元/千瓦时,竞价下限风电为0.113元/千瓦时,光伏为0.121元/千瓦时。
执行期限:竞价申报时已投产项目自2026年1月1日起执行,未投产项目自投产的次月1日起执行,期限为12年。
部分项目见下(详情可点击文末阅读原文查看):
————THE END————
2026年4月16-18日
郑州中原国际会展中心(航空港区)
第六届中原光储充产业展
豫您相约
期待您的到来
好展位、先报先得
立足中原、面向全国、对接海外
更多精彩内容敬请期待
免责声明:本公众号引用转载自其他机构、网站的内容出于传递更多信息的目的,并不说明赞同其观点或证实其内容的真实性。转载内容如有侵权或其它问题请及时告之,公众号将及时修改或删除。文章内容和数据仅供参考,不构成投资建议。投资者据此操作,风险自担。

