在全球经济格局深刻变革的背景下,各国外汇储备结构、美债与黄金配置趋势正经历历史性转变。本文将分析当前各国外汇储备总量、美债与黄金占比及其趋势,解读去美元化和黄金热的底层逻辑,探讨中国稳定汇率的策略,并展望美元指数与人民币汇率短期走势。
一、各国外汇储备结构及趋势分析
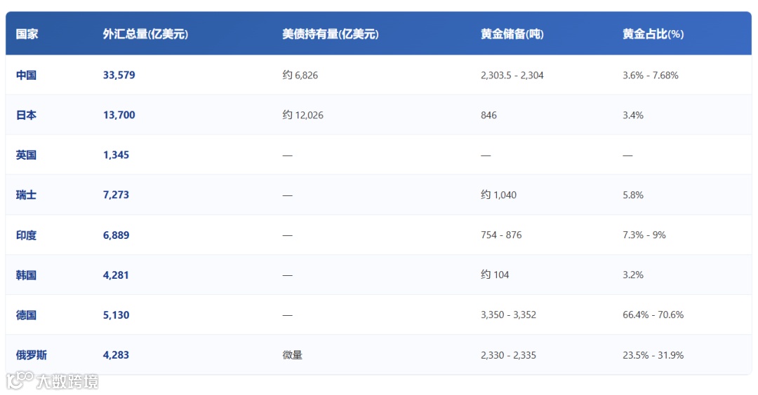
1、主要经济体储备资产配置现状
根据最新数据,全球部分经济体在外汇储备、美国国债和黄金储备上的配置呈现出显著差异(见下表)。
2、趋势变化分析
多元化配置加速:2025年成为全球央行储备结构的“分水岭”,黄金在各国央行储备中的占比自1996年以来首次超过美国国债,标志着全球储备体系正从美元主导转向多元化格局。
新兴市场与发达国家的配置差异:新兴市场央行黄金配置比例约为15%,远低于发达经济体约30%的水平,反映出不同经济体对安全性和流动性的偏好差异,也预示着新兴市场未来增持黄金的潜力。
去美元化趋势明显:美元在全球外汇储备中的占比从1999年的71%降至2025年初的57.7%,创1995年以来最低。这一变化并非简单“去美元”,而是向“美元+欧元+人民币+黄金”的多元体系演进。
二、储备资产趋势与美联储提名联动
1、结构性疑虑与短期预期博弈
● 去美元化的深层动力:
去美元化源于对美元长期信用根基的担忧。美国政府债务超38万亿美元,叠加特朗普政府将美元工具化、推行单边关税等行为,促使多国寻求不依赖美元的支付与储备体系,体现为国家安全与经济自主的战略考量。
● 黄金热的根本驱动力:
黄金作为非主权、无对手风险的价值储藏手段,在不确定性时代吸引力凸显。当前购金主力已由个人投资者转向各国央行,反映其作为金融安全“压舱石”的战略回归。全球央行黄金储备占比超越美债,标志资产配置理念从“效率优先”转向“安全优先”。
2、美联储主席提名的影响
凯文·沃什的提名发生在全球储备结构转型的关键期,其政策倾向引发市场震荡。
● 沃什政策组合的矛盾性:
他支持降息以降低政府融资成本(鸽派),同时主张激进缩表以对抗通胀(鹰派)。市场解读为美联储或不会无底线宽松,削弱了黄金因货币贬值预期带来的短期吸引力,导致美元走强、金价回调。
● 对美联储独立性的考验:
沃什与特朗普关系密切,而特朗普公开要求新任主席就利率政策与其协商,加剧市场对美联储政治化的担忧。若货币政策受政治主导,长期可能损害美元信用,反而强化各国央行增持黄金的逻辑。
因此,金价短期回调更可能是技术性调整,而非长期上涨逻辑终结。一旦深层矛盾显现或政策执行引发新风险,避险资金仍可能回流黄金。
三、中国稳定汇率的逻辑
在全球金融市场波动加剧背景下,中国汇率保持相对稳定,背后具备多重支撑因素。
充足的外汇储备提供缓冲:中国拥有超3.3万亿美元外汇储备,连续20年居全球首位,为央行干预汇率、应对资本流动冲击提供充足空间。
黄金储备持续增加提升信用背书:中国央行已连续14个月增持黄金,持有量达7415万盎司(约2305吨)。尽管黄金占比较低,但增持趋势增强了人民币的国际信用,助力汇率稳定。
外汇储备多元化策略:中国长期坚持减持美债、增持黄金,推动储备资产结构优化,降低对单一资产依赖,提升抗外部冲击能力。
政策可信度与市场预期管理:央行通过稳健货币政策和有效沟通引导市场预期,增强政策定力,在外部不确定性上升时稳定市场信心。
四、后市展望
1、美元指数短期走势:在降息预期与避险需求间拉锯
美元指数短期走势受“政策宽松预期”与“避险需求”双重影响。2月2日,美指上涨0.51%,收于97.6129。
技术面呈现均值回归与方向选择前夕:日线级别上,美元指数处于96.84–98.66布林带区间震荡,关键均线走平,MACD动能转正但较弱,RSI(14)徘徊于50中性区域,显示多空均衡。近期需关注96.00心理支撑位,若跌破或打开下行空间。
政策面关注美联储“数据依赖”模式与内部分歧:美联储已开启降息周期,但路径尚不明朗。核心PCE通胀与非农就业数据将成为市场博弈焦点。内部官员分歧加大——如理事米兰主张激进降息,其他成员则偏谨慎,增加政策不确定性,使美元对数据更敏感。
结构性压力持续存在:美国庞大的财政赤字与政府债务可持续性问题仍是压制美元的根本因素。特朗普政府潜在的单边贸易政策(如威胁对欧加征关税)等地缘事件,也可能加剧全球对美元资产可靠性的担忧,推动更多国家推进外汇储备多元化。
2、人民币汇率短期展望:弹性增强,政策护航
2月2日,美元兑离岸人民币下跌0.25%至6.9414,结束三连涨;美元兑在岸人民币微涨0.04%至6.9513。
定价机制:2月3日,美元兑人民币中间价报6.9608,较前一日升值87基点,略弱于彭博预测均值6.9578(偏弱30基点)。
当日市场动态:2月3日,美元兑离岸人民币开盘报6.9430,较前收盘上涨逾百点。
技术点位:
- 近期阻力位:6.93–6.94(当前离岸汇率已测试该区间,若突破或上探6.85)
- 波动区间预期:6.90–6.98,人民币或在此箱体内震荡升值
总体判断:短期内美元指数更可能呈震荡偏弱格局,但地缘风险可能带来阶段性反弹;人民币汇率有望保持稳健偏强态势,但升值过程将呈现双向波动态势。市场应重点关注经济数据与预期差、央行政策信号及跨境资金流动变化,避免简单押注单边行情。

