搜索
首页
大数快讯
大数活动
服务超市
文章专题
出海平台
流量密码
出海蓝图
产业赛道
物流仓储
跨境支付
选品策略
实操手册
报告
跨企查
百科
导航
知识体系
工具箱
更多
找货源
跨境招聘
DeepSeek
首页
>
东方甄选成功注册董宇辉商标,新东方已经离不开董宇辉
>
0
0
东方甄选成功注册董宇辉商标,新东方已经离不开董宇辉
首席电商观察
2023-07-07
255
导读:董宇辉已经成为了东方甄选的灵魂人物!
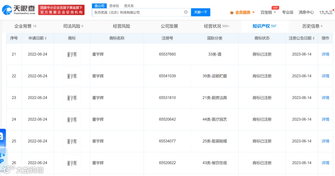
东方甄选注册董宇辉商标
7月6日,根据天眼查APP信息显示,东方优选科技有限公司于2022年6月、7月申请注册多个“董宇辉”文字形象和商标,注册所涉及的分类十分广泛,包括餐饮住宿、医疗园艺、教育娱乐、材料加工、运输贮藏、食品等等。
7月6日,这些商标正式完成了注册,董宇辉与东方甄选之间的关联越来越密切了。
东方甄选为什么要急于注册董宇辉商标呢?
这就与商业行为有关了,一般来说,许多进入商业领域的人,都希望蹭名人、名企业的热度,来为自己提升流量。
比如最典型的
阿里
妈妈、恒天等蹭热度的商标,还有就是近期已经被注册完成的马保国商标。
为此,许多大企业、名人为了防止自己的相似商标被别人注册了,都会选择提前注册好,以防万一。
比如阿里、腾讯、网易、百度、华为、京东这样的巨头们,对于商标的争夺是十分敏感的,很早就对商标领域做了布局。
董宇辉是从2021年至2022年的时间线内突然爆火,一跃成为网红的,作为网红,很难保证没有其他人想利用董宇辉这个商标蹭热度,东方甄选在2022年6月和7月申请注册董宇辉商标,也十分合理。
不过,与其他品牌不一样的是,董宇辉的商标变成了东方甄选所有,并非董宇辉个人所有,这是有潜在性的风险的。
如果董宇辉与东方甄选“分手”了,那么注册的董宇辉商标基本都毫无作用了。
7月5日,就在商标注册完成的前一天,是东方甄选的股东大会,此次股东大会中的一项重要内容就是通过股权激励表决。
东方甄选的股权激励表决,大概率都会涉及到董宇辉,因为他对于整个东方甄选的功劳之大是有目共睹的,可以说是凭借一己之力拯救了一个企业。
董宇辉个人就曾爆出,在他火了之后,就曾拒绝1000万的广告费,更是有大佬想把女儿嫁给董宇辉来挖走他,甚至有企业想花2个亿挖走董宇辉。
这些,都被董宇辉一一拒绝了,董宇辉至今依然留在了东方甄选,为东方甄选的业务付出,可见其难能可贵。
但是,7月5日的股权激励表决结果并未向外公布,这件事情也引发了一众网友对于俞敏洪的不满与声讨。
可以看出,网友们对于东方甄选内部的分红、股权激励十分不满,纷纷为董宇辉打抱不平,毕竟网友、消费者从一开始认可的就不是东方甄选,而是董宇辉。
董宇辉与新东方的纠葛
新东方在2021年遭到了双减政策的无情打击,股价暴跌超过90%,业务基本全部清空,就连俞敏洪本人,也在内部会议上落泪,这是他创业以来遇到的最大挫折。
在教育培训业务整改后,俞敏洪宣布新东方进行转型,转型的方向是直播带货,俞敏洪在直播中称,“新东方有那么多的老师,如果每个老师都能带货,那业务量是很大的”。
于是,新东方便成立了东方甄选,开始将公司的业务重心转移到东方甄选上。
然而,直播带货领域在2021年就已经竞争异常激烈,东方甄选如果没有过硬的本事,很难在这个领域内占据一席之地。东方甄选的直播搞了半年多,依旧是默默无闻,直到董宇辉的出现,才出现了改观。
董宇辉究竟是怎么火的呢?
董宇辉本就是新东方的教师,学历较高,会多种语言,在直播间中,董宇辉才用多种语言直播的方式,一下子就引起了鸡娃家长们的注意。
这些家长们纷纷关注董宇辉,并表示要让自己的孩子钉在这个直播间中,学习外语。果然,董宇辉的个人能力成功栓释了“你的老师到哪里都是你的老师”。
由于董宇辉一天之内爆火,粉丝量也在短短几天内就突破1000万人的大关,并且以凶猛的势头直奔3000万粉丝量而去。
终于,东方甄选打开了困局,在直播带货领域站稳了脚跟,并在董宇辉爆火后,多次登顶抖音带货榜首。
新东方也因为直播带货的爆火,股价暴涨,一改此前的颓势。至此,俞敏洪的二次创业已经宣告成功。
但是,在董宇辉突然爆火的原因上,有一个细节令人深思,那就是东方在线与一家互联网巨头的关系。
腾讯是新东方在线的第二大股东,新东方出事后,新东方在线的股价连续暴跌,腾讯也被深深套住了。想要解套,只有帮助新东方脱困,恰巧腾讯是互联网第一大巨头,最大的优势就是流量。
俞敏洪调整业务后,新东方在线改名为东方甄选,腾讯将流量导给东方甄选,是有可能的。
也就是说,董宇辉的个人因素是其二,俞敏洪的合作伙伴是其二,在多种因素共同助力下,新东方才真正从困局中摆脱出来。
如果,董宇辉成为了东方甄选的头号主播,流量非常大,俨然已经是第二个罗永浩了。
但是,头部主播与平台之间的矛盾,是直播带货领域最常见的矛盾,罗永浩没有逃过,董宇辉也是如此。
从公司的角度来说,如果给董宇辉给的太多,他一下子就实现了财务自由了,从此不再帮公司效力了,那将是一个巨大的损失;但是,如果给董宇辉太少,对于董宇辉显然不公平,就连网友都看不下去,直接开骂。
可见,头部主播与平台之间的利益分配问题,是一个极难解决的问题,一个不小心,就有可能像李子柒与杭州微念一样弄得两败俱伤,得不偿失。
新东方离不开董宇辉
在董宇辉火了之后,东方甄选实际上就已经开始对董宇辉进行一定的限制,培养其他主播了。
毕竟,东方甄选对于董宇辉的依赖度过高,非常不利于未来的发展。
然而,一如罗永浩、李佳琪与背后的公司一样,他们再也没有培养出第二个头部主播,只能依赖着现有的头部主播赚钱,东方甄选也没有培养出董宇辉之外的第二个人气主播。
数据显示,东方甄选排名第二的主播,粉丝量为220万左右,第三名为120万左右,第四名就直降降到了46.5万,与上千万粉丝量的董宇辉相比,差距巨大。
从董宇辉直播中爆出的情况来看,董宇辉已经拒绝了众多的巨额挖人,坚定了留在了东方甄选,给培养出自己的公司效力,可以说是仁至义尽了。
如果东方甄选不能给到董宇辉相应的回报,那么问题大概率在东方甄选一边,董宇辉有足够的理由另谋出路。
以董宇辉当前的个人影响力,即便他选择其他公司开展直播带货业务,大概率不会比在东方甄选差,甚至有可能得到的更多。
相反,东方甄选目前还承受不起失去董宇辉的代价,东方甄选第二梯队的主播们再努力,也难以达到董宇辉的高度。
或许,董宇辉与东方甄选之间的关系并没有网友们想象的那么僵,7月5日的股权激励表决,有可能就是针对董宇辉的一次股权奖励,只不过碍于董宇辉的影响力,奖励过高还是过低较难评价,选择了暂时不公布。
只要东方甄选与董宇辉能够长期合作下去,东方甄选在抖音直播带货中有望长期处于前列,对公司和董宇辉都是有利的。
【声明】内容源于网络
产业分析
0
0
首席电商观察
打造行业影响力,第三只眼看电商,客观、独到、劲爆!
内容
845
粉丝
1
关注
在线咨询
首席电商观察
打造行业影响力,第三只眼看电商,客观、独到、劲爆!
总阅读
293.3k
粉丝
1
内容
845
在线咨询
关注