最新美国外观设计专利速递
2024年7月30日授权一批实用家居新品专利信息汇总
铅笔袋 Pencil pouch
美国专利号:USD1036846S1
申请时间:2023.05.06
授权时间:2024.07.30
持有人:GUANGZHOU AIDEMENGKE INFORMATION TECHNOLOGY CO LTD
专利图
实物图
宠物背包 Pet carrier backpack
美国专利号:USD1036848S1
申请时间:2022.09.20
授权时间:2024.07.30
持有人:LIANG NAIMAO
专利图
实物图
家用储物篮 Household storage basket
美国专利号:USD1036859S1
申请时间:2022.07.29
授权时间:2024.07.30
持有人:CA SA PRODUCT GMBH
专利图
实物图
一组堆垛箱 Set of stacking bins
美国专利号:USD1036862S1
申请时间:2022.05.18
授权时间:2024.07.30
持有人:SEVILLE CLASSICS INC
专利图
实物图
后刷手柄 Handle for back brush
美国专利号:USD1036865S1
申请时间:2022.12.01
授权时间:2024.07.30
持有人:SHENZHEN AIGEER TECHNOLOGY CO
专利图
实物图
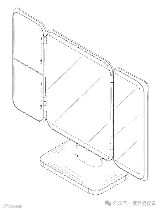
三折镜 Three-fold mirror
美国专利号:USD1036872S1
申请时间:2022.07.25
授权时间:2024.07.30
持有人:SHENZHEN EASEHOLD TECHNOLOGY CO LTD
专利图
实物图
纸巾架 Paper towel holder
美国专利号:USD1036884S1
申请时间:2023.06.28
授权时间:2024.07.30
持有人:WENZHOU FURUISI BUILDING MATERIALS CO LTD
专利图
实物图
纸巾架 Toilet paper holder
美国专利号:USD1036885S1
申请时间:2024.05.15
授权时间:2024.07.30
持有人:LIU ZHANFENG
专利图
实物图
纸巾架 Toilet paper holder
美国专利号:USD1036886S1
申请时间:2024.05.15
授权时间:2024.07.30
持有人:LIU ZHANFENG
专利图
实物图
牙刷收纳 Toothbrush holder
美国专利号:USD1036888S1
申请时间:2022.07.21
授权时间:2024.07.30
持有人:HANSGROHE SE
专利图
实物图
储物架 Storage shelf
美国专利号:USD1036891S1
申请时间:2024.04.18
授权时间:2024.07.30
持有人:JIANGSU RONGTAI GLASS PRODUCTS CO LTD
专利图
实物图
楔形枕头套装 Wedge pillow set
美国专利号:USD1036894S1
申请时间:2023.04.20
授权时间:2024.07.30
持有人:CHENG LONG
专利图
实物图
橱柜存放架 Cabinet storage rack
美国专利号:USD1036908S1
申请时间:2024.04.07
授权时间:2024.07.30
持有人:SHANGHAI BAINIAN ZHONGHUANG ELECTRONIC TECHNOLOGY CO LTD
专利图
实物图
钢架 Steel rack
美国专利号:USD1036933S1
申请时间:2024.03.12
授权时间:2024.07.30
持有人:LENGUA FAILLACE MARIA SOFIA
专利图
相似实物
野餐篮冷却器 Picnic basket cooler
美国专利号:USD1036942S1
申请时间:2021.06.09
授权时间:2024.07.30
持有人:IGLOO PRODUCTS CORP
专利图
实物图
葡萄切割器 Grape cutter
美国专利号:USD1036949S1
申请时间:2023.12.11
授权时间:2024.07.30
持有人:LIN ZHEN
专利图
实物图
切割工具 Cutting tool
美国专利号:USD1036960S1
申请时间:2021.08.03
授权时间:2024.07.30
持有人:FISKARS FINLAND OY AB
专利图
相似实物

