搜索
首页
大数快讯
大数活动
服务超市
文章专题
出海平台
流量密码
出海蓝图
产业赛道
物流仓储
跨境支付
选品策略
实操手册
报告
跨企查
百科
导航
知识体系
工具箱
更多
找货源
跨境招聘
DeepSeek
首页
>
继丁真找到工作后,他的小马珍珠也有了着落!
>
0
0
继丁真找到工作后,他的小马珍珠也有了着落!
掘金文化之窗
2020-12-23
2
导读:你想要的,都在这里~~
11
月
27
号,我们发布了一篇关于丁真就职的文章。
链接:
丁真的职场
理塘因为丁真的加入,搜索量和话题度全面打开了,成为了全国人民最想要旅游的地方之一。随后,四川省
甘孜
理塘县文旅体投资发展有限公司
全权代理了丁真的著作权、肖像权,唯独缺少了
商标
的注册,结果引来个人和企业对丁真商标的抢注。
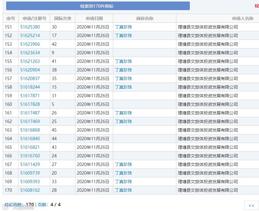
眼见围绕着丁真而火的理塘、小马珍珠等词汇被人抢注。甘孜理塘终于坐不住了,对围绕着丁真和理塘的这些词汇进行了商标注册,
继丁真找到了工作以后,丁真的小马——珍珠也有了自己的商标。
#多类别注册
商标注册不可儿戏,特别是希望做大做强的企业,如果仅仅在几个类别里注册了商标,有被抢注的风险,当企业想延伸到其他领域时,会处处受限,只能通过商标授权、转让、许可的方式开展业务,这期间,将会花费大量的现金成本。与注册商标的费用相比,这部分钱将是天文数字。在这一方面,
理塘虽然迟了一步,但是还不算太晚,不仅将围绕着丁真的所有词汇注册了个遍,还多类别注册。
这样不仅保护了自己的品牌不被染指,也为未来跨行业发展奠定了基础。
#利于传播
小马珍珠因为丁真事件一炮而红,让更多消费者将小马珍珠和藏族文化、草原等画面联系在一起,也会为理塘推广旅游贡献一部分流量。
小马珍珠夺冠是丁真一辈子的梦想,当商标和梦想、目标、坚持、永恒等美好的词汇联系在一起,很容易引起大众的共鸣,无形中增加了该名称的显著性
;因为珍珠是动物的名字,与珠宝等商品进行了很好的区分,在其他类别上很容易注册,加之小马前缀,想要遇见相同或相似的商标难度很大,无形中也加大了注册成功率;最后,这款商标是有真实用途的,相信很快,驴友们就能在现实中听见小马珍珠的故事了。
#实际应用
相较于传统旅游胜地,近几年,中国西部的一些城市渐渐地成为了游客们的首选,因为地理位置从未被过度曝光开垦、景色宜人等特点,厌烦了城市里千篇一律的人工景点,游客们纷纷选择了像理塘这样的地方。
当一个有趣的故事和一种从未体验过的生活相结合,注定了理塘的成功。
理塘因为丁真事件热度从11月20日起大涨,到11月最后一周,“理塘”搜索量猛增620%,比国庆翻4倍。除四川本省旅客外,广东、山东、云南、江苏、北京、重庆、湖南、河南旅客热搜理塘,理塘或成元旦旅行黑马目的地。
如果你在理塘的某个旅游景点听到了丁真和小马的故事,请不要质疑,那是景区选择性让你听到的。为了加深你对理塘的印象,为了增加你此次旅游的厚度,让你觉得此次出行是有价值的,景区已经把你想要的全部准备好了。就像你去故宫,解说员会为你讲述皇帝和妃子的故事;你去博物馆,讲解员会为你讲解该地区的历史与变迁;你去了特色古城,导游会为你讲解各具特色的民族文化和习俗。
丁真的小马珍珠也是一样,它不仅仅是一匹小马,还是一方特色、一段传奇和一个可以说上很多很多遍的冠军故事,最最迷人的当属“小马珍珠”的商标属性,让故事为理塘所有。
点击
阅读原文
一键注册商标
【声明】内容源于网络
0
0
掘金文化之窗
掘金集团始创于2004年,总部设立在北京。深耕企服现拥有1000余人的专业服务团队,服务企业30余万家。旗下品牌有:悟空财税服务有限公司、掘金企服(北京)科技有限公司、北京北知掘金知识产权代理有限公司等,均已成为各领域内的领军品牌。
内容
351
粉丝
0
关注
在线咨询
掘金文化之窗
掘金集团始创于2004年,总部设立在北京。深耕企服现拥有1000余人的专业服务团队,服务企业30余万家。旗下品牌有:悟空财税服务有限公司、掘金企服(北京)科技有限公司、北京北知掘金知识产权代理有限公司等,均已成为各领域内的领军品牌。
总阅读
343
粉丝
0
内容
351
在线咨询
关注