


招股书显示,周六福的主营业务是首饰的研发设计、生产加工、连锁销售以及品牌运营,主营产品涵盖为镶嵌首饰和素金首饰,品类包括戒指、项链、吊坠、手链等。

商标状况如何?
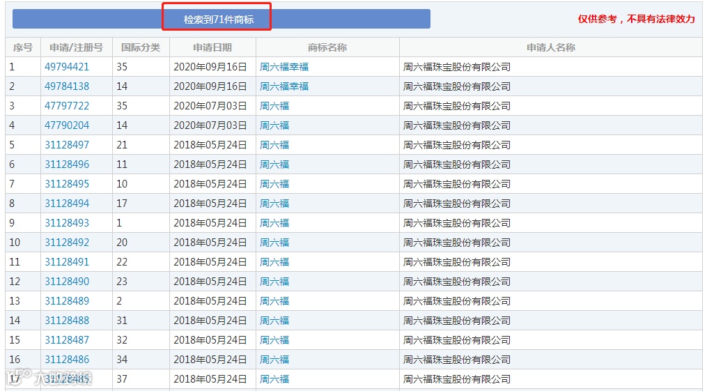
身处知识产权行业,小编自然关心冲刺IPO的周六福的商标状况。中国商标网查询结果显示,周六福作为申请人共申请了71件关于“周六福”的商标。

而在中国商标网中共能查询到299件“周六福”商标,其中最早的一件“周六福”商标为周六福的创始人李伟柱于2003年09月28日提交申请注册的第3736612号“周六福”商标,目前,该商标已失效。



绿智商标专利查询申请


招股书显示,周六福的主营业务是首饰的研发设计、生产加工、连锁销售以及品牌运营,主营产品涵盖为镶嵌首饰和素金首饰,品类包括戒指、项链、吊坠、手链等。

商标状况如何?
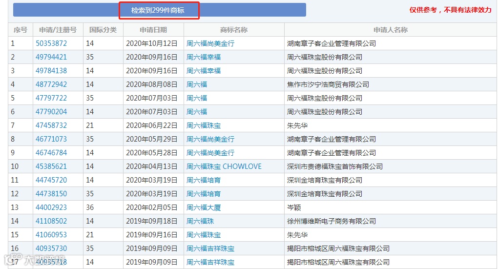
身处知识产权行业,小编自然关心冲刺IPO的周六福的商标状况。中国商标网查询结果显示,周六福作为申请人共申请了71件关于“周六福”的商标。

而在中国商标网中共能查询到299件“周六福”商标,其中最早的一件“周六福”商标为周六福的创始人李伟柱于2003年09月28日提交申请注册的第3736612号“周六福”商标,目前,该商标已失效。


