报关行专业的报关知识关系到每一份单的报关质量,关系到企业能否正常办理出口放行、退税手续。所以专业知识的掌握是相当重要的。


2018年9月1日,恰逢金永物流成立五周年的喜庆日子,盐田报关部,蛇口报关部的全体同事,齐聚一堂。在开始前金永报关行何总首先发表了一段讲话,总结了金永五年来的发展靠的是什么的问题。



的确,报关这个事说起来简单,其实做起来也挺复杂的。最主要的是不能出错,一旦出错,小则耽误船期,大则无法退税。


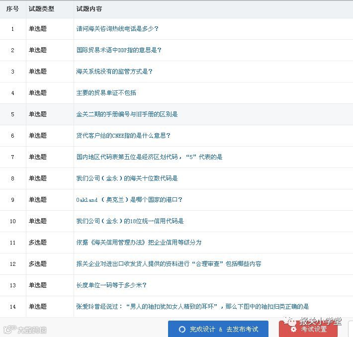
运用新技术的手机微信考试方法,快速,准确获知成绩。

如果是你答题,能考100分吗?


最终,前三名胜出。

各获得2-500元现金奖励。

二十分钟赚到500块
考得不好的同事表示将继续加强学习,争取在下一届竞赛取得好成绩!

在一片欢笑声中结束了活动……
对于一家企业来说,选择一个好的、专业的报关行是非常重要的,好的报关行不仅能提供一般的通关业务,更重要的是帮你节省关务开支,避免不必要的损失。因此一定要慎重选择。尤其是在报关出了问题后,太小的报关行由于人手有限,无法及时跟进,导致事件的处理被人为延长。

