哪吒公司,18天申请1800+商标;
很多人担心会不会被视为大量囤积商标或非正常申请...

而按照9月3日下午,中国知识产权年会上,
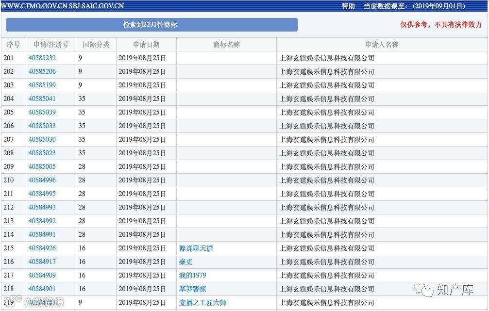
"起点中文网"申请1500多件商标(目前已经2200多件)
但官方审查协作中心认定其“不是非正常申请”~
或许可以作为哪吒系列商标的参考
在今天下午的年会上作了《非正常商标申请规制的立法与实践》的专题分享:

案例提及的第31609373号“开天录”商标,目前已经核准注册:

经网络搜索,“开天录”为在“起点中文网”连载的网络小说,该申请人为“起点中文网”的经营者上海玄霆娱乐信息科技有限公司。
在审查该批次商标时,审查人员“未发现有大量转让商标的行为”。

而且:“经查,申请人此前申请的商标多为网络小说的书名或与“起点中文网”有关。”
举证证明有使用意图,比如作品名称:

而“起点中文网“最新的商标申请发生在一周之内,上周三至上周五,也就是8月25止8月27日三天,三天时间,起点中文网申请了219件商标:


为此,审查该系列商标的上海商标审查协作中心,专门开会讨论,区分正常申请与非正常申请:
【经讨论,考虑到该申请人为“起点中文网”的经营者,申请的商标多为网络小说书名或与“起点中文网“有关,如无在先权利障碍,可予以初步审定】
因此,起点中文网的商标不是不会驳回,只是不会以“大量非正常申请”的理由驳回,如果有在先权利障碍或违反商标注册的禁止性条款,仍然会被驳回。
因此,起点中文网理论上不用对担心违反最高法院(2017)最高法行申4191号裁定书中描述的:
“前述商标注册行为,并非基于生产经营活动的需要,而是无正当理由大量囤积商标,谋取不正当利益,违法了商标法第四条的规定。”
所以,同样是大量申请商标,没有大量转让商标的情形,都是申请人拟自用的商标(有初步证据佐证,如使用意图等),理论上就不会以“非正常申请”的理由驳回。
4-5个月后就可以检验“哪吒”系列商标,
是否涉及大量囤积或“非正常申请”,
持续围观中🍵
来源:知产库 知产库编辑


