(本文素材源于专利US12032373)该发明涉及一种自主水下航行器(AUV)。该AUV包括一个框架和隧道推进器,用于推进和定向AUV。隧道推进器设有进水口和出水口,每个出水口的方向不同,并安装在框架上。AUV还包括用于将框架连接到船体的紧固件,这些紧固件的方向基本上与隧道推进器平行。该船体基本上呈球形,并进一步包括以下部分:(1) 带有进水口的底板,(2) 带有出水口的顶板,顶板和底板固定在紧固件上,保持船体的板环稳定,(3) 每个板环还包括相应的固定环和相应的中心板。翻译而来供参考,亦可加入知识星球阅读英文原版、中文译本。

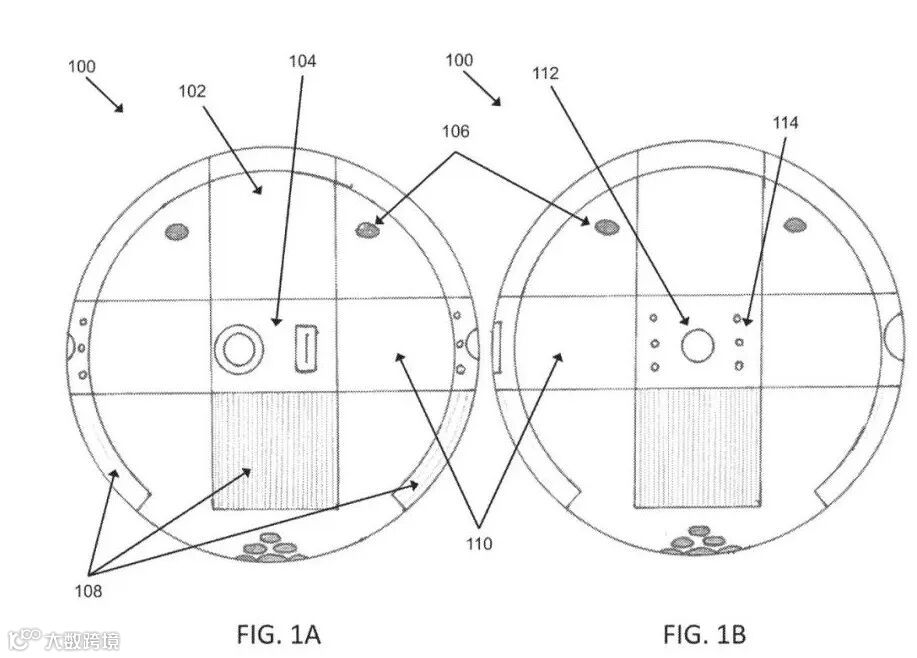
图1A和1B展示了一个用于AUV 100的传感器配置示例。传感器与AUV 100的外壳齐平安装在可移动的套筒内,以保持外部表面的光滑度。在此示例中,传感器阵列包括两个用于视觉环境记录的高清(HD)摄像机112,并配有用于照明的LED灯114,以及两个LIDAR扫描传感器104。LED灯114应当定向,以确保光束不会在摄像机112镜头附近相交,防止发生“过曝”(bloom-out)现象,避免镜头附近的颗粒物被过度照亮。隧道推进器的出口106为内部的四核推进系统提供空间。

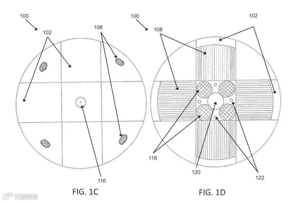
三个套筒,包括两个纵向弧形套筒(极地套筒102)和一个赤道环套筒(赤道套筒110),允许四个传感器扇区旋转。极地套筒102在垂直平面内绕几何中心旋转,而赤道套筒110在水平平面内围绕几何中心沿着套筒轨道108旋转,最多可达180度。图1C展示了套筒配置的俯视图,图1D展示了套筒配置的底视图。

传感器套筒102、110通过小型电动机(未显示)在轨道108上旋转,以在扫描过程中定位传感器。如图1E和1F所示,套筒的运动范围(FOM 124、126)受到限制,以防止与隧道推进器和浮力补偿器的管道和端口106发生干扰。传感器套筒102、110根据需要锁定或解锁安装传感器的板块,以便在需要时将传感器从赤道套筒110传递到极地套筒102,或反之亦然。由于传感器的视野较大(典型LIDAR的视角为50度),几乎可以实现对环境的全面扫描。未覆盖的区域是沿着车辆100的顶部和底部的两个锥形区域,这些区域将在车辆100从悬停位置向任何水平方向移动时被覆盖。使用旋转套筒102、110的一个主要好处是减少了为了传感器覆盖所需的机动操作,进而减少了对沉积物的扰动。
在其他实施方案中,传感器套筒102、110可以是不可移动的。在这些实施方案中,可能需要额外的传感器以实现对车辆100周围的充分传感器覆盖。例如,图4A-4F描述了一个不可移动的船体。

图1G和1H展示了车辆100的内部组件。内部,车辆100的模块化组件对称布置,以确保重量分布保持重心稍微低于几何中心,并确保离轴重量分布均匀。
位于几何中心下方的设备架136固定在包含推进器142、浮力补偿活塞134和信标128的垂直管道上,信标通过信标管弹簧130释放。设备架136是电池存储146、计算机空间138和驱动浮力补偿器(BC)活塞134的电动机148的连接点。请注意,设备架136与包括高清摄像机144在内的传感器阵列之间的间隙是为了允许套筒的自由运动(FOM)。推进器142、浮力补偿器140和信标筒128的功能在图1G和1H中进一步讨论。

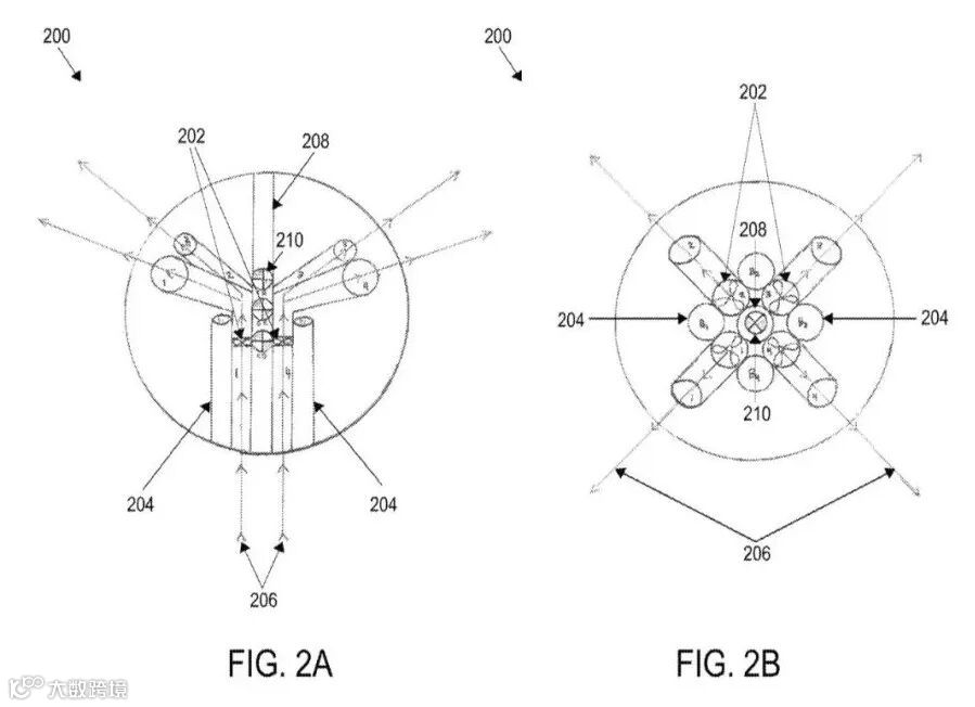
图2A和2B展示了示例AUV 200中隧道推进器的水流路径。AUV 200使用四个倾斜的隧道推进器202来提供推进力。隧道推进器202对称地分布在中央载荷管208周围,中央载荷管内装有可部署的网络信标210。内部的推进器配置202最大限度地减少了推进器被碎片缠绕的风险。向上的螺旋桨喷流206减少了沉积物的扬起(silt-out)现象。由于沉积物大多聚集在水下结构的底部,将喷流206朝上定向可以避免大部分沉积物受到扰动。这种技术类似于技术潜水员的蛙泳踢水动作。
当潜水员执行蛙泳踢水时,膝盖弯曲,脚蹼沿着小而相对的圆周旋转。水平推力组件缓慢推动潜水员向前移动,而相应的脚蹼水流则向上并远离潜水员身后的底部沉积物。AUV 200的隧道推进器202通过四个下方的进水口抽水,进水口设有防护网,以防止吸入会堵塞螺旋桨的碎屑,如线或电线,并可以通过瞬时反转推力方向来清除碎屑。如果需要,水通过车辆内部结构的流动路径206如图2A和2B所示。
请注意图中的四个隧道推进器202和浮力室204。在静止悬停时,四个推进器202会根据需要产生相等的推力,以抵消车辆200的浮力,同时不产生净水平推力。车辆200的浮力通过改变浮力室204内的四个密封活塞的体积来控制。为了增加浮力室204的浮力,压缩空气缸的活塞向下扩展,将水从隧道中排出,并用扩展的空气代替。相应的体积增加产生浮力。同样,活塞缩回并压缩空气以减少浮力。活塞可以集体或单独操作,根据需要补偿推力。车辆的重心位于几何中心下方,而浮心位于几何中心上方,以保持自我复位的姿态。


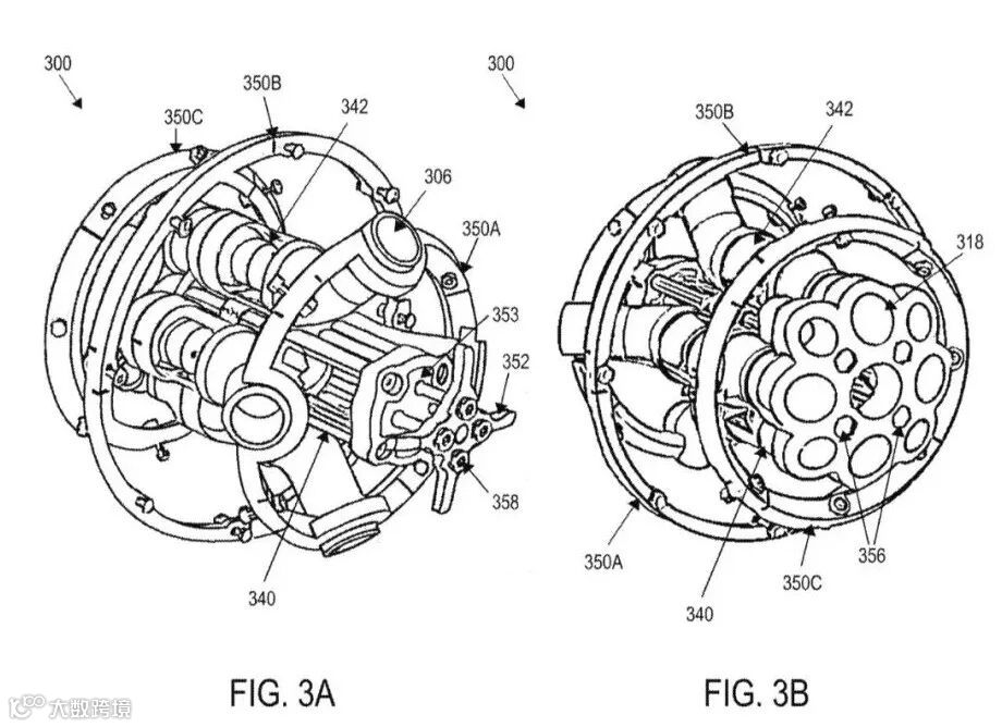
图3A-3C展示了一个示例AUV 300的内部结构。图3A和3B分别显示了该示例AUV 300的顶部和底部透视图,图3C展示了AUV 300的俯视图。该AUV 300采用了内部隧道推进器342的设计。图3A展示了内部推进器342的隧道推进器出口306,图3B展示了内部推进器342的隧道推进器入口318。紧邻内部推进器342的是AUV 300的压载舱340。
AUV 300配备了一个可拆卸的携带机制352,四个螺栓358将可移动的携带手柄352固定在顶部盖353上,将力传递至四个板保留螺栓356。AUV 300包括用于安装船体板的保留环350A-C(船体板未显示),保留环350A-C和隧道推进器342之间存在内部空间,该空间可以配置各种设备(例如,控制器、摄像头、激光雷达传感器、发光二极管、电池、浮力泡沫、压载物等)。
在这个示例中,隧道推进器342可以包括四个电动机(例如,BlueRobotics M100、BlueRobotics M200等),由控制器(如Raspberry Pi计算机)控制,电机安装在亚克力电机管内。推进器的螺旋桨可以设计为适配推进器管道,并使用3D打印技术(如Ultimaker打印机)打印,采用实心填充,0.1毫米层高的白色PLA材料。该螺旋桨设计与标准设计不同,它具有更纤细的鼻锥和更激进的叶片攻角。此外,叶片靠近鼻锥末端连接。
隧道推进器342的管道可以通过PLA导管扩展,以保持电机周围恒定的横截面流体流动区域。在这个示例中,所有连接和控制电机的电路板都使用海洋环氧树脂防水处理。为了避免打印多余的管道结构,商业管道可以进行改装以适应隧道推进器342的设计。
例如,标准的商业PVC管可以用切割锯切割成适当的长度,然后进行打磨、喷漆和用聚氨酯涂漆。使用易于获取的现成消费品管道(COTS)代替3D打印推进器342的核心结构是有益的。在这个示例中,电机支架可以在Ultimaker机器上使用20%填充和0.1毫米层高的白色PLA打印。背部的四个偏置螺孔对应电机的安装螺丝。支架侧面的一个小槽允许信号线穿过推进器管壁。
推进器出口管道可以使用海洋环氧树脂粘附到四个上部推进器管道上,在小心准备表面并将部件夹紧后完成粘接。为了将COTS管道与打印的外壳连接,支架被集成到3D打印模型中以增加结构支撑。
电机可以通过焊接硅涂层的铝导线连接到电子速度控制器(ESC)。电机和ESC之间可以安装插片连接,以便于电机的断开和更换。PLA电机支架和亚克力推进器管可以刻槽,以允许这些控制线通过,同时允许亚克力管与PLA电机支架齐平安装。计算机可以通过脉冲宽度调制(PWM)控制运行电机,电机可以以不同速度和方向旋转。所有电气组件可以用海洋环氧树脂进行防水处理。




图4A展示了AUV 400的一个球形镶板船体。在操作过程中,携带手柄(在图4A中未显示)被移除,形成一个光滑的球体。在该实施例中,展示的船体没有在每个板块(453、454A-C、455)中集成摄像头。在其他实施例中,AUV 400的设计可以在每个板块上(453、454A-C、455)内置支持安装摄像头的结构,使得摄像头镜头与船体外部齐平。在某些情况下,所有部件都是3D打印的,并通过不锈钢紧固件通过紧固孔进行连接。
船体板块包括一个大的八边形顶板453和底板455,提供了通往四个中央板固定螺栓的入口460、468。顶板453还允许连接可拆卸的携带手柄。十字形的携带手柄452可以稍微下沉以暴露内凹的六角螺栓头462,方便拆卸。图4F展示了底板455,它是一个与顶板尺寸相同的八边形,但带有四个大型孔466用于隧道推进器进气口,以及四个六角形孔468用于防止在上部板固定螺栓拧紧或松开过程中旋转下部固定螺栓。底板上还包含五个端口(四个小的压载端口470和一个大的中央载荷端口472)。三个中央板环454A-C(包括上板环454A、赤道环454B和下板环454C)由四个小方形和四个六角形组成,中央环454B的八边形比上部和下部环的六角形更大。
该球形船体的所有五层板(453、454A-C、455)通过四根板固定杆连接,同时支持内部的四核推进系统(未显示)。如图4B-4E所示,中央板454A-C通过三个分段的板固定环450A-C连接。图3A-3C展示了在没有板块安装的情况下,固定环450A-C的方向。每个板454A-C通过一根不锈钢螺栓和螺母与相应的固定环450A-C连接。下板455还包含隧道推进器管道的集成袖口。四个隧道推进器管通过重叠的标签以分层方式从下到上滑动在杆上连接。
三个板固定环450A-C将各个板454A-C连接在一起。每个板454A-C通过一个不锈钢螺栓与其固定环450A-C连接,螺栓穿过每个板454A-C内表面的PLA螺栓环,并与板环450A-C上的相应孔连接。这种连接模式如图4C、4D、4E所示。
为了增加推进核心的强度,四个固定螺栓穿过所有八个打印推进器管道的偏移和互锁环。这种改动如图3A-3C所述,将推进核心连接和支撑。
在此示例中,螺栓从车辆400的底部向上插入,穿过底板455。螺栓的六角形头嵌入底板455,以保持外表面齐平,并防止在拧紧过程中旋转。这些杆延伸穿过连接每个下部和上部推进器管道的环,然后与连接螺母连接。四核推进系统的每一层组件依次叠放,由四根固定杆引导。底板455上方的第一层454C包括四个PVC推进器进气口和四个较小的压载管。接下来,将下部推进器管道放置在推进器出口上,推进器安装在其PLA电机支架上,位于亚克力推进器管内,并放置在下部管道上。每个电机支架有三个鳍片,支撑电机在袖口中的中部位置。这些鳍片减少了出口处螺旋桨水流的旋转效应。上部管道位于推进器上方,并通过连接螺母固定,确保整个推进四核系统与底板455紧密连接。
顶板453有四个孔460,允许较短的不锈钢机器螺丝穿过并与连接螺母连接。这些螺丝有圆形的内六角头,以允许旋转和拧紧。然后,分别位于上板453和底板455之间的三个板固定环450A-C被夹紧。在此示例中,固定上板453的四个螺栓456可以拆除,每层板可以依次拆下,以便接近车辆400的内部组件。为了便于车辆400的搬运,可以将可拆卸的携带手柄452集成到顶板453中。手柄452的设计使其可以附着在车辆400的顶部,而不会给顶板453的PLA材料施加过大的压力。为此,手柄452的提升力通过推进核心的固定螺栓传递,从而避免对板固定环450A-C的负荷。在该示例中,设计还集成了一个十字形手柄452,用黄色PLA打印,四个不锈钢螺栓462穿过顶板453。
这些螺栓462连接到嵌入相应黄色PLA支架的螺母中,支架与顶板453内侧齐平安装。这些螺母可以用海洋环氧树脂固定在孔内,支架紧贴与顶板453一体的上部支架的墙壁。手柄452的螺栓462经过修改,可以使手柄452下沉约一英寸,便于手动拧紧螺栓的六角帽。为此,可以使用细拉链将螺栓462固定在位置,并用海洋环氧树脂固定手柄452,使其下滑并停留在这个位置,暴露出圆形螺栓头。当手柄452被提升时,螺栓头嵌入相应的十字形手柄中的圆孔内。
球形镶板设计具有以下几个优点。首先,它使打印速度更快,因为可以同时使用多个打印机。由于所需的打印托盘面积较小,也可以使用更便宜的打印机。对于在受限环境(如船上)制造零件来说,这尤其有利。打印失败或操作损坏船体的风险也减少了。最后,模块化的板配置设计非常适合传感器的安装和访问。如果安装了足够数量的摄像头,可以实现近乎完整(47个立体弧度)的视觉覆盖,从而满足最小化旋转运动的需求。在此示例中,中央垂直载荷管可以容纳用于导航的可部署信标。船体内部其他地方有足够的空间用于额外的压载、浮力泡沫或任务特定的硬件。
多个板块(453、454A-C、455)和保留环段(450A-C)可以平放打印(板块外表面朝上),并使用支撑,除非保留环段与板块一体打印。这样打印出的板块(453、454A-C、455)的质量高于整体半球打印的相应部分,尤其是中间附近的区域,因为侧壁层是水平排列的,不会像半球打印时那样在侧壁上产生贯穿裂缝。在一个示例中,船体由26个板块(453、454A-C、455)组成,使用黑色的聚乳酸(PLA)塑料长丝打印,包括8个小六边形、12个小方形和6个大八边形(包括顶部板453和底部板455),如图4A所示。
在足够的深度下,当使用填充打印时,板块(453、454A-C、455)可能会发生内爆。一些轻微的船体板块(453、454A-C、455)错位问题可以通过使用不易变形的材料(如聚碳酸酯、碳纤维或金属)进行实心打印来缓解。此外,个别板块454A-C除了用不锈钢紧固件固定外,还可以使用海洋树脂轻微粘合到保留环450A-C上,以帮助对齐并保持外部光滑,同时在需要时仍能较容易地移除板块。
下部板环454C和上部板环454A由四个六边形和四个方形组成。上部板环454A的方形板块带有推进器出口的孔408。赤道环454B由四个大八边形和四个方形组成。每个板保留环450A-C分为四个部分并打印,例如,使用黄色PLA。在这个示例中,所有中间板块454A-C(除了上部环454A上的四个方形板块,这些板块被胶固定在位)都用1/4英寸的不锈钢螺栓固定在保留环450A-C上。
如图4F所示,底板455包括四个推进器管进气口466、一个中央载荷管端口472和四个较小的压载端口470。
声明:本文素材来源 https://patentimages.storage.googleapis.com/e9/b5/65/e1bb6a1dc4dab4/US12032373.pdf 致敬原作者。侵权可后台联系删除。
文章转载自公众号:AI工业
声明:本公众号相关内容均来自主流媒体及公众号,非商业用途,并不意味着赞同其观点或证实其内容的真实性。版权归原作者所有,如有发现侵犯您的权益,请后台联系编辑,我们会尽快删除相关侵权内容。

