
经常有EHS人在交流群里提问:
这个有什么法规标准依据吗?
这个出自什么法规标准?
怎么找到某一条法规标准?
怎么找到与自身行业相关的法规?
这么多法规标准,我应该怎么管理才好?
在收集法规标准以及管理清单方面,相信很多人遇到有这些困难。譬如,好不容易找到一条法规,认认真真看完以后才发现,这个法规竟然已经过期了!看了某局修改N个版本的规章,发现修改后的实施日期早已经过了,而最新版本的相关规定还没发布!更令人烦恼的是,和自己工作密切相关的法规标准已经发布了,而自己却一无所知......
还不如,把专业的事情交给专业的人
法规收集这个事情,说复杂很复杂,说简单其实也可以很简单。繁复多样的法规随时在更新,收集起来工作量大,费时费力而且还会漏项。但这些“麻烦事”都可以交给绿咨力专业的合规性评价系统——Dr.C合规博士。
—— Dr.C 合规博士 九大法宝——
疫情当前,复工在即,领导说让你找找疫情防控相关法规标准,这时候
你查法规,找标准是这样子的:
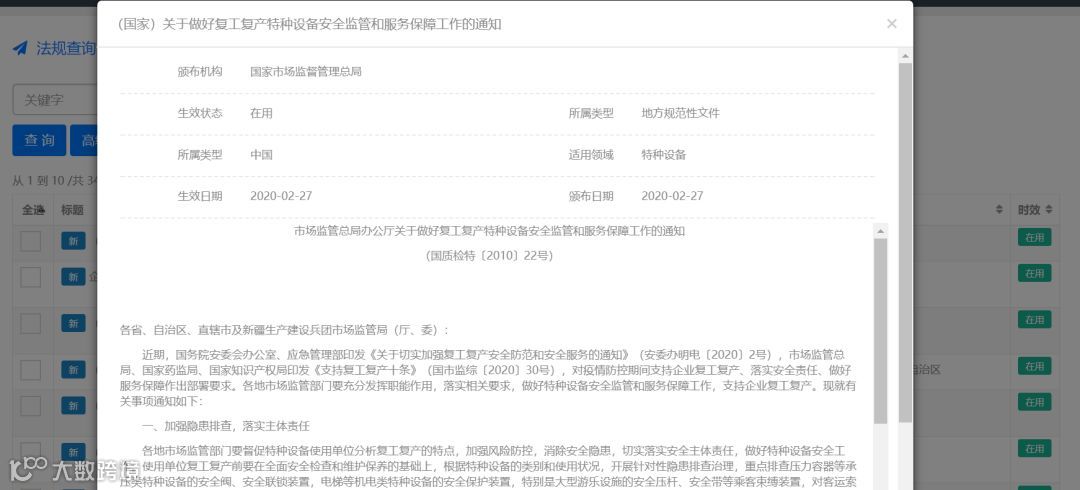
一键输入,全数据库都是你的天下。
适用领域,适用地区、颁发日期、生效时间、颁发机构等等一目了然。
还可以做标记分类,加到自己的清单中。
你给法规条款、标准条款做评价是这样的:
近期,Dr.C 合规博士再次升级,新增一些超实用的功能。
新增 清单的自定义分类
可以根据你的需要和习惯,对建法规/标准清单的内容进行自定义分类,勾选当前法规就可以给他们“分家”了。
新增 法规/标准分类管理
管理员可以给设立法规/标准清单的自定义分类内容了!!!
新增 超级管理员账号
传说中大 boss,管理公司多个部门多个岗位,最适合集团跨层级管控了~
新增 报告报表功能
一键导出,简单的操作,强大的功能。
你说,马上统计各类清单数量
Dr.C合规博士系统:安排!
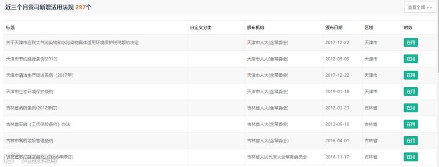
你说,看看近三个月自建法规清单内的新增法规。
Dr.C合规博士系统:安排!
你说,分析一下合规评价情况。
Dr.C合规博士系统:安排!
你说:马上要这份合规评价报告!
Dr.C合规博士系统:安排!
除了这些,通过Dr.C 合规博士,可以定制合规日历,让每一天忙碌的工作都能高效输出~
随时订阅月度合规E刊,轻松获取月度法规标准清单上、行业资讯等等。
【重要预告】Dr.C合规博士英文版本菜单即将上线,英文法规模块也要面市了,适合跨国企业,敬请关注~
—— 部分服务客户 ——
想认识 Dr.C 合规博士吗?
联系我们 021-62387533 / 13710591995
可享三日法规服务免费体验,
让你的法规收集、合规性评价工作更轻松~
END
csrcare| 合规网
往期精选

