磁翻板液位计是一种现场实时指示型液位计,在各行各业的液位测量中都有广泛地应用。那么,磁翻板液位计的工作原理、产品结构和特点是怎样的呢?本文就此介绍如下,希望大家对磁翻板液位计有更为深入地了解和认识。
一、磁翻板液位计的原理
磁翻板液位计主要基于连通器和磁性耦合原理实现对液位的实时测量和显示。浮筒内的磁性浮子随容器中被测液位的升降而升降,浮子内的永久磁钢通过磁性耦合驱动浮筒外部的磁性翻片翻转180°。翻片两面分别涂有不同颜色(通常为红色和白色),以指示液位的位置,一般地,当容器内液位上升时,翻片由白色转变为红色,当容器内液位下降时,翻片由红色转变为白色,指示器的红白交界处为容器内液位的实际高度。
磁翻板液位计与超声波液位计最大的区别就是接触式测量和非接触式测量。
磁翻板液位计的优势是结构简单、具有高密封,防泄漏等特点,适用于高温、高压、耐腐蚀的场合,显示直观、醒目,测量范围比较广;而超声波流量计的优势是流量测量准确度几乎不受被测流体温度、压力、粘度、密度等参数的影响,又可制成非接触式测量仪表,可解决其它类型仪表所难以测量的强腐蚀性、非导电性、放射性及易燃易爆介质的流量测量问题。
磁翻板液位计作为接触式测量仪表,需要考虑的与介质接触的防腐性材质问题,而超声波流量计则不需要考虑。虽然超声波液位计也可以测量腐蚀性介质,但是一旦出现挥发性介质,就另当别论了。当介质内出现真空啊、蒸汽含量过高、以及液面泡沫等情况时是不能选用超声波液位计的,而磁翻板液位计对这一系列工况毫无影响。超声波液位计虽然测量先进度方面比磁翻板液位计先进,但是安装方面比较复杂,测量介质限制条件比较多,一般情况下啊,测量液位都选择磁翻板液位计,只有当磁翻板液位计不适用的时候,才考虑超声波液位计或者雷达液位计。

磁翻板液位计的工作原理图
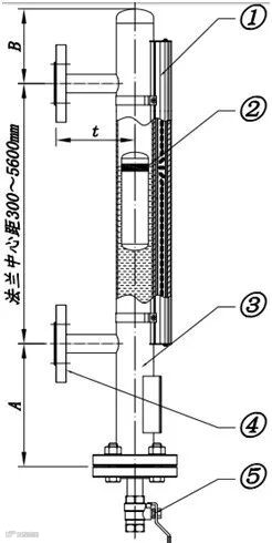
二、磁翻板液位计的结构
磁翻板液位计的结构由浮筒(主导管)、磁浮子、磁翻板(磁翻柱)、指示器、排污阀、连接法兰等组成。如下图所示:


磁翻板液位计结构图
①指示器;②磁浮子;③浮筒;④连接法兰;⑤排污阀
三、磁翻板液位计的特点
磁翻板液位计简便易用,具有以下突出特点和优点:
1、以浮子为感测元件,利用磁钢驱动翻片指示,因此无需能源辅助;
2、通过高密封、防泄漏等技术措施,磁翻板液位即使在低温、高温、高压、强腐蚀等各种恶劣的环境下,也能安全可靠工作;
3、因为磁翻板液位计的兼容性高,所以一直以来在工业生产中都得到了广泛的应用,是槽、罐等容器液位测量中的理想之选。
但由于现场工况复杂,在实际测量中,要求有不同型号的磁翻板液位计与之相适应。目前,磁翻板液位计按不同的标准可以分为不同的类型,如标准型、经济型、塑料型、内衬型、防爆型、保温型等等。上述不同类型的磁翻板液位计也具有各自不同的特点:
(1)塑料型磁翻板液位计
是常用的防腐型液位计,在相同的量程下,重量约只有标准型磁翻板液位计的1/5,特别方便现场的安装。计为Flap-11C塑料型磁翻板液位计适用于电厂化学水处理、污水处理、印染行业,以及对PVC/PP不相溶的其他酸性介质的测量。
(2)计为Flap-11S经济型磁翻板液位计
采用304不锈钢材质,适用于大部分工况与轻微腐蚀性液体的液位测量。经济适用是其最为突出的特点,浮筒采用直径51mm的优质无缝不锈钢管,有效避免了普通管材易泄漏、寿命短、耐压不足等缺陷,提高了产品的可靠性。
(3)Flap-11P内衬四氟防腐型磁翻板液位计
主要应用于具有较强腐蚀性液体的测量,适用于强酸、强碱、强氧化剂、有机溶剂等介质的测量,在化工、炼油、储运和水处理等行业应用广泛。
(4)计为防爆型磁翻板液位计
适用于易燃易爆环境里,需要电信号远程传输的情况,与磁开关或远传变送器相配合,可以实现高低液位的报警动作和对液位实行远程实时控制。
(5)计为保温型磁翻板液位计
可根据用户的具体情况进行定制,其中包括真空夹套型、蒸汽夹套型、热水加热型、夹套冷却型、电伴热式保温型、保温棉式保温型等等,适用于测量液体的粘度比较大、冬天易凝固的液体、温度比较低或比较高的液体介质的测量。
四.磁翻板液位计日常维护及保养方法
磁翻板液位计调试注意事项:应先打开上部阀门,然后缓慢开启下部阀门,让介质平稳缓慢进入主导管内(介质急速冲击浮子,会引起浮子剧列波动,影响显示准确性),观察磁性红白球翻转是否正常进行,然后关闭下引管阀门,打开排污阀,让主导管内液位下降,据此方法操作三次,运作正常,磁翻板液位计即可投
磁翻板液位计是基于连通器和磁性耦合原理实现液位的实时测量。由于其测量全过程无盲区、测量范围大、显示清晰、结构简单、安装形式多样,适用于低温到高温、真空到高压、腐蚀程度不等的各种工况场合,是石油、化工等工业领域的理想液位测量产品。尽管磁翻板液位计本身是一款不需要太多维护的产品,但日常使用中如能加强维护和保养,无疑会使其保持更好的工作状态,延长仪表的使用寿命。
1、磁翻板液位计在经过较长时间的使用后,由于浮筒会吸附介质中的污垢,因此磁翻板液位计每年不定期清洗浮筒内杂质,每天至少应清洗一次。
2、清洗时,应先打开磁翻板液位计铁管的旋帽,小心拿出磁翻板液位计,再把设备周围地铁屑、脏物等一一清扫干净。
3、清洗前,应将磁翻板液位计放置整齐,管道、线路条理有序,同时注意做好防护措施,避免磁翻板液位计内有腐蚀性液体流出造成损伤。
4、磁翻板液位计清洗时,可以使用三氯乙烯或乙醇(俗称酒精)注入引压孔至其高度二分之一处,放置浸泡大约5至10分钟,然后轻微晃动,重复多次,直到清洗干净为止。禁止使用任何器具清洗引压孔,以免损坏敏感芯子感压膜片,产生误差。
5、在清洁磁翻板液位计时,不能用硬度过大的刷子或金属工具,以避免损坏敏感芯子及接口螺纹,造成局部损坏;
6、清洗完毕后将液位计慢慢放回铁管中,放置到铁管的低部,将旋帽安装回原处即可,再将卸下清洗后的液位计重新安装。为确保采样数据的正确性,必须再次对照水闸同一水位,并对仪表的检测值进行矫正。
除使用上面较为传统的手动清洗外,还可以免拆卸清洗的方法。具体就是通过磁翻板测量筒上部的丝堵进行改造,安装一个冲洗管线,可以使用蒸汽和自来水进行切换,当浮子出现卡阻时,只要把磁翻板液位计的侧面或上下连接设备阀关闭,打开排污阀,然后开启上部的冲洗阀,轮番使用蒸汽和自来水冲洗,即可去除磁浮子上吸附的脏污杂质,也能够去除浮筒内壁的杂质,且不会对人体产生腐蚀性伤害,也减轻了劳动强度。
六.顶装磁翻板液位计安装应注意的事项
顶装磁翻板液位计是安装在容器顶部的一种安装方式,非常适合一些地下储罐,或侧面不方便开孔的容器,或所测液体介质粘度较大不易采用侧装的液位计等等。顶装磁翻板液位计一般分为上下两部分结构。上部分为液位计的主测量管,在管外捆绑有带磁性翻片的显示面板,用于指示液体的液位,这部分被安装在容器的顶部,通过法兰与容器的法兰连接,一般选配DN80或DN100法兰即可,法兰规格不宜小于DN80;下部分为导筒部分,为浮子的通道,导筒内浮子通过连杆与上部测量管内的磁性浮球连成一体,当液位出现上下变化时,浮子带动磁钢在导筒内上下移动,利用上浮子的磁耦合的作用驱动显示面板内的翻片翻转指示出液位。在浮筒外还可捆绑干簧管液位变送器以实现信号远距离传送和自动控制。
1、磁翻板液位计在安装时护导管和主体测量管必须要保持垂直,上下浮球连杆不能弯曲,必须挺直插入;

2、磁翻板液位计安装位置应避开加液口,防止液位计护导管或浮球受到冲击;
3、安装连接法兰不宜选得太小,否则容易造成盲区过大,且因护筒小浮子运行阻力也较大,浮子运行容易卡住,一般安装连接法兰不小于DN80为宜;

4、在安装防腐型液位计时,注意不要破坏防腐层,以使防腐层失效;

5、在安装高度达到4~5米时,建议在两边增加固定拉索,以保证仪表在较恶劣的测量环境下,比如现场有振动的环境,或遭到碰撞,大风天气等,不致受到损坏。
素材来转自武汉船院张老轨
来源:船舶讲武堂

免责声明:本文仅代表作者个人观点,与思舶网无关。文章及图片、视频来源于网络,版权归原作者所有,如有侵权,请与我们联系删除,其原创性以及文中陈述文字和内容未经本站证实,对本文以及其中全部或者部分内容、文字的真实性、完整性、及时性本站不作任何保证或承诺,请读者仅作参考,并请自行核实相关内容。


▲扫码立即获得
《增材制造在海事供应链中的应用》白皮书


