长春市朱老六食品股份有限公司
一:公司介绍
公司主要从事腐乳、料酒和酸菜的研发、生产和销售,通过多年的发展和技术研发,形成了较为完善的产品生产线。“朱老六”品牌在调味品行业内拥有良好的信誉和广泛的知名度,公司产品在市场上有着较强的品牌影响力,得到了广大消费者的认可。公司主要采取经销商模式销售商品,与经销商建立了良好、稳定的合作关系,良好的销售渠道为公司产品的销售提供了有力保障。
二:公司经营模式
具体商业模式如下:
(一)采购模式公司的采购由物流中心负责组织实施。采购物资主要包括产品原材料、包装物及燃料等。物流中心根据生产计划制定采购计划,采购计划经主管经理批准后生效。物流中心根据采购需求确定供应商,采购过程中,与供应商签订供货合同,并在合同中约定产品的价格、等级、交货期等。物流中心每年定期对供应商的资质进行考核,以确保采购物资满足生产的需要。
(二)生产模式公司产品的生产主要由生产部负责组织实施。生产部组织实施生产计划和安排,各生产车间负责组织生产并做好协调工作;公司形成了较成熟的生产工艺流程。质管部对过程产品的特性按要求进行检验、化验,保证过程质量,同时对每批产品进行检验、化验,全部满足产品要求方可放行。
(三)销售模式公司主要采取经销为主的销售模式,最大化覆盖市场终端和体现共赢。公司采用“先款后货”的结算方式,有力保障公司充裕的现金流以及防止坏账的发生。公司每年对销售策略进行持续优化,已逐步建立适合自身发展的销售模式。1、经销商的合作模式公司与经销商采用买断式销售。公司与经销商签订的销售合同中对经销商的合作方式进行了约定:①销售合同中对经销商的销售区域进行了规定。②公司与经销商根据上年度的销售情况、区域产品的供求情况等因素确定销售目标。③销售合同中约定产品的经销价及指导零售价,经销商需在指导零售价一定的浮动范围内确定最终销售价格。④经销商提货要求“先款后货”,运输费用由公司承担。2、经销商管理方式公司销售部门对经销商进行直接管理,未设置总经销和分经销模式。
三:股东信息

四:财务信息
财务信息

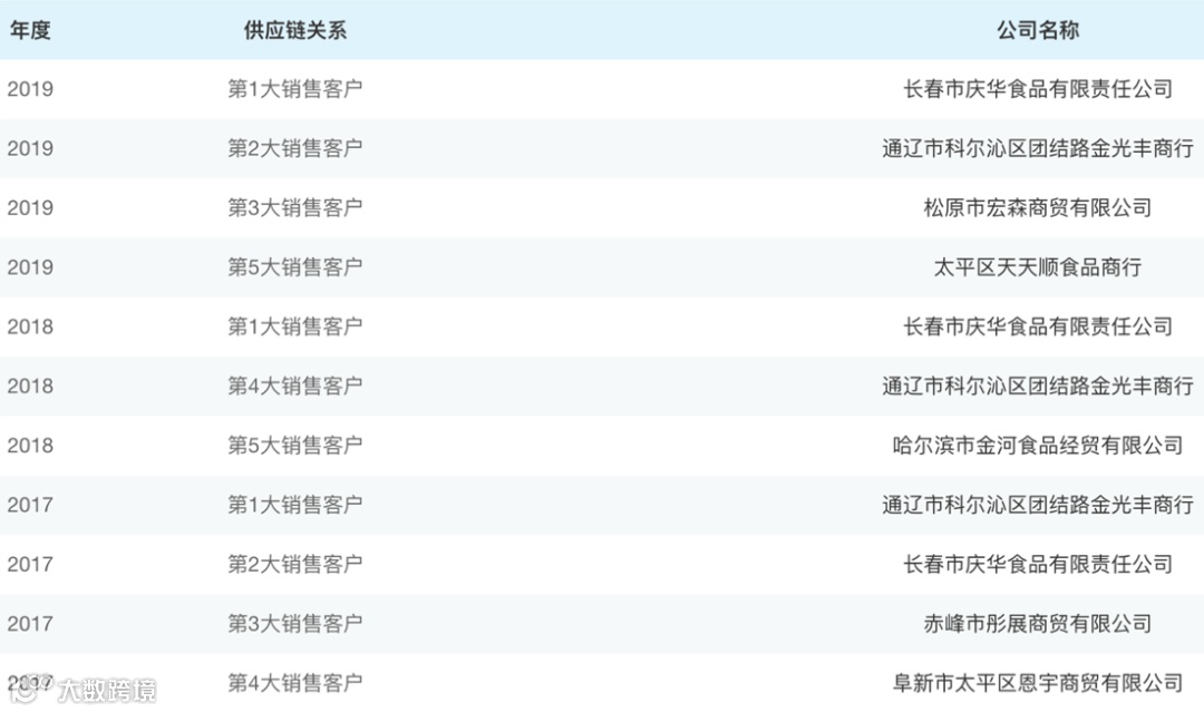
客户

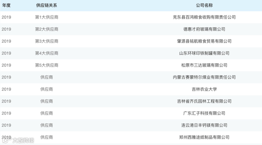
供应商

免责声明:本研究分析及建议所依据的信息均来源于公开资料,本公司对这些信息的准确性和完整性不作任何保证,也不保证所依据的信息和建议不会发生任何变化。我们已力求报告内容的客观、公正,但文中的观点、结论和建议仅供参考,不构成任何投资建议。

