搜索
首页
大数快讯
大数活动
服务超市
文章专题
出海平台
流量密码
出海蓝图
产业赛道
物流仓储
跨境支付
选品策略
实操手册
报告
跨企查
百科
导航
知识体系
工具箱
更多
找货源
跨境招聘
DeepSeek
首页
>
【新鼎研究】新三板优质企业之一百六十八——博菱电器
>
0
0
【新鼎研究】新三板优质企业之一百六十八——博菱电器
新鼎资本
2020-08-20
2
宁波
博菱电器股份有限公司
一、公司介绍
宁波博菱电器股份有限公司是一家专业致力于家用电器的研发、制造、销售和
服务
的制造型企业。主要产品有搅拌机、榨汁机、食品加工机、打蛋机、开罐器等马达类产品;烤盘、煎烤器、
三明
治、全自动面包机等发热类产品以及按摩器等保健类产品。
公司主营业务属于小家电行业,主要产品包括马达类厨房电器(食品加工机、榨汁机等)和电热类厨房 电器(煎烤器等)。产品主要外销欧美等国家,主要客户为品牌商,内销规模较小,销售模式均为直销。公司的生产模式主要为订单式生产,即接到客户的采购订单后,组织生产,产品完工检验合格后方予以 出厂。公司拥有独立完整的研发、采购、生产和销售等业务环节及业务流程。公司目前的主要经营模式包括 OEM 和 ODM,具体情况如下:原始生产制造商(OEM)主要依据品牌商提供产品的外观、结构和工艺方案,对原材料进行加工或组装, 产品生产完成后交付品牌商,即“代工生产”、“贴牌生产”。原始设计制造商(ODM)根据客户意向开发产品,一般拥有一定的核心技术、研发能力和较为丰富的生 产管理经验,为品牌商提供产品开发设计和制造服务。
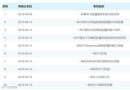
专利
信息
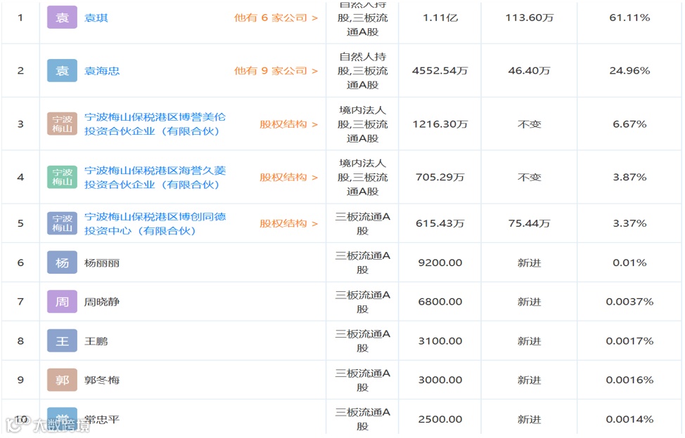
二:股东情况
前十大股东
三:财务信息
推荐阅读
》》新鼎资本荣获“投中榜2019年度中国最佳私募股权投资机构TOP100
》》在新三板精选层即将敲钟开市之际,新鼎资本新三板精选层基金五号成功备案!
》》【新鼎观点】
新鼎资本董事长张驰:新三板精选层现状分析
》》【媒体专访】《E见领袖》之对话新鼎资本董事长张驰:相信威马与小鹏能活到竞争最后
》》【已投企业】AI芯片设计第一股寒武纪今天成功登陆科创板
》》【新鼎研究】新三板优质企业之一百六十七
——威宁能源
》》
【急聘】新鼎资本招聘产品经理助理精英!
新鼎资本简介
北京
新鼎荣盛资本管理有限公司(新鼎资本),成立于2015年,为中国证券投资基金业协会备案的私募股权投资机构。目前管理规模近40亿元,发行备案的私募基金产品51支,投资项目30余个。
新鼎资本聚焦于:芯片半导体,人工智能,生物医药,新能源汽车,四大行业龙头企业,上市前一级市场投资,上市后二级市场退出获取收益。新鼎资本投资案例代表:云从科技(人脸识别国内龙头);影谱科技(人工智能+广告文娱国内龙头);第四范式(机器学习算法国内领先);寒武纪(AI芯片国内龙头);紫光展锐(中国最大的泛芯片设计企业);星环科技(业内第一家将大数据平台完整构建在基于容器的云平台上的企业);灵汐科技(类脑芯片龙头);博奥晶典(中国生物芯片研发、生产知名企业);赛特斯(5G概念龙头股);小鹏汽车(
阿里
巴巴重仓新势力造车);威马汽车(百度重仓新势力造车);阿尔特汽车(300825)(国内汽车设计龙头);亿华通(氢能汽车动力系统龙头);南孚电池(碱性电池龙头);宏济堂(人工麝香垄断);成大生物(人用狂犬病疫苗龙头);泽生科技(心衰药物研发);长风药业(呼吸系统药物研发);东方略(中美新药研发对接平台);祥云股份(磷酸一铵龙头);中建信息(华为重要ICT分销商)。
新鼎资本所获荣誉:2019年度最佳私募股权投资机构TOP100(投资中国);2019年度最佳私募股权投资机构TOP100(
融资
中国);已投企业亿华通荣获投中2019最佳投资案例(投资中国);2019年度优秀机构投资人(财视中国);2019年度新三板砥砺坚守奖(第一财经);2018年度“最佳私募股权投资机构TOP100”(融资中国);2018-2019年度最具LP投资价值GP-私募股权投资机构50强(CLPA );已投企业威马汽车、云从科技荣获投中2018最佳投资案例(投资中国);“最佳信息技术产业投资基金合伙人”(CLPA)等近百项。
【声明】内容源于网络
0
0
新鼎资本
北京新鼎荣盛资本管理有限公司,专注于优质项目私募股权投资。尤其新能源汽车、芯片半导体、人工智能、商业航天以及生物医药等领域。只为优质项目!
内容
4048
粉丝
0
关注
在线咨询
新鼎资本
北京新鼎荣盛资本管理有限公司,专注于优质项目私募股权投资。尤其新能源汽车、芯片半导体、人工智能、商业航天以及生物医药等领域。只为优质项目!
总阅读
35
粉丝
0
内容
4.0k
在线咨询
关注