融资回顾精选
【VR视频创作平台Vizor获230万美元种子融资】4月20日,芬兰的VR公司 Vizor宣布获得230万美元的种子轮融资,由The Venture Reality Fund及Inventure联合领投,Boost VC、LifelineVentures以及Sisu Game Ventures 参投。本轮融资将进一步加强平台的开发和功能迭代。Vizor 最初的业务是网络图形的绘制,而后定位为VR届的YouTube,将成为一个VR内容分发平台,用户不仅可以在其上观看 VR、AR 视频,还能进行 VR 内容创作。

【AR公司影创科技完成近亿元A轮融资】4月20日,国内AR公司影创科技宣布完成近亿元的A轮融资,由达晨创投领投,知初资本和朗玛峰等前期投资者跟投。影创科技成立于2014年8月,是一家专注于AR智能眼镜领域的高科技企业。目前其所公布的产品主要有:影创 Air 双目 AR 眼镜、AirNano 单眼智能眼镜、AirVR、Halo 全息头盔以及 Halo mini。本轮融资将用于继续完成产品研发及技术迭代,并开辟新产线扩大产能,拓展销售渠道,丰富智能眼镜内容,进一步拓宽应用领域。

【VR初创公司Absentia完成120万美元的Pre-A轮融资】4月20日,印度班加罗尔虚拟现实初创公司Absentia VR已经完成了120万美元的Pre-A轮融资,投资者包括Exfinity Venture Partners、T.V Mohandas Pai、DeepakGhaisas、Girish Paranjpe和V. Balakrishnan。本轮融资将用于开发新产品Norah AI,Absentia公司称,Norah AI将能够为各种游戏体验开发新的交互式内容,包括街机游戏、休闲游戏和益智游戏等等。它基本上会为内容创作者提供神经网络,并辅助他们开发游戏、GIF和动画等等。

【印度AR公司Whodat获60万美元融资】4月18日,印度班加罗尔的AR初创公司Whodat Tech完成60万美元融资。本轮融资将用于研发项目以及扩充团队。Whodat Tech成立于2013年,主要为商业用户提供增强现实技术或软件,帮助其开发基于AR的应用程序或产品功能。Whodat Tech希望将来与更多的社交媒体进行合作,这些拥有100万-200万的用户的社交平台,一般通过广告进行盈利,Whodat可以与广告网络合作,通过将AR技术集成在广告中让用户进行观看。

【MR硬件公司Avegant完成1370万美元融资】4月18日,Avegant已完成1370万美元的C轮融资,由中国杭州联络互动领投,英特尔、Applied Materials参投。Avegant成立于2012年,于2014年推出一款基于光场技术的混合现实头戴式设备Glyph,该设备由密歇根大学阿伦·埃文斯博士开发,依赖于反射光产生的图像,模仿人眼观察世界的方式,能提供逼真的虚拟模拟对象。Avegant的创始人兼技术总监Ed Tang表示在不久的将来,他们将带着MR头显产品面向消费者市场。

【初创公司Pluto VR 获1390万美元A轮融资】4月14日,西雅图VR初创公司Pluto VR宣布获得了一笔1390万美元的A轮融资,领投方是当地风投Maveron,参投方包括Madrona Venture Group、rilogy Equity Partners、以及一批独立天使投资人。Pluto VR主要为用户开发VR环境通讯应用,可以帮助人们摆脱地理位置限制,与周围世界实现互动通讯,你可以从世界任何地方连接文本、语音和视频,通讯感受就像对方在你身边一样。本轮融资将用于加大研发力度,向更多用户推出 Alpha 测试。

观点回顾精选
【Oculus首席科学家:真正的AR还需要5-10年时间】Oculus公司的首席科学家Michael Abrash在Facebook F8大会的第二天讨论了AR行业发展的状况。“完整的AR不会是一个偶尔或者特殊情况下使用的设备,”Abrash说:“它永远是你的助手,帮助你不断地了解你的周围、你的环境和你的历史。不断地混合真实世界和虚拟世界来满足你的需求,并让你时刻与外界连接。”Abrash表示,虽然VR目前完成了飞跃,但完整的AR可能需要5-10年时间。Abrash大胆猜测:继鼠标和图形用户界面之后,AR将是人机交互史上最大的飞跃。

新闻回顾精选
【Facebook召开2017 F8开发者大会,AR/VR是重点】旧金山时间4月18日,一年一度的Facebook开发者大会F8于在圣何塞开幕,大会持续2天。本次大会重点放在了增强现实、虚拟现实和人工智能上。总体上,Facebook在大会上推出了这些VR/AR产品:AR相机平台Camera Effects以及两款AR工具;VR社交平Facebook Spaces Beta版;为Surround360硬件项目增加了x24 和 x6两款VR相机;VR插件:360 Capture SDK。(Facebook在今年F8大会上推出的重量级VR/AR产品都在这里了)

数据回顾精选
【GDC:13%的开发者在开发独占VR游戏】GDC调查了过去三年来超过4500名曾经参会的游戏开发者,关于“上款游戏在哪个平台上发布”,45%的被访者称在PC/Mac电脑上,35%则称是智能手机或平板。19%则称是PS4/Pro,15%表示是Xbox One,13%表示发布在VR头盔上,而这一数字去年仅为6%。

布局回顾精选
【Google Earth VR正式支持Oculus Rift 并增加27处景点】4月18日,谷歌在纽约惠特尼艺术博物馆举行了“EarthDay”活动,为谷歌地球增加了“叙事”和“探索”功能,从而使其变得更具社交性和交互性。去年11月,GoogleEarthVR首先支持了HTCVive头显,而现在谷歌宣布这款VR应用也将支持OculusRift头显,并且适配OculusTouch手柄。更新后GoogleEarthVR新增了27处景点,包括南非的桌山(TableMountain)、阿根廷莫雷诺冰河、德国新天鹅城堡、加利福尼亚拉森火山、西西里首府巴勒莫等地区。。

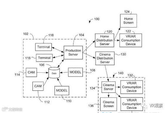
【华纳兄弟新专利申请展望了VR时代的影院蓝图】华纳兄弟去年十月向美国专利及商标局提交了一份完整的 VR、AR 观影系统的专利,从服务器端到消费者头显终端,再到传输方式,几乎完全绘制了一个 VR、AR 时代的电影院蓝图。华纳兄弟对这套系统的简介如下:一套为普通荧幕(例如:电影荧幕)和个人沉浸式设备提供数据的娱乐系统。例如:影音数据存储服务器与多个沉浸式输出设备(例如:VR 输出设备)的数字信号沟通。服务器配置的数字信号可同时传输到多个沉浸式输出设备。

【英特尔宣布虚拟现实VR电影内容新合作】近日在洛杉矶会展中心举办的洛杉矶虚拟现实博览会(VRLA)上,英特尔出席并兑现了其想通过娱乐等领域把虚拟现实带入主流的承诺。英特尔虚拟现实与游戏业务总经理Frank Soqui 在VRLA上发表主题演讲,强调了英特尔对创作者的承诺:从支持当今一流的PC虚拟现实体验,到实现公司融合现实的愿景。英特尔将支持电影导演 Eliza McNitt新作品《黯淡的蓝点》的第一集,这是一个虚拟探索宇宙的影片。此外,英特尔与Winslow Porter和Mileca Zec合作,为其影片《树》增强效果。

关注我们


