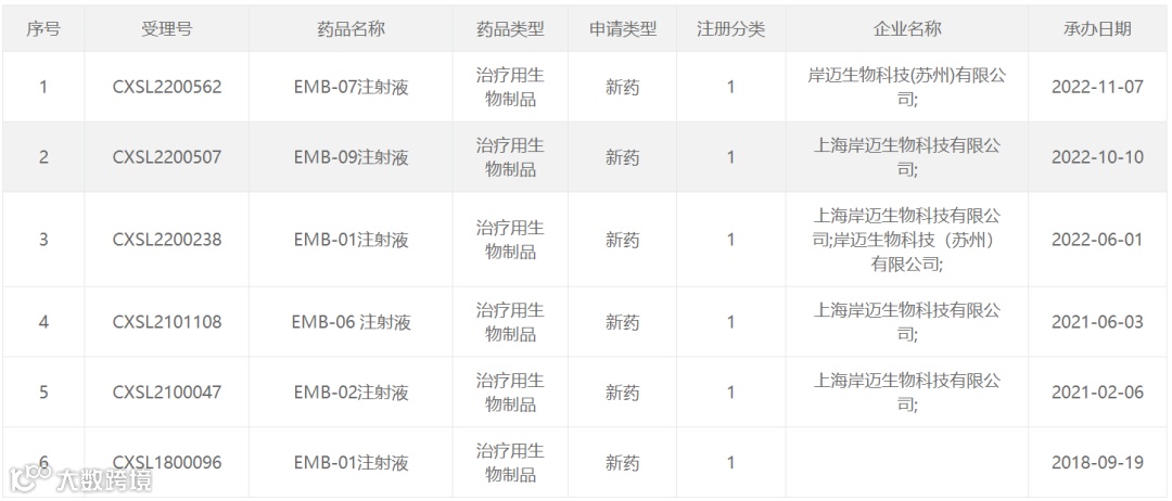
2022年11月7日,岸迈生物EMB-07注射液的临床试验申请获得NMPA受理,这也是岸迈生物申报的第5款双抗。
中南创投基金在2018年参与了岸迈生物的B轮融资。

岸迈生物是一家创新型国际化生物技术企业,在上海和苏州分别设有研发中心和中试基地,专注于利用自主知识产权的双特异性抗体技术平台FIT-Ig®进行创新生物药的研究和开发。
基于FIT-Ig®平台技术,岸迈生物正在针对肿瘤和其他临床需求高的领域进行双特异性抗体系列原创产品的开发,目前有4个临床项目 ( EMB-01、EMB-02、EMB-06和EMB-09 ) 以及10多个临床前候选药物。专有的双特异性平台FIT-Ig®使EpimAb能够精准覆盖三个战略肿瘤学领域 ( 肿瘤靶向、双检查点抑制剂、免疫细胞激活剂 ),并保持推动更多临床前项目进入临床的强劲势头。
岸迈生物同时也在通过全球范围内的技术授权、合作开发等多种形式实现平台的战略发展和产品多元化布局。若需获取更多信息,请访问:www.epimab.com


中南创投基金成立于2008年,管理多只人民币和美元创业投资基金,深度聚焦初创期、成长期阶段的生物医药、半导体与人工智能等科技创新领域。
我们以“资本赋能科技,科技造福人类”为使命;以“做难而有价值的事情”为投资战略;以创新为驱动;以科学和商业上的洞见为向导,在全球范围内发掘并助力有快速发展前景的科技型领军企业,并在基金的战略和科学家顾问团队的鼎力支持下,与创业者一起创造价值、共同成长。
中南创投基金成立于2008年,管理多只人民币和美元创业投资基金,深度聚焦初创期、成长期阶段的生物医药、半导体与人工智能等科技创新领域。
我们以“资本赋能科技,科技造福人类”为使命;以“做难而有价值的事情”为投资战略;以创新为驱动;以科学和商业上的洞见为向导,在全球范围内发掘并助力有快速发展前景的科技型领军企业,并在基金的战略和科学家顾问团队的鼎力支持下,与创业者一起创造价值、共同成长。
Relevant Readings



