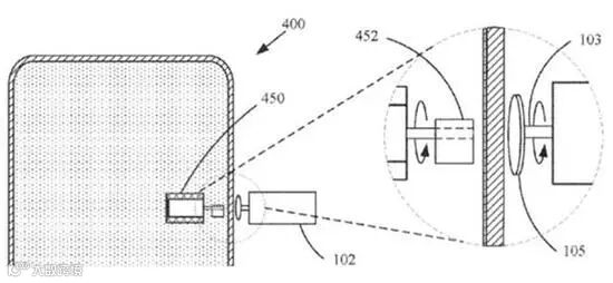
苹果新专利名为“无需连接器的磁力充电器”,能够实现与传统手表一样通过弹簧恒定张力来实现对手表本身的供电效果。或许未来Apple Watch转转表冠就能充电了。

苹果的这项专利主要是为了发电而不是为了上发条。根据USPTO介绍,苹果的这项专利通过卫星旋转磁场来对便携式设备进行充电,同时产生的电量还可以被保存到电池中或者其它电量存储装置中。另外,该设备还可以使用相同的磁场弹簧或线圈,类似于计时器的原理,通过对线圈施加恒定的旋转力,直接带动发电机产生电量。

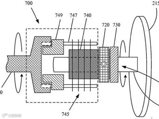
这让人想起苹果的第二代Apple Watch,由于增加了GPS定位功能,且内部电路复杂,就算提升了电池容量,但是也无法解决耗电量更大的问题。这项专利的发明,恰恰可以对准此症下药,仿佛一台“内部发电机”,让手表成功续航。而且,这项专利除了运用于手表设备,未来还可能用在苹果的智能手机或者平板上。这样,只要启动该“发电设备”,就算手机电量红色警告,也安全感满满。不过,由于手机和平板的耗电量太大,该项专利还是用在Apple Watch这种小型数码产品上比较适合。


傻鸟知服——让知识产权更简单!

所有优惠,尽在“维正商城”!
维正知识产权
您贴身的知识产权管家


长按,识别二维码,加关注

