文章来源:思宇MedTech ;编辑:苏玺
转载要求:首发24小时后可转载,需注明来源
2022上半年,美敦力总营收158.35亿美元,同比增长11.88%。其中最大的三个细分业务为:外科创新营收30.51亿美元(占比19.3%)、心脏节律与心衰营收29.54亿美元(占比18.7%)、颅脊技术营收21.89亿美元(占比13.8%)。
外科创新板块(含手术创新、手术机器人等业务)的营收增长主要由美敦力旗下Signia智能吻合平台、Tri-Staple智能吻合器等产品销售业绩的增长所驱动。
美敦力的外科创新产品目前主要集中在六个领域,即减肥、胸腔、结肠直肠、妇科、疝气和普通外科。
# 01 Tri-Staple智能吻合器
吻合器大规模普及至今已经有半个世纪,在大约40类手术中得以应用,尤其在肺癌、结直肠癌、胃癌和肝癌等肿瘤手术中扮演关键作用。
操作方式也从最初的只能用于开腹手术、手动操作,进化到适用于腔镜手术,并依靠电力驱动,但这些演进并不能满足手术的所有临床需求。
现今,随着医疗服务进一步发展,手术的复杂程度不断加深,尤其在肿瘤手术中,病人机体差异、肿瘤的综合治疗都对人体组织的特性造成影响,向外科医生提出更高的挑战。
相对于传统的手工缝合,器械缝合有以下优势:
1.操作简单方便,节省手术时间。
2.一次性使用,避免交叉感染。
3.利用钛钉或不锈钢钉(皮肤缝合器)缝合严密、松紧适中。
4.具有很少的副作用和有效减少手术并发症等。
吻合器的工作原理类似订书机,向组织内击发植入两排或数排互相平行错位排列的吻合钉。吻合器的发明者Hültl医生改造了钉砧,让受到挤压后的缝钉能呈B字型,这样既能牢牢扎住主要血管,由于小血管可以从类“B”形缝钉的空隙中通过,故又能保证钉合组织和切割边缘的血供和营养;
设计的多排缝钉采用交错排列法,缝钉的轨迹如两条平行的虚线,彼此锁住空隙,确保切割所经的所有血管都被结扎,以避免吻合处有渗出现象。这种钉合可以实现稳定的,张弛合理的,益于被吻合组织愈合的效果。直到今天这两点还被应用于吻合器的设计中。
▲ Tri-Staple™智能吻合器
传统吻合器工作时,会在切割路径两边各击发2至3排等高、等尺寸的缝钉。但实际应用时,由于组织厚度存在差异,等高的缝钉难免“顾此失彼”,钉得紧,可能会影响血供和愈合 ;钉得松,可能产生渗漏,导致左右为难。
为了解决这对矛盾,美敦力推出了Tri-Staple™ 技术,简单说来,就是采用了三排不等高的、呈阶梯状的缝钉技术。对缝钉高度的简单调整,带来的却是不简单的效果。击发后的缝钉内紧外松,靠近刀口的钉腿短,缝得较紧,能防止出血;远端钉腿高,缝得较松,能维持组织液和血液的流通,为组织提供营养,加快愈合。
此外,缝钉的击发时间也有先后,从内侧到外侧三排依次击发,配合阶梯型的钉匣面,夹得又准又不伤害组织。同时,在击发过程中,缝钉始终先于刀片,这样的“先缝后切”也最大程度确保了组织的安全。
总之,Tri-Staple技术通过三排不等高和渐进性夹闭的独特设计,实现了吻合严密、适配组织厚度和预防损伤的效果,大大提升了患者的术中安全和术后愈合。
▲ Tri-Staple™ 2.0 增强加固吻合器
Tri-Staple™ 2.0 吻合器与所有美敦力手柄兼容,是唯一具有预加载组织加固功能的内窥镜吻合器,可提高易用性并减少手术室中的浪费。
▲采用Tri-Staple™技术的EEA™ 圆形吻合器
EEA™ 圆形吻合器提供三排不同高度的吻合钉,可在各种组织厚度范围内保持一致性,泄漏保护更强,在压缩和夹紧过程中对组织的压力更小并且允许更大的灌注进入。
# 02 Signia智能吻合平台
▲Signia智能吻合平台
据介绍,美敦力的Signia智能吻合平台装载了高性能芯片,微处理器和传感器,并配有LED屏幕,能够自动识别和计算组织厚度,通过显示屏进行实时信息反馈,提醒医生选择合适的缝合钉仓,并在操作中自动调整合适的击发力度与速度,对不同器官组织,根据其特性进行个性化精准吻合,帮助医生在不能直接看到和触到人体内部组织的微创腔镜手术中,实现个性化手术治疗。
# 03 美敦力国内获批吻合器注册
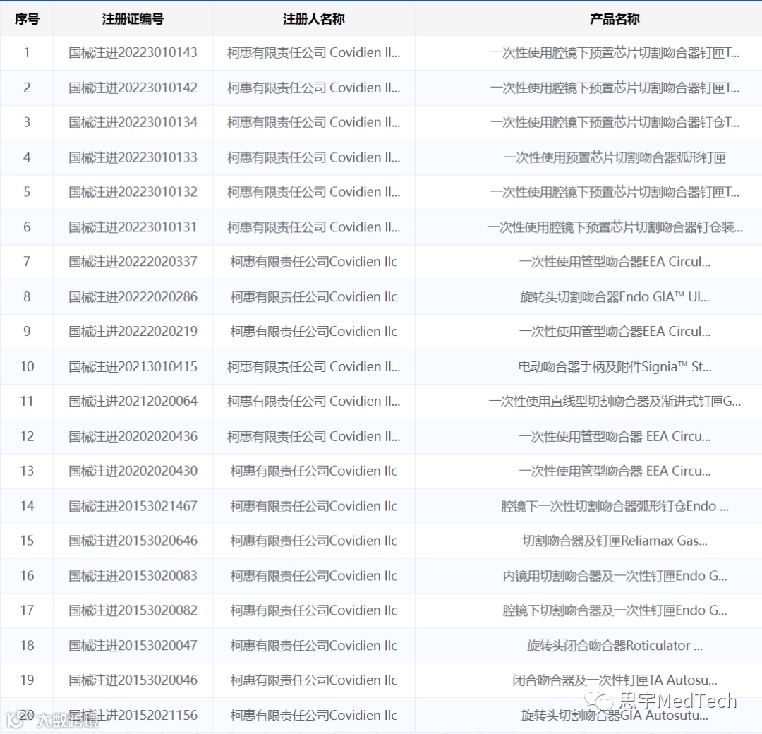
截止思宇发稿日,据查询NMPA官网,美敦力旗下柯惠有25款获批进口吻合器产品。
思宇MedTech吻合器相关文章
《外科风云》白百何陆大夫的迷之自信从何而来?—手术技术视角解析
美敦力相关文章


