文章来源:思宇MedTech;编辑:ZWT
转载要求:请在文首标明文章来源,可直接转载
思宇MedTech
2023年1月19日,浙江飞图影像科技有限公司获得数千万元A+轮融资,投资方为宜春市国有资本投资运营集团有限公司。据悉,本轮融资资金将主要用于加大产品研发和技术投入,加强市场拓展和业务运营,深化数字云影像行业核心布局。
▍01# 赛道基本情况
根据Fortune Business Insights的数据,2020年,全球医学影像市场规模为361.9亿美元,预计从2021年的379.7亿美元(约2525亿人民币)增长到2028年的565.3亿美元。
按设备类型,2020年X射线设备占比最高,约33%市场份额(主要源自使用C型臂进行术中图像引导的市场需求),其次是MRI设备,CT设备,超声设备和分子成像。
按应用分析,2020年骨科疾病占比较高,其次是肿瘤学、心脏病学、妇科、神经病学等。
据东软医疗招股书显示,全球医学影像设备市场规模已由2017年的580亿美元增至2021年的704亿美元,年复合增长率为4.9%,预计到2026年将增至843亿美元,年复合增长率为3.7%。我国医学影像设备市场发展更为迅速,市场规模则由2017年的655亿元增至2021年的954亿元,年复合增长率达9.8%,预计到2026年将增至1486亿元,年复合增长率为9.3%。
(图片源于网络)
▍02# 企业基本情况
飞图影像成立于2017年,是一家专注于医疗影像数据管理、数据流转和数据应用的国家级高新技术企业,通过云计算、大数据等技术与医学影像科学的创新融合,形成以数据应用为体、以科研与教学为两翼的“一体两翼”发展模式,打造“专业影像云+人工智能应用平台”,以平台为基,服务医疗全场景、全流程,构建数字医学影像应用生态。
▍03# 公司业务
(一)数字影像服务
飞图影像云平台以数字胶片取代传统胶片,影像数据云端存储,可随时调阅读取历史影像记录,且长久无损保存。不仅可以在院内完成日常业务流程工作,同时可在院外任何时间任何地点查阅影像数据,诊断更快捷、更精准,大大提高工作效率。
▲患者用手机查看报告和影像数据
(二)远程诊断、会诊
飞图影像云平台助力国家分级诊疗体系建设,推动基层医疗机构实现“大病不出县,小病不出乡”目标,促进区域医疗资源均衡。
(三)数据监管
▲政府数据监测
飞图影像云平台应用云计算等现代技术,构建完整的、系统的、多层次的医疗影像数据中心,为政府提供可视化工具。政府部门通过区域范围内各医疗机构数据汇总、分析,合理调配医疗资源,大大提高政府决策的科学性和时效性。
创始人胡利荣,曾为浙江省立同德医院放射科主任,拥有十余年医疗行业经验,现任飞图影像董事长、总经理。他曾经表示:“与传统胶片相比,通过云平台,可为患者提供原始的医学数字影像,包括检查的各项数据,同时可以提供报告在线查询、下载、分享服务,减少患者排队等待时间以及转诊转院时不必要的重复检查。”
▲飞图影像董事长、总经理胡利荣
▍04# 融资历程
截止发稿日,查询公司融资情况如下:
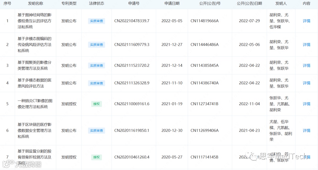
▍05# 专利情况
截止发稿日,查询公司共有发明专利14项,最新7项情况如下:
主编|赵清 审核|祎禾 排版|miya

