
2023年5月23日,据证监会官网显示,广东欧谱曼迪科技股份有限公司(以下简称:欧谱曼迪)上市辅导备案登记获证监局受理,辅导机构为中信证券,派出机构为广东证监局。

欧谱曼迪成立于2013年,总部位于广东佛山,在北京、上海、广州分设营销中心,在苏州、长沙分设产品研发及产业化中心。欧谱曼迪专注于高端医疗器械的研发与生产,囊括全功能内窥镜影像平台、荧光腹腔镜系列、白光腹腔镜系列、电子软镜系列、一次性镜系列、荧光显影剂、能量器械耗材等产品。
欧谱曼迪汇集了一支由加州理工学院、清华大学、北京大学、上海交通大学、同济大学、浙江大学、华中科技大学、武汉大学、中山大学、哈尔滨工业大学、华南理工大学等国内外一流院校的博士、硕士等组成的多学科人才团队,在光学、机械、电子、软件等方面拥有强大的自主研发能力,与清华大学、中国科学院苏州生物医学工程技术研究所在内的多家科研院校及大型医院建立了紧密的合作关系。
欧谱曼迪是获得NMPA首个4K荧光内窥镜系统及复消电子胆道镜注册证的中国企业,已取得多个FDA及CE认证。公司还是国家知识产权优势企业、广东省知识产权示范企业,拥有广东省新型研发机构及广东省工程技术研究中心。欧谱曼迪是进入国际荧光引导外科手术学会(ISFGS)核心理事会的首个中国品牌,内窥镜摄像系统以总分第一入选由国家卫健委规划与信息司组办的“第五批优秀国产医疗设备”评选。公司产品已进入北京协和医院、北京301医院、上海市第一人民医院、四川华西医院、中山大学附属第一医院、武汉同济医院等全国400多家大型三甲医院。
继2018年高清荧光、2020年首发4K荧光后,欧谱曼迪于2023年5月在CMEF推出集4K、3D、荧光三位一体的STELLAR内镜影像平台,可为医生提供4K高清、3D立体、荧光信息的图像。

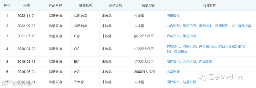
截止发稿日,查询公司融资情况如下:

截止发稿日,查询公司有专利163项,近期的5项专利情况如下:

读者如需了解详细情况,请参考公司官网:https://www.optomedic.com
主编|赵清 审核|祎禾 排版|miya
