
2023年3月9日,永仁心医疗器械有限公司(简称:永仁心医疗)宣布完成近一亿美元A轮融资,由北京科兴中维生物技术有限公司(SINOVAC科兴)领投,太平(深圳)医疗健康产业私募股权投资基金合伙企业(有限合伙)等跟投,现有股东Vivo Capital(维梧资本)继续追加投资,资金将用于进一步构筑和打造心衰重症治疗健康产业平台。
据美国市场研究公司 Grand View Research 的数据,2019 年全球心室辅助装置市场规模 17 亿美元,并预计保持 11.7%的复合年增长率。
中国市场中,即使按照单台左心室辅助装置价格50w测算,若市场渗透率仅有1%,市场规模也会超过百亿,属于真正意义上的蓝海市场。
永仁心医疗成立于2014年6月3日,是聚焦心衰重症全线产品的产业平台,致力于为患者提供从预防、诊断、监测、治疗、终末期辅助的全生命周期解决方案,专注于心衰重症治疗创新医疗器械的研发、生产、销售,其核心产品植入式左心室辅助装置EVAHEART(人工心脏)由日本早稻田大学、东京女子医科大学、日本产业技术研究所、日本太阳医疗技术研究所等科研机构历经50余年的基础研究和20余年联合设计开发,是国内唯一同时获批短期治疗、长期治疗双适应症的人工心脏。
EVAHEART植入式左心室辅助装置主要用于为进展期难治性左心衰患者血液循环提供机械支持,包括短期治疗 Bridge to Transplant(BTT) 和长期治疗 Destination Therapy(DT),即心脏移植前或恢复心脏功能的过渡及长期治疗。
EVAHEART植入式左心室辅助装置的主要功能是搭建起患者心脏的辅助流道,对患者的血液循环功能起辅助作用。左心室的血液经入血管流入到血液泵内,通过血液泵内叶轮转动产生的离心力,将血液从血液泵内推出,并经出血管流入到升主动脉,从而辅助患者血液循环。

● 产品构成及特性
EVAHEART植入式左心室辅助装置由体内部件、体外部件和手术工具组成,其中体内部件包血液泵组件(含泵缆)、入血管、出血管,体外部件包括控制器、控制器连接元件、纯水密封构成组件、纯水密封流路清洗组件、AC/DC适配器、电池、充电器、紧急备用电池、备用控制器、外部监控器、外部监控器底座、外部监控器连接线缆、操作钥匙,手术工具包括隧道刀、穿孔器、手术扳手、解剖器。

EVAHEART植入式左心室辅助装置采用离心泵和独特的纯水密封设计,具有低转速、大流量、高耐久、良好的生物相容等特性,临床使用转速为1600~2200rpm,对血液破坏小,最大流量可达20L/min以上,可实现生理性脉动血流,有助于降低右心衰、主动脉瓣关闭不全、消化道出血等发生风险,并提高患者生活质量。

#融资历程
截止发稿日,查询公司融资情况如下:

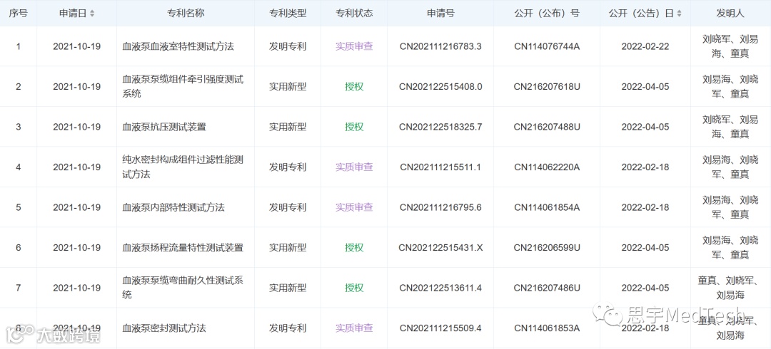
#专利情况
截止发稿日,查询公司有专利16项,近期的8项专利情况如下:

读者如需了解详细情况,请参考公司官网:http://www.evaheart.com.cn/
