
2023年10月16日,中国证券监督管理委员会官网显示,广东博迈医疗科技股份有限公司已进入“辅导备案”状态。
广东博迈医疗科技股份有限公司(简称:博迈医疗)创立于2012年,专注于高性能经血管介入医疗器械和治疗技术的研发、生产和全球销售,是一家技术行业领先的医疗器械平台型跨国集团公司。
公司总部位于广东省东莞市松山湖,在中国东莞、深圳、上海、株洲,以及荷兰、新加坡、印度等海外地区设有子公司、生产基地、研发中心和办事处。
博迈医疗产品已覆盖心血管介入、外周血管介入、血管通路、神经介入、介入配件等多个领域,产品行销海内外80多个国家和地区的数千家医院。
公司拥有多项荣誉,是国家级高新技术企业、广东省质量信用A类医疗器械生产企业、广东省血管介入治疗及器械工程技术中心、东莞市心血管介入医疗器械重点实验室,公司核心技术及多项产品荣获广东省科技进步奖和广东省高新技术产品认定。
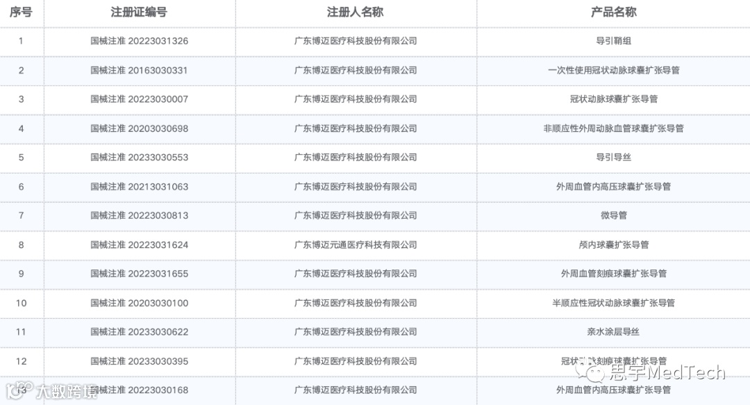
截至发稿日,据国家药品监督管理局信息显示,公司已有24款产品获批,具体如下:

据公司官网显示,公司目前有心血管介入、外周血管介入、血管通路、介入配件四大领域产品。
1. 心血管介入:
阿波罗™高压非顺应性球囊扩张导管:
POT™PTCA近端优化技术和远端优化技术的专属球囊:

Alveo™HP冠状动脉球囊扩张导管:
优游®半顺应性冠状动脉球囊扩张导管:

优游®NC非顺应性高压冠状动脉球囊扩张导管:

速越™半顺应性冠状动脉球囊扩张导管:
2. 外周血管介入:
Tiche™外周血管内高压球囊扩张导管:

百齐利NC非顺应性外周动脉血管球囊扩张导管:

3. 血管通路:
霸王龙™外周血管内高压球囊扩张导管:

百齐利NC非顺应性外周动脉血管球囊扩张导管:
4. 介入配件:
捷路™II导管鞘组:

捷路™一次性使用导管鞘组:

康戈™亲水涂层导丝:

# 融资历程
截至发稿日,查询公司融资历程如下:
# 专利信息
截至发稿日,查询公司部分专利信息如下:
主编|赵清 审核|祎禾 排版|miya


