
植入式骶神经刺激系统是一种用于治疗慢性疼痛的医疗技术,最初用于治疗坐骨神经痛,后来逐渐扩展到处理其他类型的慢性疼痛,如椎间盘退变、复杂性区域疼痛综合征和神经根痛等。随着大众对慢性疼痛的认识提高和治疗方式的演进,越来越多的患者寻求替代治疗方法,而植入式骶神经刺激系统提供了一种非药物、可调节的选择,可以显著减轻疼痛、降低药物使用、提高患者生活质量,同时减少副作用和并发症的发生。

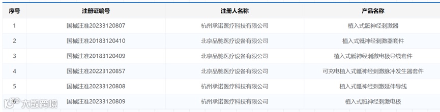
截止发稿日,国家药品监督管理局批准了北京品驰医疗、杭州承诺医疗的植入式骶神经刺激器。信息如图所示。

01
骶神经刺激(SNS)是一种微创治疗方法,最初主要用于治疗急迫性尿失禁等泌尿系统疾病,后逐渐用于治疗大便失禁、慢性便秘等消化系统疾病。SNS主要通过脉冲发生器发出电脉冲信号,通过直接或间接的方式刺激骶神经,调节膀胱、尿道、肛门和结直肠的神经反射,改善异常的神经调节,以达到治疗效果。
植入式骶神经刺激系统主要由电脉冲发生器、电极、程控仪等组成,前两者植入患者体内,电脉冲发生器释放电脉冲,传输至电极,电极对骶神经进行连续刺激,兴奋或抑制神经通路,从而调节异常骶神经反射弧,继而改善膀胱、括约肌等功能,可通过外部或内部装置来调节电刺激强度和频率。
根据植入式骶神经刺激系统的应用位置和具体治疗目标,可以将其分为以下两种类型:
1. 骶神经刺激(Sacral Nerve Stimulation,SNS):这种类型的植入式系统主要用于治疗骶神经相关的疼痛症状,如坐骨神经痛和盆腔疼痛。电极被植入骶骨附近,通过电刺激来干预和疼痛信号的传递。
2. 神经调节(Neuromodulation):这种类型的植入式系统不仅用于疼痛治疗,还用于调节神经功能和改善相关病症。除了骶神经刺激外,还可以刺激其他神经根或中枢神经系统来实现治疗效果。
根据电极的植入方式和位置,植入式骶神经刺激系统还可以分为以下两种类型。
1. 经皮电极:经皮电极植入方式通常采用外科手术的微创技术,电极直接放置在皮肤上方,通过电刺激作用于骶神经。这种方法不需要进行内部电极植入手术,而是通过外部装置进行电刺激调节。
2. 经外科手术植入电极:经外科手术植入电极需要进行内部手术程序。外科医生将电极植入到骶骨附近的神经组织中,使其与骶神经接触,以实现电刺激的治疗效果。
02
植入式骶神经刺激系统的发展史可以追溯到上世纪70年代和80年代,当时医学界对慢性盆腔疼痛和盆腔功能障碍的治疗方法非常有限。20世纪80年代,出现了一系列关于骶神经刺激治疗盆腔疼痛和盆底功能紊乱的相关研究。这些研究开始尝试植入电极和脉冲发生器来实现持续的神经刺激。然而,当时的技术和设备的可靠性问题限制了该技术的应用范围和效果。
1978年,一项研究首次揭示了刺激骶神经对于盆腔疼痛的治疗潜力。研究人员Melzack和Wall通过对患者进行骶神经电刺激,发现可以显著减轻盆腔疼痛,这为植入式骶神经刺激系统的发展提供了重要的研究基础。
1979年,Schmidt等人在旧金山的加州大学开展骶神经调节(SNS)的动物实验。
1981年,在加州大学启动了SNS的临床计划。
1989年,首次报道了22例患者应用SNS治疗慢性排尿功能障碍的成功经验。
1992年,Medtronic研发的植入式骶神经刺激系统InterStim®获得了美国食品药品监督管理局(FDA)的批准。InterStim®系统采用可植入的电极、脉冲发生器和外部控制器,可以通过电刺激改变神经信号传导,以治疗盆腔疼痛和盆腔功能障碍。此后,其他医疗设备公司也相继开发和推出了类似的植入式骶神经刺激系统,以满足临床需求。
1994年,骶神经调节通过了欧洲CE认证,应用于临床;同年Matzel等报道了骶神经调节在大便失禁患者中的成功经验。
1997年,美国FDA批准了骶神经调节用于治疗急迫性尿失禁。
1999年,美国FDA批准了骶神经调节用于治疗尿频-尿急综合症和尿潴留。
2003年,倒刺电极问世,开始了两阶段植入的手术步骤,提高了永久埋植率。
2006年,欧洲和美国都批准了Interstim II刺激器应用于临床,它能明显缩短手术时间、减轻患者不适。
随着时间的推移,植入式骶神经刺激系统的技术也在不断进步。现代系统采用高精度电极、可编程脉冲发生器和无线控制器,以提供更加精确和个性化的治疗。目前,植入式骶神经刺激系统已成为一种成熟且有效的治疗选择,广泛应用于慢性盆腔疼痛、盆腔底功能障碍、膀胱控制失禁等疾病的治疗中。
03
植入式骶神经刺激系统可以广泛应用在慢性大便失禁、急迫性尿失禁、尿潴留、尿频、尿急等疾病治疗领域。我国已经步入老龄化社会,老年人口不断增多。根据发改委公布数据,截至2022年末,我国60岁及以上人口28004万人,占全国人口的19.8%,其中65岁及以上人口为20978万人,占14.9%。老年人容易出现膀胱萎缩、逼尿肌老化、括约肌功能下降等问题,因此大小便失禁的发病率会随着年龄增长而不断提高,由此来看,我国植入式骶神经电刺激系统的市场空间巨大。
2022年全球植入式神经刺激设备的市场规模达463.49亿元(人民币),预计到2028年达到982.26亿元。植入式骶神经刺激系统是植入式神经刺激器的一种,全球市场规模也在不断扩大。
根据Mordor intelligence的数据,2019年全球骶骨神经调控(也称为骶神经刺激)市场规模为22.8亿美元,预计到2027年将达到33亿美元,在预测期内(2022-2027年),骶神经刺激市场的复合年增长率预计为5.5%。其中北美地区在骶神经刺激市场占有更大份额,而亚太地区的增势最为强劲。
驱动北美市场的增长因素包括该地区膀胱过度活动症(OAB)和冲动性尿失禁的患病率增加、完善的基础设施、不断增长的医疗支出以及这些设备和治疗程序的优惠报销政策。此外,该地区主要市场参与者之间的合并、收购、产品发布和合作伙伴关系也对市场起到推动作用。
2021年2月,Axonics Modulation Technologies完成了对Contura及其旗舰产品Bulkamin的收购,该产品适用于治疗女性压力性尿失禁(SUI)。2022年4月,FDA批准了Axonics F15设备,允许其植入15年以上,以阻断与膀胱过度活动和大便失禁有关的异常神经信号。
目前美敦力、雅培、波士顿科学、理诺珐(LivaNova)、Nevro、Nuvectra、NeuroPace七大国际巨头因技术、临床等先发优势,几乎垄断了整个神经调控市场。
2022年,Medtronic宣布获得FDA对InterStim X的批准,这是InterStim产品组合的下一代免充电设备,用于提供骶骨神经调控(SNM)治疗。2021年3月,Axonics Modulation Technologies与Micro Systems Technologies(MST)结成战略联盟,生产免充电的可植入骶骨神经调控装置。
在我国,2018年9月,品驰医疗研发的植入式骶神经电刺激器BetterStim获批注册;2023年6月,承诺医疗生产的植入式骶神经刺激器获批注册。与美国相比,我国植入式骶神经电刺激器行业起步较晚,但我国居民健康观念正在不断增强、医疗支出意愿不断提升,在老年群体不断增多的背景下,植入式骶神经电刺激器未来市场前景广阔。
(来源:国家药品监督管理局官网)
04
(一)Nuvectra
Nuvectra于2008年在美国特拉华州成立,致力于运用神经刺激技术平台开发慢性神经病症的治疗方法,并使之商业化。该公司的技术开发平台具有支持骶神经刺激(SNS)、深部脑刺激(DBS)和脊髓刺激(SCS)系统的能力。
公司旗下的Algovita骶神经刺激系统用于慢性疼痛治疗,该系统包括一个植入式神经刺激器、一个编程器和一个遥控器。Algovita系统可以对多达16个独立电极通道进行刺激,使医生能够精确地控制刺激位置和强度,为患者提供更佳的治疗效果。
(二)Medtronic
Medtronic成立于1949年,总部位于美国明尼苏达州明尼阿波利斯市,是全球领先的医疗科技公司,致力于为慢性疾病患者提供终身的治疗方案。公司主要产品覆盖心律失常、心衰、血管疾病、恶性及非恶性疼痛、运动失调、泌尿系统疾病等领域。
公司旗下的InterStim是一款广泛使用的骶神经刺激系统,该系统通过对骶神经进行微刺激,帮助调整和控制膀胱及肠道功能。InterStim系统包含一个可植入的神经刺激器(INS)和一根导线。植入式神经刺激器经皮肤植入并放置在臀部下方,而导线则连接神经刺激器和骶神经。目前新的免充电InterStim X设备和可充电的InterStim Micro设备用于治疗膀胱过度活动症(OAB)、慢性大便失禁(FI)和非阻塞性尿潴留。
(三)Axonics
Axonics于2012年在特拉华州注册成立,是一家全球性医疗技术公司,致力于为患有膀胱和肠道功能障碍的成年人开发和商业化新产品,包括用于治疗膀胱过度活动症(OAB)、大便失禁(FI)和非梗阻性尿滞留(UR)的可植入SNM系统,以及用于治疗女性压力性尿失禁(SUI)的尿道填充剂(Bulkamin)。
Axonics r-SNM系统是一款可充电的植入式骶神经调制器,已经获得FDA批准用于治疗尿频、尿急、尿失禁以及排便失禁。该设备具有长达15年的充电周期,包括一个小型刺激器,可植入患者的臀部,还包括一个远程控制器,让患者可以自行调节刺激的强度。此外,Axonics还研发出免充电的SNM系统,采用NexCore技术,以提供更长的电池寿命。
05
尽管植入式骶神经刺激系统在临床上已取得显著进展,但仍需要进一步研究来深入了解其作用机制、适应症范围和治疗效果的长期持续性。不断的科学研究和技术创新将有助于提高植入式骶神经刺激系统的效果和临床应用。预计未来在保险覆盖、患者对神经调控疗法认识程度提高的基础上,国产植入式骶神经刺激系统的应用和接受度将继续增加。
主编|赵清 审核|祎禾 排版|miya


