

# 公司简介
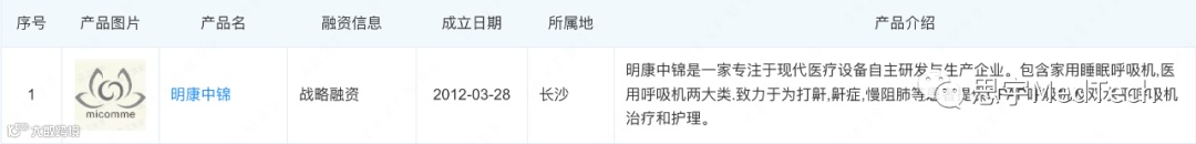
湖南明康中锦医疗科技股份有限公司(简称:明康中锦)成立于2013年,总部位于长沙市高新区,下属子公司深圳明康中锦,位于深圳市南山区。
公司聚焦无创呼吸诊疗装备和呼吸慢病管理服务,提供院内院外无创呼吸诊疗整体解决方案;深入无创呼吸机、高流量无创呼吸湿化治疗仪、呼吸耗材以及呼吸慢病管理服务的研发创新。旗下高端自主品牌斯百瑞院内院外无创呼吸诊疗整体解决方案,已在五千多家医院成功应用,得到了众多国内知名专家的好评。同时覆盖了全球70多个国家,为国内外数百万个呼吸疾病患者带来舒适、有效的治疗。
融资历程:
截至发稿日,查询公司融资历程如下:

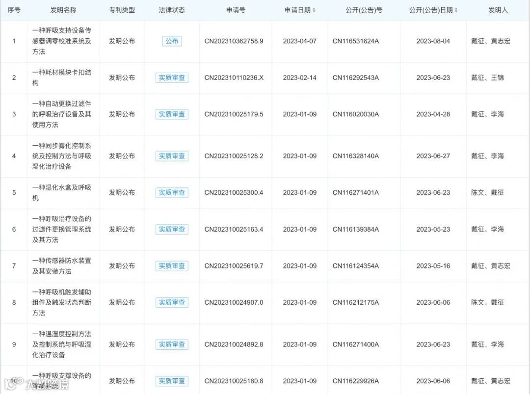
专利信息:
截至发稿日,查询公司部分专利信息如下:
# 产品信息
明康中锦拥有多项产品,其中无创呼吸机系列产品如下:
院内无创呼吸诊疗解决方案:


院外无创呼吸诊疗解决方案:



此次公司无创呼吸机产品获得优先审批资格,既是对公司产品的认可,也是对明康中锦公司创新能力、研发能力的认可。
主编|赵清 审核|祎禾 排版|miya


