文章来源:眼未来 ;编辑:白晓菲
近日,据NMPA官网显示,沈阳兴齐眼药股份有限公司(简称:“兴齐眼药”,300573.SZ)的0.01%硫酸阿托品滴眼液获批上市。获批临床适应症为用于延缓球镜度数为-1.00D至-4.00D(散光≤1.50D、屈光参差≤1.50D)的6至12岁儿童的近视进展,是国内首款获批上市的延缓儿童近视进展低浓度硫酸阿托品滴眼液。
当前,阿托品滴眼液是唯一经过循证医学验证、能够有效延缓近视进展的药物,其显著的临床价值或将颠覆过去以器械耗材为主的眼科市场。如今,这场市场巨变的序幕已拉开,谁将成为舞台上最耀眼的主角,业界拭目以待。

由于具备高增长性、高技术性两大属性,眼科赛道成为近年来当之无愧的“明星赛道”。而儿童青少年近视防控是眼科赛道中重要领域。
在儿童青少年近视防控领域,供给端低浓度阿托品、角膜塑形镜、离焦镜等防控手段不断迭新;在服务端,视光服务机构加速下沉提升服务可及性,推动近视防控市场蓬勃发展。预计在旺盛需求驱动下,2030年近视防控市场规模有望达约2100亿元,10年CAGR约13.7%(扣除普通框架镜后CAGR近25%)。
目前常用的儿童及青少年近视矫正措施包括光学矫正(如普通单焦框架眼镜、角膜塑形镜、特殊光学设计眼镜/角膜接触镜等)、药理学控制(如低浓度阿托品滴眼液)和近视手术矫正。每种措施都有严格的适应症。其中离焦镜、角膜塑形镜和低浓度阿托品是儿童近视防控的三大主要治疗手段。

▲中信研报统计的各类近视控制方法
国内儿童近视患者人群庞大,近视防控需求旺盛,目前的供给尚不能满足需求。2023年,我国儿童青少年总体近视率为52.7%,其中儿童为14.3%,小学生为35.6%,初中生为71.1%,而高中生甚至超过了80%。过早的近视,随着儿童生长发育,容易发展成为高度近视,严重且不可逆转的视力丧失风险也会随之增加,包括视网膜脱落、青光眼、白内障、视网膜下新生血管形成等。
以低浓度阿托品为例,虽然低浓度阿托品对儿童及青少年近视的防控机制尚未完全阐明,但低浓度硫酸阿托品滴眼液点眼已经成为儿童及青少年近视控制的主要方式之一。
此前,国内没有上市的低浓度硫酸阿托品眼用制剂产品,临床上主要由国内各大医院在院内自行配制制剂使用。各家在制备过程中尚无统一标准,给其临床应用的安全性和疗效评价带来一定的不确定性。
随着首个低浓度硫酸阿托品上市,或将打开新的百亿级市场。
和其他儿童近视防控手段相比,低浓度阿托品的优势在于有效性得到卫健委认可,产品价格亲民,依从性也较高。据兴齐眼药与新加坡国立眼科中心(SNEC)开展的III期临床试验数据,406例6-12岁儿童受试者经过了为期1年的用药观察,停药后0.5年的随访观察后,相比安慰剂组,硫酸阿托品滴眼液组在主要疗效指标上有统计学意义的显著性差异,硫酸阿托品滴眼液组安全性良好,患者使用依从性好。
不过2023年,香港中文大学任卓昇团队在国际知名医学期刊JAMA在线发表的研究论文显示,在4~9岁无近视的儿童中,与安慰剂相比,夜间使用浓度0.05%的阿托品滴眼液可显著降低近视发生率,并降低2年快速近视转移的参与者百分比。浓度0.01%的阿托品与安慰剂的比较差异,则无统计学意义。
虽然低浓度阿托品作为近视用药遭受了一定争议,但由于国内儿童青少年近视群体巨大,低浓度阿托品需求仍然旺盛。
兴齐眼药子公司兴齐眼科医院每年销售低浓度阿托品制剂销售额超2亿元。也有很多家长通过代购溢价购买低浓度阿托品,据南方日报报道,这款药物曾被卖到350元一盒而且销售异常火爆。
随着兴齐眼药0.01%硫酸阿托品按照化学药品3类路径上市,在旺盛的需求下,低浓度阿托品上市已经完成了市场教育,家长认知程度较高,有望凭借强产品力快速放量。
截至2024年3月12日,有16项适应症与近视相关的阿托品滴眼液临床试验正在进行。除了兴齐眼药外,兆科眼科、恒瑞医药、齐鲁制药、莎普爱思药业、参天制药、欧康维视和杭州赫尔斯科技/南京瑞年百思特制药等企业的相关产品也已经进行到Ⅲ期临床阶段。
业内人士预测,低浓度阿托品获批后,2024年销量有望达到25-30亿元,成为消费医药领域百亿级单品。
大单品上市往往会挤压已有产品的市场,低浓度阿托品上市将如何影响儿童及青少年近视防控市场格局?
临床上能够延缓儿童近视发展的手段并不多,角膜塑形镜(OK镜)、离焦框架眼镜、低浓度阿托品等产品是一定程度上被验证能延缓近视发展的手段。
不同的产品的都有一定的短板,并不适合所有人,不同的儿童及青少年近视防控手段都有哪些特点?
高浓度阿托品滴眼液副作用较大,有反弹效应。低浓度阿托品滴眼液(0.01%—0.05%)对瞳孔直径和调节影响均较小,对于控制或缓解儿童的进展有效并且副作用小。研究发现,0.01%阿托品滴眼液可有效延缓儿童近视进展,且反弹较小,副作用更小,但需要在医生监测下使用。低浓度阿托品滴眼液低龄儿童使用或长期使用,需关注其安全性。
OK镜是少数得到临床认可并进入卫健委近视防控指南、认可为延缓近视的有效方式之一。OK镜通过夜间配戴的方式,在睡眠时借助眼睑压力使中央部位的角膜组织趋于平坦。研究显示,OK镜能减缓眼轴增长,具有一定的延缓近视进展的作用,但并非所有人都适合验配OK镜,需要到专业医疗机构做全面检查后才能确定。OK镜属于第三类医疗器械,其验配是一种严谨的、科学的医疗行为,具备医疗资质才能验配。
从价格上看,目前,OK镜的售价一般在7000元到12000元之间,且每1年到1年半就需要更换一次,日常的护理液、眼药水也价格不菲,对于佩戴依从性要求较高。
离焦镜价格亲民使用简单,市场迎爆发式增长。离焦框架眼镜的技术原理则是通过镜片使周边成像在视网膜上或者在视网膜前,即周边近视性离焦,从而防止眼轴过快增长,达到抑制近视加深的目的。离焦软镜是一种软性隐形眼镜,也是利用“周边离焦”的原理,延缓近视进展的一种新型软性角膜接触镜。库博公司的离焦软镜产品MiSight经中国国家药品监督管理局(NMPA)优先审评,于2021年8月获批。
减离焦框架镜成本低、使用简单,且框架镜不是医疗器械可在眼镜店验配,离焦框架镜在青少年近视群体中渗透率快速提升,已超过OK镜。但临床实践中发现,目前市场现有的离焦镜片产品设计均只能提供静态且固定的离焦刺激信号,这可能会导致离焦刺激疗效的饱和,一些近视患者随着佩戴时间的延长,近视防控的效果会逐渐降低。与OK镜相比,在价格方面,减离焦框架镜的均价约为3500元/副,远低于OK镜。
以上近视防控手段孰优孰劣,目前暂无定论。2014年,台湾的一项研究纳入105名受试者,对阿托品和OK镜做了随机临床对比,OK镜组每年眼轴增长0.27~0.30mm,阿托品组是0.36~0.38mm;OK镜组每年近视(屈光度)增长为0.28~0.29D,阿托品组近视增长0.31~0.35D。以近视屈光度或眼轴增长(物理关键指症)来评价,角膜塑形镜都优于0.125%阿托品。

OK镜可延缓近视进展的60%以上,而低浓度阿托品对近视进展的延缓在40%-60%间,看起来OK镜要略优些。但结合价格(性价比看),低浓度阿托品可能就优于OK镜了。总之,二者各有特点,显著差异不大。最重要的二者可以联用,因此部分客户群体有望重叠,而非对立。
角膜塑形镜是控制近视的有效方式。临床研究表明,长期配戴角膜塑形镜可以减少或消除旁中心远视离焦,减缓眼轴的增长,显著减缓近视度数的加深。
2023上半年,各企业的角膜塑形镜(OK镜)业务增速不一,且存在较大差异。
爱博医疗2023年营业收入为9.51亿元,同比增长64.18%。其中,角膜塑形镜收入同比增长25%以上,公司已经构建了覆盖手术和视光两大领域的“双轮驱动”业务模式。爱博医疗的角膜塑形镜产品销量在经历过去三年的大涨后,在2023年仍保持了这一态势。
欧普康视作为我国大陆地区首家获得NMPA颁发角膜塑形镜产品注册证的生产企业,其硬性角膜接触镜于上半年营收3.8亿元,同比增长10.88%。增长主要是因为角膜塑形镜的应用仍然处于上升通道。
昊海生科的视光终端产品涵盖角膜塑形镜及配套使用的润眼液产品、功能性框架镜、以及依镜悬浮型有晶体眼后房屈光晶体(PRL)等产品。2023上半年,其视光终端产品业务实现营收9568万元,同比增长11.31%,主要受益于角膜塑形镜业务的增长。
相较于人工晶体30%-58%的增长,角膜塑形镜的增速为10.8%-39%。一方面,角膜塑形镜的总体市场虽然在扩大,但市场参与者也在增多,市场竞争逐渐加剧,致使各企业营收增速不一。
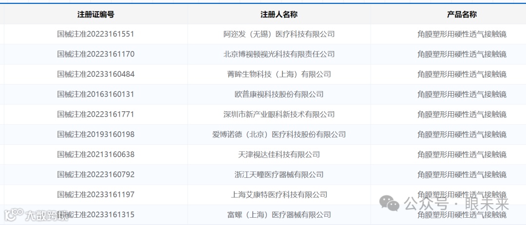
以“角膜塑形”为关键词在国家药监局官网搜索,目前已有10家企业的10款角膜塑形用硬性透气接触镜获批,且获批时间主要为2022年和2023年。

另一方面,不仅是角膜塑形镜行业的竞争者增多,角膜塑形镜本身也迎来了竞争对手。此前,角膜塑形镜是近视防控的重要手段,被广泛用于青少年近视防控。目前,市场上比较火的离焦镜,也有助于近视防控。
据介绍,离焦镜不属于医疗器械,营销宣传方面管控较松,主渠道在终端数量较多的眼镜店,使得部分近视儿童选择了减离焦框架镜作为矫正工具。现阶段,离焦镜市场参与者主要包括光学镜片企业依视路、蔡司、豪雅、爱博医疗等。
爱博医疗2023上半年财报显示,其离焦镜、隐形眼镜、接触镜护理产品等视力保健产品收入达4532万元,同比增长402.84%。
据介绍,近视眼佩戴普通设计的镜片仅能矫正视网膜中央区域的屈光不正状态,而周边视网膜成像落在视网膜之后,形成远视离焦。研究表明,这种远视性离焦是造成眼轴增长的原因之一。而眼轴每增长1mm,近视度数会增长300度。
离焦镜则可减缓眼轴的增长。在佩戴离焦镜后,离焦镜片不仅对中心视力进行清晰矫正,还可把中心视野以外的镜片度数设计得比中心区域更低,让物象投射到周边视网膜上或者视网膜之前,从而减少远视性离焦的出现,并起到一定的延缓近视的加深的作用。
目前,爱博医疗、昊海生科等巨头已开始推广销售离焦镜,而随着离焦镜的规模性商业化,同样用于近视防控的角膜塑形镜,增速被迫放缓。
同时,相比于角膜塑形镜必须在医疗机构验配,离焦镜可在数量庞大的眼镜店直接验配;相比于角膜塑形镜三类医疗器械的定位,离焦镜不属于医疗器械,在营销宣传上的管理更为宽松。
这可能导致具备渠道优势与营销优势的离焦镜抢占更多用户,挤压角膜塑形镜的市场。尽管角膜塑形镜控制近视增长率在40%-60%之间,优于离焦镜。
不过,总的来看,我国近视防控渗透率将稳步增长,预计具有更好效果的角膜塑形镜在未来一段时间内仍将呈现增长趋势。
值得强调的是,在目前的医疗技术条件下,近视不能治愈。目前,市场上已有的产品都有一定的短板,未来近视防控市场格局应该趋向于多种产品共存,预计市场主要还是低浓度阿托品、OK镜、离焦软镜瓜分。同时,持续有效的近视防控新产品将是行业关注的重点。
全球医疗科技百强榜:2023 Global MedTech TOP100
2023年全球医疗科技产业贡献奖
2023年全球医疗技术创新奖
2023年全球医疗科技新锐奖
2023年全球创新医疗器械奖
主编|赵清 审核|祎禾
