
近日,全球高端光学眼科诊疗设备品牌 Intalight赛炜——视微影像(河南)科技有限公司(简称“Intalight赛炜”或“视微影像”)完成海通开元领投的超亿元 D 轮融资,所融资金将主要用于加大研发投入、拓展产品线及加速海外市场布局。
在一年内,Intalight赛炜完成多次融资,总融资额超 4 亿,投资方包括国寿股权、前海方舟、辰德资本、深创投、中金汇融、临港蓝湾等国内一线财务投资机构,以及爱尔医疗、华厦眼科两大眼科产业方投资人。
▲源于药智数据
在眼科OCT产品方面,Intalight赛炜在2019年全球首发了20万速商用扫频OCT,并全球首次在商用机上搭载人工智能分层技术。
2020年,全球首发16.2mm超级深度成像产品,刷新了商用OCT最大成像深度记录。2021年,全球首发130°超广角OCTA,突破了商用OCT最大单次扫描范围极限,拓宽了临床适应症。
2022年,新产品「如意全眼OCT」全球首发,完美融合全眼轴可视化生物测量、前节OCT、后节OCT、前节OCTA及后节OCTA五大前沿功能于一台设备,开启了全眼OCT新时代。
2023年,全球首发了最新一代150°超广角OCTA产品,将OCT技术水平又推向了一个新的高度。
Intalight赛炜不断扩展扫频OCT的应用边界,从眼底向屈光、视光领域拓展。2023年陆续推出白内障患者眼轴检出率超99%的革命性全眼扫频生物测量新技术,和基于扫频OCT的巩膜镜快捷验配方案,这两大新技术目前已于国内大型展会上亮相,引起业内关注。
在国内市场方面,Intalight赛炜如意全眼OCT累计销售突破300台、在全国以及省级标杆医院装机超过100台,80%以上的设备成为主力机型,并一直保持稳定增长势头。据公立医院公开挂网数据统计,其OCT产品市占率和总体中标价格在同类品牌中处于领先位置。
目前,如意全眼OCT已在欧美13家顶级眼科中心装机。此外,如意全眼OCT在新加坡陈笃生医院、印度Natasha眼科中心等亚太地区著名眼科机构也有装机,近期还将进驻更多知名医院。
2024年初,Intalight赛炜如意全眼OCT登榜全球知名权威医疗科技杂志Medtech Outlook发布的2023年度全球最佳眼底影像设备品牌(Top Retinal Imaging Solutions Provider 2023),代表了全球眼科学术界对DREAM OCT的高度认可,再次展现了其在海外市场的广泛影响力。
根据美国拉斯克基金会的数据,OCT成像技术在眼科手术中每年的使用总数超过3000万次,即大约每秒一次,今后全球每年大约要进行4000万次的OCT眼科检查。全球眼科OCT市场规模预计从2022年到2030年将以15.41%的复合年增长率增长,预计2029年达到19.703亿美元。
根据中国心血管医疗器械产业创新白皮书估算,至2025年,我国OCT有25倍增长空间。据统计,2022年,国内眼科OCT的市场规模为8亿元;2023年,国内眼科OCT的市场规模为11亿元,复合年增长率增速超过37%,预计到2028年将增长至22亿元,加载OCT-A模块的OCT将是未来市场升级换代的主流。

▲中国眼科OCT市场规模及增长趋势预测﹙单位:亿元﹚
需要注意的是,2020年到2022年,受疫情影响,行业放量速度放缓,但需求并没被抑制,只是被延缓。近年的需求将在2023年得到释放。据不完全统计,2023年第一季度眼科OCT产品中标挂网数量同比增加了40%,基本恢复到疫情前(2019年)的水平。按此推算,2023年眼科OCT产品销售额将达到11亿元以上,基本恢复至2019年水平。
在眼科OCT领域,我国长期被进口品牌所垄断。2020年以前,蔡司、海德堡、Optovue、拓普康等进口品牌占据了90%以上的市场份额,其中以蔡司和海德堡最多,国产化率低,国产替代空间巨大。
近年来,一批国产创新企业相继建立并入局,给国产眼科OCT市场带来巨大机会。其中,比格威医疗、莫廷医疗、视微影像、图湃医疗、唯仁医疗、执鼎医疗等企业的OCT产品已拿到国家药品监督管理局认证,迈入商业化阶段。伴随着国内眼科OCT产品需求的快速增长,眼科OCT市场销售规模不断扩容。
2022年,在公立医院挂网(国家招采网和各省级招采网)的OCT设备中,一共中标485台,其中国产品牌为209台,进口品牌为258台,其余18台未溯源。在可溯源的467台眼科OCT产品中,国产占比达到了45%,已经趋近一半,国产替代趋势明显。

其中,图湃医疗表现突出。图湃医疗2021年8月取得“BM-400K”、“YG-100K”(即北溟、瑶光)两个产品的注册证。2022年,在第一个完整的销售年,图湃医疗就以79台的公立医院中标成绩,实现了17%的销售市占率,处于行业领先位置。2023年1到4月,图湃医疗眼科OCT产品院端销售额近亿元,同比销售额增速超过150%,扭转了该领域的行业格局。
在此之前,国产医疗设备往往以低价换取更高的销售数量。但在眼科设备这个细分领域,我们却看到了不一样的新风向。以图湃医疗为例,其首创的“40万次扫描速度”、“全景前后节一体式成像”引领了眼科OCT行业划时代的革命,奠定了其高端品牌定位。
2022年公立医院挂网(国家招采网和各省级招采网)的OCT设备平均中标价约为134万元/台。而图湃医疗的北溟、瑶光各型号OCT设备平均中标价约为165万/台,远高于行业平均中标价水平。其中“北溟”各型号单台平均中标价格高达250万元以上,是全球市场销售价格最高的眼科OCT产品之一。由此看来,在眼科OCT这个细分领域内,以图湃医疗等为代表的企业所研发的高端国产产品,相对于同类进口产品,正在实现从性能、价格、品牌到销售市占率层面的“优势替代”。
眼科OCT市场规模由存量替换及新增购买两部分组成。
存量替换方面,根据目前的数据进行分析,我们推测其存量替换市场主要集中在三级医院和部分二级医院。根据2021年我国卫生健康事业发展统计公报显示,截至2022年,中国三级医院数量达3275家,几乎全部配备了眼科OCT设备。按此估算,平均每家医院OCT设备配备数量约1.5台。在上述三级医院中,眼科专科/教学医院数量约200家,平均每家的OCT设备配备数量约5台。由此计算,中国三级医院配备的OCT总数量预估为6000台左右。
截至2022年,中国二级医院数量达10848家(来源同上),而眼科是二级公立医院必须设置的科室之一。其中,配备OCT设备的公立二级医院数量约占三分之一,即3500家左右,平均每家的OCT配备数量为1台。按此计算,中国二级医院配备的OCT总数量预估为3500台左右。
截至2021年,中国民营眼科医院数量达1005家(2022年数据未公布),医院数量年增速保持在15%以上。其中,多数民营医院配备了OCT设备,平均每家OCT设备配备数量约1到2台(非公开招标,统计难度较大)。按此计算,中国民营医院配备的OCT总数量约为1000台左右。
其它如一级医院(社区医院)、体检中心、视光中心等医疗机构的OCT设备普及度较低,总量难以计算。综合上述统计估算,当前中国眼科OCT市场存量为10500台左右。按照OCT设备平均8年使用寿命计算,保守估计,当前存量部分未来可稳定贡献的替换数量为1300台/年。若考虑到技术革新等因素,该部分存量替换数量有望达到1500台/年。
眼科OCT的增量市场同样前景广阔。目前,增量需求最明确的市场来自两个方向:以公立二级医院、民营眼科医院为代表的传统医疗需求,以及以体检中心、视光中心为代表的新兴医疗需求。根据要求,中国二级公立医院必须配备眼科,而OCT作为眼科诊断的金标准,在二级医院实现全面普及是必然趋势。
预计未来10年,公立二级医院将新增6000到7000台眼科OCT购买需求。民营眼科医院数量持续增加,也必然伴随着OCT设备的配备需求。预计未来10年,民营医院将新增1000到2000 台眼科OCT购买需求。据上述统计,眼科OCT未来十年的总市场增量约7000到9000台,平均年增量为700到900台。
结合存量替换与增量市场,经测算,至2028年,中国眼科OCT设备销售量将达到2000到2400台/年,终端销售额将达到20到24亿元一年。

视微影像(河南)科技有限公司(简称:“视微影像”)于2014年在美国硅谷创立。2015年在国家产业政策支持下,公司总部迁至国内,目前在硅谷、上海、洛阳设有三大研发中心。公司是国家级高新技术企业,同时拥有一支20余年硅谷工程化经验、半导体光学及高端医疗设备开发经验的世界水平研发团队。
自创立以来,视微影像持续创新求索,不断扩大着自身能力边界。现在,公司正在从一家眼科影像公司,转变为覆盖眼科诊断及治疗领域的眼科全平台企业。基于企业新的成长节点,视微进行了品牌升级,由品牌名“视微”焕新到新品牌名“Intalight赛炜”,彰显了其逐步向全球高端眼科平台企业迈进的底气和雄心。
自创立以来,公司始终聚焦眼科领域的创新,通过持续的技术迭代为行业带来更多颠覆性的产品,具体如下:
● 2019年,Intalight赛炜推出了首款自研扫频OCT,填补了国产高端眼科医疗器械的空白;
● 2020年,推出内置前后节切换与6mm超级深度OCT;
● 2021年,推出16.2mm超级深度与130°超广角OCT;
● 2022年,推出世界首款集全眼轴可视化生物测量、前节OCT、后节OCT、前节OCTA、后节OCTA五大前沿功能于一体的如意全眼OCT,开创了全眼OCT新时代;
● 2023年,推出150度超广角血流OCT,创造了OCT领域更大范围、更深成像、更快速度的行业新标准。
目前公司有多款技术领先的产品在研,涉及眼科诊断及治疗领域,美国及欧洲的产品注册也在同步推进,致力打造全球高端眼科医疗器械的中国代表队。

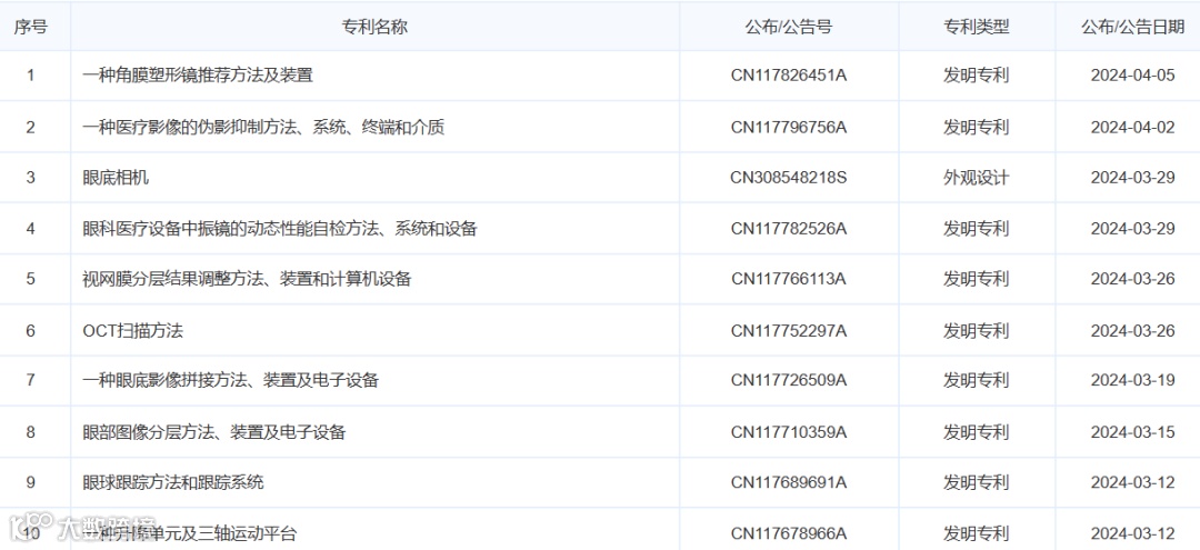
截至发稿日,查询公司部分专利如下:

主编|赵清 审核|祎禾
