
文章来源:思宇MedTech ;编辑:七鸢
转载要求:请在文首标明文章来源,可直接转载
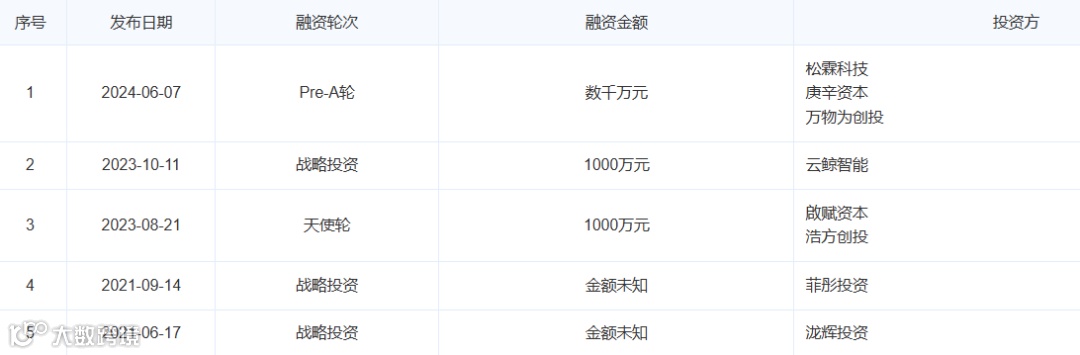
近日,杉木(深圳)生物科技有限公司,简称「杉木SHANMU」,完成数千万元的Pre -A轮融资。本轮由上市公司「松霖科技」(SH 603992)的大股东松霖投资领投,庚辛资本、万物为资本跟投。庚辛资本担任长期独家的财务顾问。本次融资资金将主要用于“感知系列”产品的量产、出海的团队建设和市场宣发。
在过去的半年里,杉木SHANMU相继完成了启赋资本、浩方创投的千万级天使+轮、独角兽企业「云鲸智能」的千万级战略投资,近日,公司又在近期完成本次第三轮Pre-A轮融资。
# 产品介绍
据悉,杉木SHANMU将在今年正式推出医疗级的“感知系列”产品,目前已经完成了多家医院的临床对照实验,获得NMPA二类医疗器械检测报告,预计8月获得注册证,并正同步申报美国FDA、欧盟CE认证。
“感知系列”产品几乎可以声称是全球最小型化、高精密的全自动医疗级生物分析仪,这表明产品可在一致性、灵敏度、特异性上直接对标医院的百万级大生化设备。
相对于传统医院,用户对健康的直观感受就是疾病“表征”,其实大多数疾病是有隐匿期的,在“隐匿”阶段,用户不会有任何的感受。然而,一旦累积到临界线就会出现症状,才去医院挂科看病,因此,通过表征来决定是否就诊的传统模型将不再适用AGI时代的用户健康管理需求。
例如,糖尿病这个案例。根据第10版国际糖尿病联盟地图数据显示,目前我国糖尿病知晓率水平为36.7%(患糖尿病的人在检测前知道自己得病的人数比率)。也就是说,三分之二的人都不知道自己有糖尿病。
糖尿病本质是胰岛功能受损,但这并不是一朝一夕的事情,而是个缓慢发展的过程,在过程中,是不会有表征反应的。当发展到糖尿病,相当于胰岛功能已经损坏到无法逆转的地步,只能长期药物和器械干预,高尿酸血症、慢性肾炎、心血管疾病等多种慢性病亦是如此。
在「杉木SHANMU」的“感知系列”场景中,用户正常如厕,尿液温度激活在马桶内部鼠标大小的“感知系列”设备,微升级的尿液和试剂均匀混合,在5分钟内,实现全自动化的“无感”、“连续性”、“无创”10+种小分子和数种蛋白的定量检测分析,再基于「杉木SHANMU」的深度学习垂直病理模型,分析代谢指标和疾病之间的相互作用。用户可以在APP看到实时的数据和病理分析结果,AIGC大模型能根据这些大量的个人身体数据进行解读,用户也可以向大模型提问。随着数据规模的形成,杉木SHANMU的垂直的病理模型越来越理解用户的状态,也能给出更加专业的健康反馈。
杉木SHANMU的“感知系列”产品是聚焦在两个用户画像
这三种慢病群体,在国内已确诊患者约3.5亿人,准患者约5亿人,而全球已确诊患者超15亿人,亚健康人群约20亿人。这些已确诊患者都有器械检测和药物干预的刚性需求。
杉木SHANMU的“感知系列”产品聚焦在这三种慢病的全自动化定量分析,如尿液的C肽+尿糖的组合可以分析糖尿病早期程度,尿总蛋白+肌酐的组合可以满足慢性肾炎患者的24小时检测和药物反馈需求,尿酸+离子组合能分析用户的肾结石和痛风风险,加上杉木SHANMU基于深度学习的垂直病理模型,是能一定程度上能预判用户的健康状态。
不仅在糖尿病和慢性肾炎这两个领域,在高尿酸血症、尿路感染、膀胱炎等领域,“感知系列”产品也能提供高精度的定量分析和预判功能。
传统医疗器械厂商的血糖仪、尿酸仪、CGM等产品,都是单体、单一指标定性、有创伤的,换句话说,这种类型的产品更适合给患者用户做日常的检测,而对于那些健康焦虑日益增加的家庭来说,他们急需要一种能给他们家庭每个成员进行“无感”“连续性”“无创”的AGI医疗解决方案。
年初,杉木SHANMU与200个海内外家庭的成员,15家市场机构进行深度访谈,超过85%的家庭成员认为完全能接受,他们关心家庭成员的健康远高于关心自己的,就如同购买家庭保险一样的心态。相较于男性用户,女性用户的尝试意愿会更强烈,而以美国和英国为主的海外家庭成员,则表现出更为兴奋。
# 关于杉木
杉木SHANMU是由创始人林鹤全及核心团队于2021年在英国伦敦创办的AI医疗企业。创始团队皆毕业于UCLA、JHU、复旦、曼大等国内外大学,部分研发团队成员来自美国谷歌总部、美国哥大医学院、复旦环境科学与工程院,是一支年轻且技能树高度互补的团队。
截至发稿日,查询公司融资历程如下:

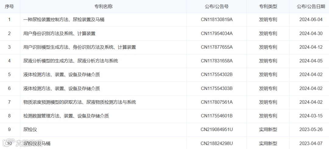
截至发稿日,查询公司部分专利信息如下:

主编|赵清 审核|祎禾
