# 公司介绍
深圳市慧康精密仪器有限公司(简称:“深圳慧康”)成立于2006年,是最早进入冲击波治疗领域的国产厂家之一。自创立以来,公司致力于高科技医疗设备的研发和制造,产品涵盖体外冲击波碎石机治疗系列(ESWL)、体外冲击波骨科治疗仪以及疼痛治疗系列(ESWT)、泌尿外科诊疗床系列(UROT)、医用影像存档传输系列(PACS)及高强度聚焦超声肿瘤治疗系列(HIFU)。
多尼尔医疗科技的控股公司Advanced MedTech Holdings(简称AMTH)宣布了对中国慧康公司的收购,持续推进冲击波医学应用,助力医生造福更广大病患。
AMTH总部位于新加坡,是一家跨国医疗科技集团,隶属于新加坡淡马锡控股。其专注于泌尿外科疾病治疗领域的设备研发及相关服务。
慧康公司总部位于“中国硅谷”深圳科技中心,在中国泌尿外科和体外冲击波治疗领域深耕多年。
其中,慧康公司体外冲击波碎石机稳居中国市场份额前列。同时,其提供骨科疾病冲击波治疗的综合解决方案。慧康公司产品覆盖泌尿系结石、勃起功能障碍及关节、肌肉、软组织疼痛等疾病的治疗。
# 产品介绍
自创立以来,公司致力于高科技医疗设备的研发和制造,产品涵盖体外冲击波碎石机治疗系列(ESWL)、体外冲击波骨科治疗仪以及疼痛治疗系列(ESWT)、泌尿外科诊疗床系列(UROT)及体外振动排石床系列。产品销售已扩展至四十多个地区,体外冲击波碎石机全球累计装机量超过六千五百台,是中国乃至全球装机量较大的体外冲击波碎石机制造商之一。
1. 体外冲击波碎石机
2. 冲击波治疗系列


慧康公司最新研发的E300线性冲击波治疗仪是通过低强度冲击波刺激血管新生及微血管再生,提高海绵体血液充盈,从根源修复阴茎组织,改善勃起功能,恢复勃起机制,适用于轻中度血管性勃起功能障碍患者。低能量冲击波(Li-ESWT)治疗ED 前景可期, 该治疗方式已被美国泌尿外科协会(AUA)、欧洲泌尿外科学会(EAU)列入针对勃起功能障碍的一线非药物治疗方案。
更多临床研究表明,低能量冲击波能显著改善ED患者的性生活成功率及满意度,增强PDE5i类药物的治疗反应,改善对药物治疗反应不佳的ED患者的治疗效果。对比吃药、手术等治疗方法,冲击波是一种安全的“非侵入式”、从疾病的发病根源进行治疗的物理疗法。另外,低能量冲击波对轻中度血管性勃起功能障碍的患者疗效更为显著,大部分此类患者无需其他药物辅助治疗。
慧康E300在产品设计上采用独创可变式的水囊接触面,贴合人体工程学设计,线阵式冲击波源,能量均匀分布,完美覆盖阴茎体及阴茎脚部治疗区。设备还配备无源五轴六关节机械臂,电动升降及万向治疗头旋转支架,可一键移动及固定,解放操作者的双手,是市面上唯一拥有此类定位臂的同类设备。
▲图2:慧康E300 专利治疗头
整个治疗过程相当方便,患者在舒适、私密的男科治疗室中接受低能量冲击波治疗,治疗过程舒适无痛,不需要特殊体位,不需麻醉,根据患者的病情确定疗程,一般每周1次,每月4次,一个疗程可见明显改善。随着冲击波治疗ED逐渐被中国多个省市纳入医保,进一步降低临床诊疗费用,将极大提升中国患者可及性,惠及更多患者
3. 体外振动排石床
4. 数字泌尿X射线机

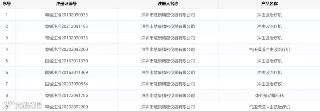
截止发稿日,深圳慧康获批上市产品如下9款:
# 融资历程
截至发稿日,查询公司融资历程如下:
# 专利信息
截至发稿日,查询公司全部专利信息如下:
2024全球医疗科技榜单:评奖招募中
2023全球医疗科技榜单:全球医疗科技百强榜 | 产业贡献奖 | 技术创新奖 | 科技新锐奖 | 创新医疗器械奖
全球医疗科技产业地图:国际龙头
心血管:美敦力Medtronic|强生J&JMedTech|BD医疗|波士顿科学Boston Scientific|爱德华生命科学Edwards Lifesciences|雅培Abbott|骨科:美敦力Medtronic|强生J&JMedTech|史赛克Stryker|施乐辉S&N|捷迈邦美Zimmer Biomet 眼科:依视路ESSILOR|爱尔康Alcon|蔡司医疗Carl Zeiss |拓普康Topcon|库博医疗Cooper 影像:西门子医疗Siemens Healthineers|飞利浦Philips Medical|GE医疗GE Healthcare|奥林巴斯Olympus
全球医疗科技产业地图:中国上市公司
迈瑞医疗|九安医疗|威高股份|达安基因|乐普医疗|明德生物 |新华医疗|联影医疗|东方生物|鱼跃医疗|科华生物|英科医疗|圣湘生物|国科恒泰|达安基因|瑛泰医疗
全球医疗科技产业地图:产业集群
美国明尼苏达州医疗巷 | 美国印第安纳州沃索 | 美国马萨诸塞州 | 哥斯达黎加 | 荷兰埃因霍温 | 美国128科创走廊 | 日本 | 美国波多黎各 | 爱尔兰 | 意大利米兰多拉 | 德国埃尔朗根镇 | 德国图特林根 | 桐庐
主编|赵清 审核|祎禾



