文章来源:思宇MedTech;编辑:七鸢
转载要求:首发24小时后可转载,需注明来源
近日,微创医疗器械供应链平台企业杭州鑫泽源医疗科技有限公司(以下简称“鑫泽源”)宣布成功完成超亿元的B轮融资。本轮由启明创投领投,天堂硅谷跟投,点石资本担任独家财务顾问。新一轮融资将主要用于上游核心技术研发、生产基地建设等,打造全球一流的微创医疗器械供应链平台。
# 市场规模
微创医疗器械终端市场规模超450亿元,产业链高度受制于进口产品的局面正在扭转。在内镜领域,重复性软镜、重复性硬镜、一次性内窥镜等领域百花齐放,海外企业的主导地位受到冲击;在内镜耗材领域,密集的集采推动自主创新进一步提升,也促使产业链分工进一步精细化。下游国产品牌的兴起,为供应链提出了更多的产品需求、更高的技术要求,为上游企业带来历史性机遇。
以腹腔镜为主的硬管内窥镜已成为微创外科手术的代表,与传统外科手术相比,微创外科手术结合了医学影像系统与高科技医疗器械,操作更加人性化,患者创伤小,术后恢复快,手术风险低,特别是在胸外科、心血管外科等复杂外科技术领域尤其显现出微创外科的技术优势。2015年,我国每百万人接受微创外科手术的数量为4248台,微创外科手术的渗透率为28.5%,到2019年则分别增长到8514台和38.1%。而2019年美国每百万人接受微创外科手术数量及微创外科手术渗透率已分别达到16877台和80.1%,我国微创外科手术仍有较大渗透空间。
我国内窥镜微创医疗器械的发展已有30多年历史,随着医疗技术的进步,已逐渐从最初的完全依赖进口、模仿改制向学习创新、深度合作方向发展。但行业的整体技术水平及产业化进程仍落后于发达国家,内窥镜行业在我国尚属于新兴行业。目前,我国大部分医用内窥镜生产企业已经具备低端医用内窥镜产品生产与研发能力,部分大型企业在中端医用内窥镜市场占据一定份额,少数企业在部分医用内窥镜细分领域的高端市场实现了零的突破。
总体来看,我国内窥镜行业格局呈现如下特点:行业规模逐年增大,保持较高增速;由国外品牌垄断,进口替代空间大;产品供给仍以进口为主。近年来,随着医疗器械国产替代政策的实施,国内品牌的占有率有明显上升。
鑫泽源是国内率先具备微创医疗器械全链条供应能力的中国供应商,是供应链自主创新的核心玩家。目前公司已获得迈瑞医疗等400余家器械客户认可,远销全球20余个国家和地区。
# 公司介绍

鑫泽源成立于2015年,总部位于杭州,公司深耕微创供应链领域,陪伴国内下游企业成长,已形成内窥镜及镜下耗材为核心的全链路供应平台。公司覆盖超30000种微创医疗零部件、超3600种组件,具备从“概念设计”到“批量生产上市”的全流程服务能力。
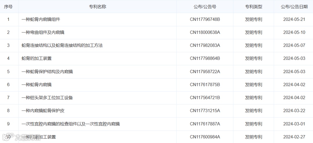
截至发稿日,查询公司部分专利信息如下:

主编|赵清 审核|祎禾


