文章来源:思宇MedTech;编辑:七鸢
近日,人工智能(AI)+生命科学数字健康方案提供商——广东博工医疗科技有限公司(以下简称“博工科技”)宣布完成新一轮A轮融资。本次融资由北京鼎盛合创基金领投,所获资金将用于夯实产品技术研发、加强人才队伍建设、打造强韧供应链。
# 博工M9

人工智能+生命科学数字健康方案的核心是人工智能生命数据管理系统,生命数据资源存储是人类健康发展的基石,是包括精准医疗以及尖端生物科研的最根本载体,广泛应用于医学临床样本采集、流行病与公共卫生研究、生命健康研究、生物制药样本存储、细胞与基因治疗、基因检测、辅助生殖、动植物珍贵资源保藏、法医物证鉴定等领域。
而这些珍贵的样本,很多需要长期保存在深低温-196℃的环境下,并且数据化管理分析尤为关键重要。博工科技团队把解决客户需求痛点放在最核心位置,并且充分借助人工智能技术赋能场景方案落地。
由于日常生活工作中几乎没有能够达到深低温的极端环境,所以出自传统工业供应链的器件,大部分传导结构也就无法在极端条件下实现自动化运作。
博工科技研制出了国产大型人工智能医疗装备博工M9,定位全数字化生物样本管理存储系统,是BODK品牌的旗舰产品。博工M9突破性地将源自航天军工级的可以长期耐受深低温机械运动部件全部内置于低温腔体内,并提供3万-6万份的百变深低温存储空间,实现存储区与工作区的“便捷操作”,满足了存储样本的全生命周期无温度波动存取要求。在不影响样本质量、不干扰实验结果的情况下,达到高等级生物样本安全防护。
博工科技成立于2022年,是一家专注生命科学领域机器人研发的创新企业,其致力于通过机器人先进制造技术解决干细胞数字化存储与规模生产制备的行业难题。公司现已构建起从研发体系、供应链打造、产品量产再到商业转化的全流程布局。
博工科技创始人刘照强具有12年机器人项目管理经验,是国内最早一批做机器人研发的专业人士。首席科学家李陶博士,拥有30多年的干细胞、免疫细胞研究、应用经验,是干细胞领域的权威科学家,也是博工科技的创始股东。

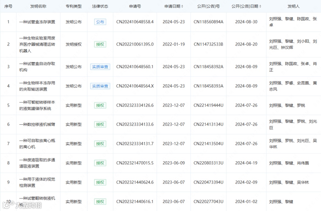
截至发稿日,查询公司部分专利信息如下:

