近日,全球领先的AI医疗和脑科学公司杭州虚之实科技有限公司(简称“虚之实科技”),宣布完成由星陀资本领投的数千万元A轮融资。
本轮融资资金将主要用于加速国内及海外医疗产品研发、C端及专家市场团队的建设,进一步夯实虚之实科技在国内脑疾病数字化治疗的领先地位,并探索更多创新业务模式,为用户提供更加卓越的产品和服务。
# 市场规模
在全球范围内,脑科学领域正迎来前所未有的发展机遇。据CB Insights数据显示,大脑健康领域的全球市场规模在2020年达到62亿美元,并预计将在2024年突破百亿美元大关。这一增长势头得益于资本市场的高度关注和投资热情,2021年全球脑科学领域的投融资活动达到181起,融资总额高达67.64亿美元。
此外,脑科学领域的技术创新,如脑机接口和神经修复技术,正在不断拓展其应用场景,从医疗行业延伸至智能穿戴、游戏娱乐等多个领域。德勤分析指出,全球神经科学市场规模在2022年为6,120亿美元,预计到2026年将增长至7,210亿美元,显示出各细分市场稳健的增长潜力。
随着社会对大脑健康和脑疾病治疗的关注度日益提高,脑科学与类脑智能产业的市场应用前景广阔,预示着该领域在未来几年内将实现显著的扩张和进步。
# 业务介绍

# 虚之实科技

杭州虚之实科技有限公司成立于2015年,由VR内容起家且在2021年推出首个使用虚拟现实技术进行认知功能康复的医疗器械产品——认知功能康复系统YKVR-1。并且是国内首个VR精神类疾病治疗的二类医疗器械持有者。
杭州虚之实科技有限公司汇集了脑成像技术、计算神经科学、虚拟现实和空间计算技术、人工智能、脑神经医学等交叉领域的众多国内外精英,致力于全球领先的脑医学研发与创新。
研发出行业第一套针对认知功能障碍的虚拟现实治疗产品,并获得国家首张该领域医疗器械注册证并按照三类证管理,现已落地国内200家医院神经内科、精神科、儿科、康复科,使用患者超百万人次。并获得欧盟CE认证和东南亚认证,出口海外市场。
截至发稿日,查询公司融资历程如下:

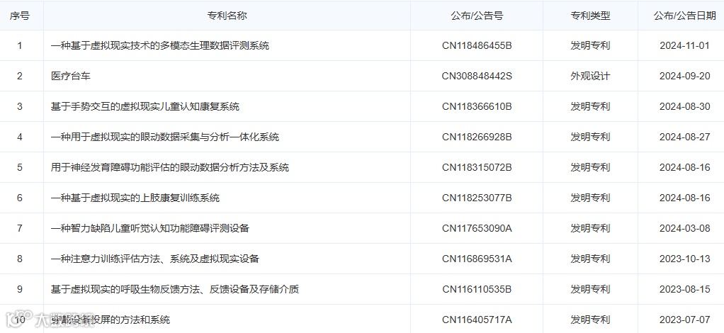
截至发稿日,查询公司部分专利信息如下:

# 获奖的医疗器械公司榜单
#海外医疗器械大厂们
迈瑞医疗Mindray|乐普医疗Lepu Medical|微创医疗MicroPort |威高集团Weigao|联影医疗United Imaging


