
心未来
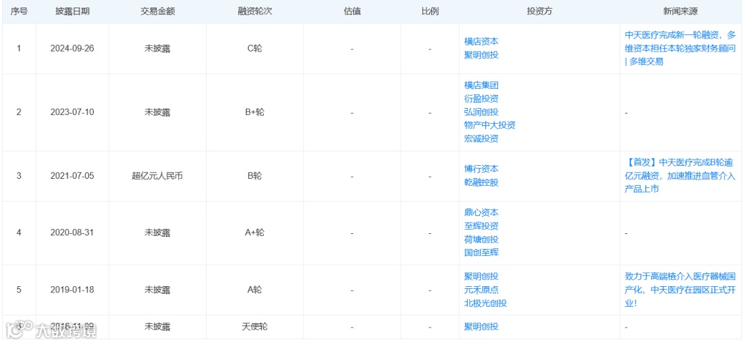
近日,泛血管介入企业苏州中天医疗器械科技有限公司(简称:“中天医疗”)宣布完成 C 轮融资,融资金额暂未披露,由横店资本与聚明创投联合投资。此轮融资将助力中天医疗加快新产品的研发进度,提升产品品质,进一步巩固公司在市场上的竞争地位,公司也将积极拓展国内外市场,让更多患者受益。
根据IQVIA数据,2024年上半年全国医疗器械市场规模按出厂价计同比下降3.2%,但血管介入器械市场规模同比增长10.1%。血管介入下各赛道的手术量增长都比较稳定,普遍高于其他领域。
为了更好地适应产品线和业务的快速扩张,中天医疗于今年上半年完成了业务重组,成立了专门的神经业务团队和外周业务团队,这将有助于公司更有效地满足市场需求,进一步加速在细分领域的拓展。
截至发稿日,查询公司融资历程如下:
# 拓展外周介入
中天医疗成立于2018年5月,是一家专注于脑血管神经外科植介入医疗器械研发的创新企业。公司由国际知名脑血管介入领域专家和资深脑血管器械研发专家领衔,核心成员主要由海外归国高级人才组成。
作为一家泛血管介入创新企业,中天医疗在神经介入领域积累了丰富的经验并建立了市场优势,在外周介入版块也逐渐崭露头角,致力于为临床医生和患者提供全方位的血管介入产品。
中天医疗销售市场总监陈冲表示,中天医疗在外周介入领域的战略是以创新单品切入外周市场,其产品线涵盖了外周血栓清除、静脉狭窄治疗、外周栓塞治疗以及颈动脉狭窄治疗等关键领域。
其中,已经上市的核心产品包括中天天航®Pro外周血栓抽吸导管、中天天戟®外周抽吸导管用栓塞移除装置和中天混天绫®外周栓塞弹簧圈、中天Inno-Xmart静脉支架,均有其产品独特性与创新性。
中天外周血栓抽吸解决方案是中天医疗基于其在神经血管系统内成功治疗大血管闭塞的经验,专门设计研发的用于清除外周动脉血栓栓塞的创新解决方案。该方案包括三个主要部分:中天天航™Pro外周血栓抽吸导管、中天天戟™外周血栓移除装置以及抽吸泵和附件。这一创新方案可以广泛应用于临床实践中,帮助患者快速恢复血流,并避免使用溶栓药引起的出血风险。
通过结合中天天航™血栓抽吸导管吸栓、中天天戟™血栓移除装置碎栓和持续恒定负压的抽吸泵技术,该方案旨在克服现有的血管内血栓抽吸治疗方法的局限性,它可以在手术过程中破碎堵塞导管的血栓,高效地清除血栓;导管头端有不同的抽吸角度,更有效清除附壁血栓;稳定的负压,抽吸效果确切;独特的导管壁结构、操作灵活便捷。
产品设计特点:
中天天航™Pro外周血栓抽吸导管
柔软无创短头端,血管内膜及瓣膜损伤风险更低,且抗负压、抗吸瘪。
大内腔,更大血栓接触面积,更大抽吸力。
多段硬度渐变式设计,超滑涂层,推送更平稳顺滑。
导管通体双层编织绕簧结构,提供更佳的远端柔软到位性、远端支撑性,且抗折抗扭结。
型号 4F-12F,50cm-145cm 长度可选,满足不同部位血栓抽吸需求。
中天天戟™外周血栓栓塞移除装置
远端闭合镍钛自膨锥体设计,通过对应不同大小尺寸的导管在主要闭塞处的近端边缘上推送和回收,能纵向切割血栓,分离附壁血栓,可轻松碎栓,减少堵管,联合吸栓导管使用,提升抽吸效率。
负压吸引泵及附件
抽吸泵:持续稳定地-95kPa(-28inHg)真空负压输出,满足大负荷血栓清除需求。
一次性收集罐:滤网设计,血栓收集可视化,操作简单轻便。
多段硬度渐变式设计,超滑涂层,推送更平稳顺滑。
一次性连接管:2.4mm内径,高效抽吸防堵管,可在不关机状态下关闭蓝色阀门控制出血量。
# 落子颈动脉狭窄
中天医疗在血管介入领域还“落子”颈动脉狭窄这一蓝海市场。
颈动脉斑块与脑卒中关系密切,约30%的缺血性脑卒中由颈动脉斑块引起。颈动脉粥样硬化斑块脱落形成栓子、斑块导致的管腔狭窄及血管动力学改变是引起脑缺血的主要机制。CAS(颈动脉支架置入术)是一种微创、安全和有效的颈动脉狭窄血流重建手段,也是目前主要预防治疗颈动脉狭窄的方法之一。
颈动脉狭窄手术量逐年上升,但目前尚无国产颈动脉支架产品获批,进口企业产品在过去多年未曾更新,部分产品已经难以满足当下临床发展需求。
据了解,目前市面上第一代颈动脉支架存在支架网孔较大,术后易发生斑块脱落导致卒中等问题;采用激光切割工艺的支架,在弯曲血管释放后,血管内壁有支架杆突出,从而易造成血栓等其他风险。第二代颈动脉支架虽缩小了支架的网孔,但双层支架的输送性相对较差,需要采用直径较大的输送导管进行输送,增加术中对血管的刺激。
中天医疗根据临床需求自主研发中天天宓®颈动脉支架于2024年5月进入创新医疗器械特别审查“绿色通道”,有望成为国产首款颈动脉支架。
其采用国内外首创的单层微孔混合编织技术,网孔面积仅为传统切割型支架网孔面积的1/30,增加斑块覆盖率的同时可有效避免双层支架的分层风险。
相比传统编织型支架,具有更强的径向支撑力;与激光雕刻型支架相比,则具有更低的慢性外展力;
充分利用镍钛合金超弹性应变迟滞储能特性,确保对狭窄有效扩张的同时避免对血管过度刺激;
全系规格采用5F输送系统,可通过6F中天天巡导管输送,更强兼容性和输送性,适应经桡/经股多种入路;
首次在颈动脉支架表面采用保护膜,大幅降低镍离子释放,提升产品耐腐蚀性和生物相容性,进一步改善患者受益。
围绕颈动脉狭窄治疗,除了颈动脉支架,中天医疗还拥有远端保护器、颈动脉球囊及长鞘,创新升级经桡/经股两大颈动脉支架成形术式,以颈动脉狭窄介入治疗(CAS)一站式创新解决方案,为国内颈动脉狭窄治疗带来更优选择。

# 获奖的医疗器械公司榜单
#海外医疗器械大厂们
迈瑞医疗Mindray|乐普医疗Lepu Medical|微创医疗MicroPort |威高集团Weigao|联影医疗United Imaging


