近日,深圳中科华意科技有限公司(以下简称“中科华意”)宣布已成功完成数千万元人民币Pre-A轮和Pre-A+轮融资。由泰煜投资、中科天使、七海资本与临创司南基金共同参与。
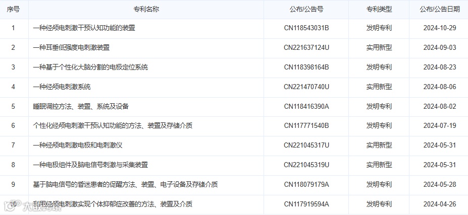
随着技术的进步,当前神经调控技术呈现出精准、靶向、无创和闭环的发展趋势。中科华意以“BCI脑机接口+tES经颅电刺激”为路径,聚焦个体化的无创深脑精准闭环神经调控技术,创新研发拥有完全自主知识产权的闭环经颅时域干涉深部电刺激仪。
作为全球领先的脑机接口个体化无创精准深脑闭环调控平台,闭环经颅时域干涉深部电刺激仪突破了传统经颅电刺激的刺激深度有限、靶点聚焦不足和实时性差等技术瓶颈。
这一技术平台为科研和临床提供了一种一体化的智能解决方案,能够实现全脑的个体化精准定位分析和无创深部电刺激,未来可适用于前沿神经科学研究,以及认知障碍、阿尔茨海默病、意识障碍、癫痫、抑郁症、注意缺陷多动障碍等多种神经与精神疾病的治疗。
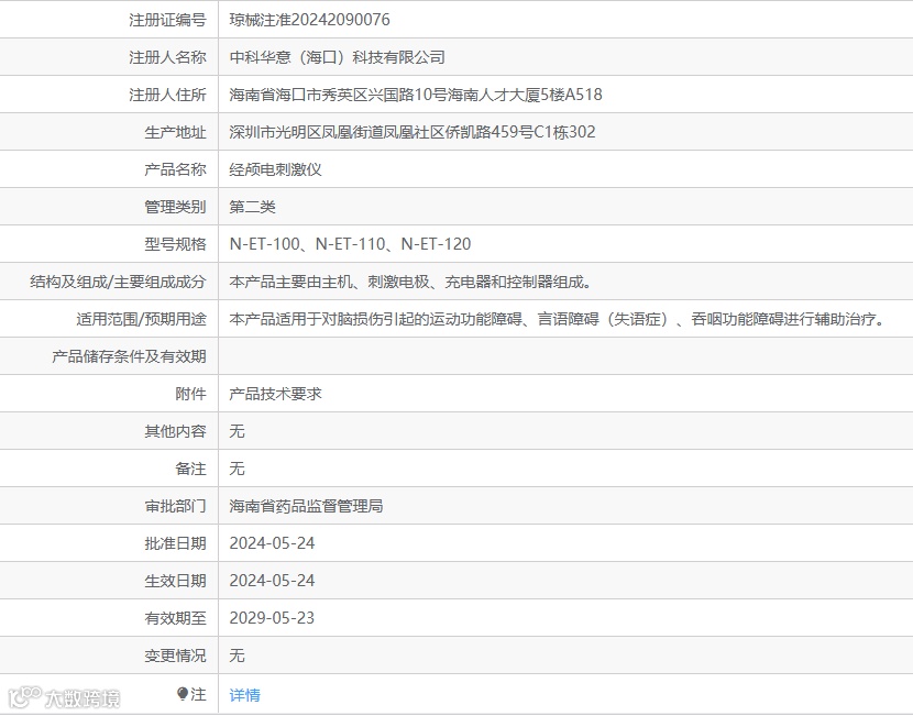
经颅电刺激仪已获批医疗器械注册证。该产品基于临床专家共识与指南,采用无创神经电刺激技术,通过置于头皮表面的电极将低强度电流作用于大脑皮层,通过改变皮层兴奋性、增加突触可塑性、影响神经网络功能连接等方式,针对前额叶脑区实施个体化精准无创电刺激,搭配智能化参数配置,为临床提供丰富的个体化调控方案。

经颅电刺激仪、闭环经颅时域干涉深部电刺激仪、动物经颅电刺激仪
中科华意由中国科学院深圳先进技术研究院脑认知与脑疾病研究所孵化成立,专注于非侵入式闭环神经调控技术的创新研发,打造技术转化平台,通过物理干预手段为脑功能疾病提供多样化的干预、治疗及康复解决方案,产品线涵盖认知障碍、阿尔茨海默症、意识障碍、癫痫、抑郁症、孤独症等多种精神与神经系统疾病。


# 获奖的医疗器械公司榜单
全球手术机器人行业大奖2024
全球医疗技术创新奖2024
全球医疗科技新锐奖2024
全球创新医疗器械奖2024
#海外医疗器械大厂们
迈瑞医疗Mindray|乐普医疗Lepu Medical|微创医疗MicroPort |威高集团Weigao|联影医疗United Imaging