
2025年8月11日,黑龙江省医疗保障局正式启动腔静脉滤器及消融电极类医用耗材的信息维护工作,涉及包括天津、河北、山西等20多个省(区、市)在内的多个地区。这一举措不仅是对产品信息准确性的要求,更是对整个行业集采流程的进一步规范和透明化。
对于医疗器械企业,尤其是参与集采的企业来说,此次信息维护工作是确保产品能够顺利进入集中采购系统、获得医保支付的重要环节。企业在规定时间内完成信息维护,不仅关系到产品的市场准入,还影响着未来的定价和竞争力。对于投资人而言,这一政策变化意味着市场规则的调整与潜在的投资机会,特别是在腔静脉滤器、消融电极等高值耗材领域,随着集采范围的扩大,产品合规性和竞争力将成为关键因素。
目前除黑龙江外,安徽也于去年8月启动腔静脉滤器、消融电极(针、刀)省级集采。全国价格联动机制下,两类产品价格或将进一步探底并辐射全国市场。
# 22省联盟集采
# 腔静脉滤器:需求增长与价格下行空间
腔静脉滤器作为一种关键的医疗器械,主要用于预防致死性肺栓塞,其临床价值在国内外均得到了广泛认可,特别是在那些不能使用抗凝治疗的患者中,例如重症患者或对抗凝药物过敏的患者。根据国内CURES研究统计,2023年肺血栓栓塞症登记患者超过1.7万例,而在美国,每年有症状病例达57~63万,其中约20万患者死亡。腔静脉滤器可通过有效防止血栓进入肺部,大幅减少了肺栓塞的发生率,并显著降低了患者死亡率。
从价格趋势来看,腔静脉滤器的价格在过去几年中出现了显著的下行趋势。2022年鲁普冀豫联盟集采中,均价从2.3万元降至9000元,降幅达58%。2024年7月,安徽省安庆市立医院血管外科医用耗材(可回收型腔静脉滤器)采购项目中,巴德可回收型滤器中标单价为1.8万元,价格下行趋势显著。
此外,随着集采工作的推进,腔静脉滤器的市场格局也在发生变化。集采促使企业优化成本结构,提高生产效率,以应对价格下降的压力。同时,集采也为具有成本优势和技术创新能力的企业提供了更大的市场份额和发展机会。


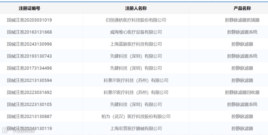
▲国产部分腔静脉滤器获批概况

▲进口腔静脉滤器获批概况
而库克、巴德以及爱琅等国外企业的腔静脉滤器产品在回收期上以及回收成功率上优于国产产品。临床数据显示,巴德 DENALI 以及爱琅等一些腔静脉滤器产品的平均回收期达到半年以上(165天),回收成功率可达到 97.3%,最长回收期甚至超过一年半以上(632天)。因此,与进口产品相比,国产产品具有较大的进步空间。
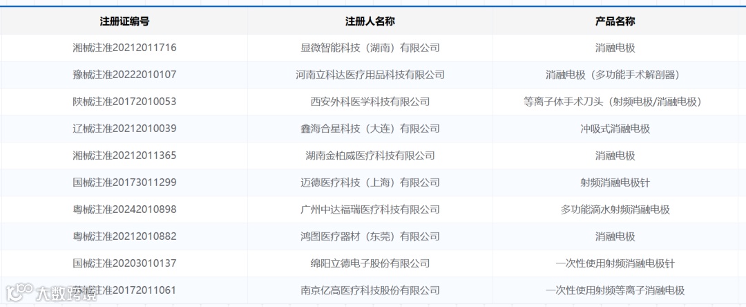
# 消融电极:多领域应用,集采降幅超50%
▲国产部分消融电极产品获批概况
▲进口消融电极产品获批概况
# 企业策略与行业变革
集采推动下的市场重塑
黑龙江与安徽的集采试点已显现出明确的价格探底趋势,这不仅为患者带来了切实的医疗成本降低,也为全国范围内价格联动机制的加速推进提供了有力的实证基础。随着集采范围的不断扩大,腔静脉滤器与消融电极类耗材的价格有望进一步下探,促使整个医疗器械市场走向更为透明与高效的价格体系。
全国范围内的集采工作,通过整合各地的采购需求,形成规模效应,不仅降低了耗材价格,还提升了采购效率,减少了中间环节的不合理加价,使患者能够以更低的成本获得高质量的医疗器械,从而在更大范围内减轻患者的医疗负担。
应对集采的精细化布局
面对集采带来的价格压力,企业必须采取精细化的应对策略。首先,企业需要对自身的产能进行精准评估,确保在中标后能够按时、足量供应产品,避免因供应不足而失去市场份额。其次,成本控制成为企业生存与发展的关键。企业需通过优化生产工艺、降低原材料采购成本、提高生产效率等措施,来应对价格下降带来的利润空间压缩。
同时,企业还需密切关注市场动态,灵活调整市场策略。在集采规则制定过程中,企业应积极参与,通过提供专业的意见和建议,争取更有利的规则设定,从而在激烈的市场竞争中占据一席之地。此外,企业还需加强与医疗机构的沟通与合作,了解临床需求,提供定制化的解决方案,以增强产品的市场竞争力。
技术创新与成本优化的双轮驱动
带量采购的常态化实施,正深刻地改变着医疗器械行业的竞争格局。行业集中度的提升,使得市场份额逐渐向具有技术优势和成本控制能力的企业倾斜。在这一过程中,技术创新成为企业脱颖而出的核心竞争力。企业需加大研发投入,开发具有更高性能、更低副作用的新型医疗器械,以满足临床不断变化的需求。
同时,成本优化也是企业必须面对的课题。通过精益生产、供应链管理等手段,企业可以有效降低生产成本,提高产品的性价比,从而在集采中更具优势。未来,医疗器械行业将朝着技术创新与成本优化的双轮驱动方向发展,只有那些能够在这两方面都表现出色的企业,才能在激烈的市场竞争中立于不败之地。
思宇年度活动回顾:首届全球眼科大会 | 首届全球骨科大会 | 首届全球心血管大会| 首届全球医美科技大会 |精彩回顾:第二届全球医疗科技大会
即将召开:

