受影响企业失业保险费返还、
失业保险支持企业稳定岗位补贴
企业申请操作指南
一、申请补贴
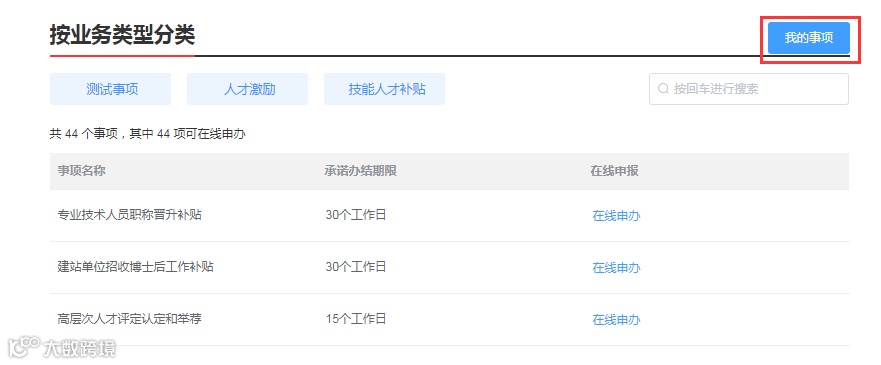
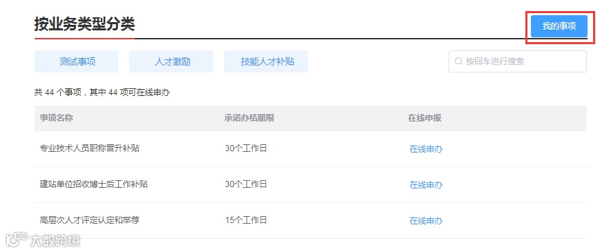
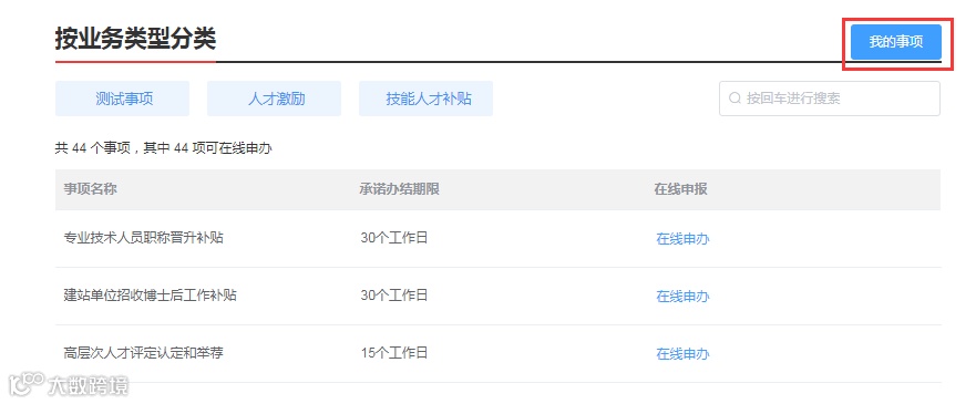
2. 按照需办理补贴名称,并点击“在线申办”
3. 仔细阅读申请条件等,并填写申报信息,点击下一步
4. 填写单位邮箱及环节信息,点击下一步
5. 按照要求逐项上传附件
6. 上传完毕,点击“提交”
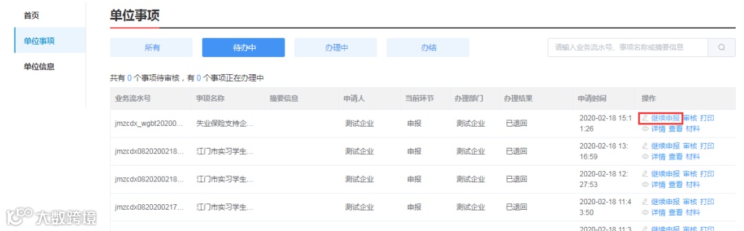
二、查看已申请的事项
1. 点击“我的事项”
2. 点击“办理中”可查看办理结果
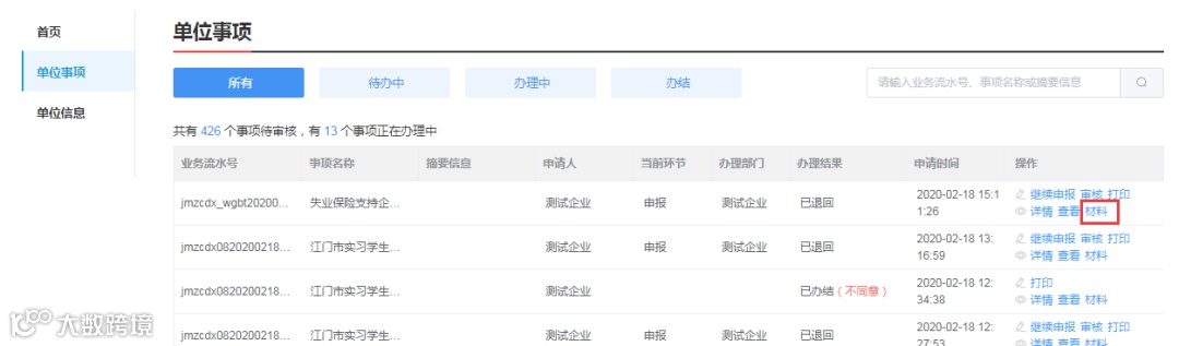
三、事项退回处理
1. 点击“我的事项”
2. 点击“材料”补充或修改材料
3. 点击“继续申报”进行再次申报
四、查询申请结果
1. 点击“我的事项”
2. 点击“办结”查询办理结果
来源:五邑人社

