
俗话说,没有规矩,就不成方圆。对于经常开车出门的各位司机朋友来说,更是如此,有秩序的行车,才能让交通变得更加畅通。但是开车出门依旧要小心谨慎,避免出现交通事故,避免被记分,避免被罚款。最近很多朋友咨询小编,在自己哪哪违章了,扣几分呀?罚款多少呀?那今天小编就给大家汇总一下,那些常见违章行为,和记分、处罚条款。

1.直接吊销驾照,没商量
| 违法行为 | 罚款 |
| 醉酒后驾驶机动车的 | 5000元 |
| 驾驶拼装的机动车上道路行驶的 | 200至2000元 |
| 驾驶已报废机动车的 | 200至2000元 |
| 造成交通事故后逃逸,构成犯罪的 | 终生禁驾 |
| 再次饮酒后驾驶机动车的 | 1000至2000元 |
| 发生严重交通肇事,构成犯罪的 | 刑法处罚 |

2.记满12分:回炉再学习



自从“酒驾入刑”之后,酒驾的处罚力度也随之加强,因此酒后、醉酒驾车会被直接吊销驾照,最高罚款500元,并且五年之内不等再次考取驾照,而还有可能遭受牢狱之灾。
3.记6分:实际上就是给你个严重警告



一次性被记6分,实际上是一种非常严重的警告。尽管说,罚款200元,数额不大,但是必须值得警示。尤其是非紧急情况占用应急车道,很有可能因为自己的一时方便,害了他人的生命。
4.记3分:提醒你开车还是要守规矩的


不年检的、超速的、闯限号的、违反标志标线行车的……一般都是记3分,这些都比较常见。但是还有一些你并没有注意到的违法行为,同样会让你记3分,罚款100至200块。比如,不让行执行任务的急救车、消防车、工程救险车等;车辆转弯未让直行车、未让行人先行通过;右侧超车……如果被警察叔叔抓个现行,那就是“3分+罚款”。
5.记2分:告诉你开车注意安全,懂得礼让

6.记1分:重视自己驾车安全,也要注意乘车人的安全
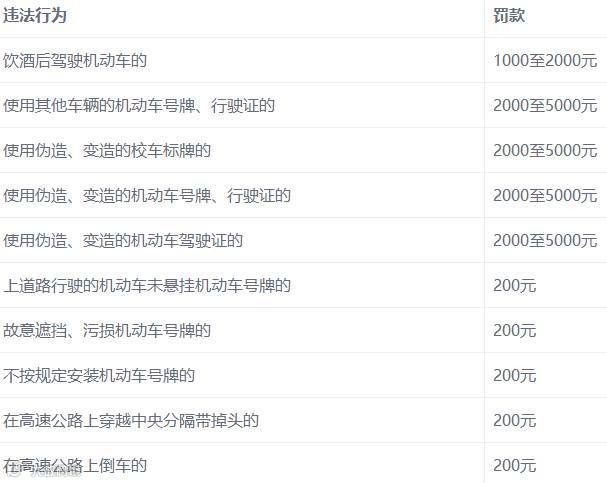
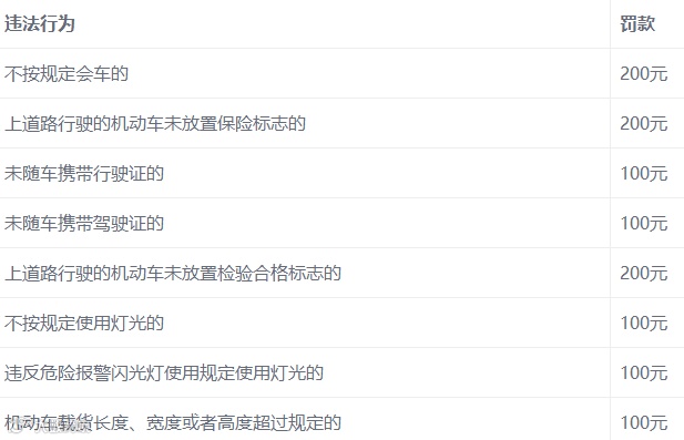
7.不记分,只罚款:肯定是你的错,交钱就是了


看完这些违章处罚条款,知道咱们的交通法律法规制定的还是很严格的吧!这么多的条款,相信看了也是记不住的,所以车主朋友们要是不小心违章了,又不清楚记分罚款情况的,就上畅网驾讯通查询一下吧,订购驾讯通包年/包月服务,小驾还会每周下发一次车牌违章周提示短信,不定时下发重大交通路况/爱车保养等服务短信呦。
最后提醒各位车主朋友们一定要严格遵循交通规则,高高兴兴出门,平平安安回家。

精彩阅读

