搜索
首页
大数快讯
大数活动
服务超市
文章专题
出海平台
流量密码
出海蓝图
产业赛道
物流仓储
跨境支付
选品策略
实操手册
报告
跨企查
百科
导航
知识体系
工具箱
更多
找货源
跨境招聘
DeepSeek
首页
>
【新鼎研究】新三板优质企业之一百六十一——中镁控股
>
0
0
【新鼎研究】新三板优质企业之一百六十一——中镁控股
新鼎资本
2020-08-13
1
辽宁中镁控股股份有限公司
一:公司信息
公司是国内高品质镁质耐火材料、铁基储热新材料、城市清洁能源取暖热力运营提供商。镁质耐火材料领域本公司是非金属矿物制品行业中的细分行业--耐火行业中镁质(碱性)耐火材料的生产提供商。公司拥有面向高温热工窑炉和装备的耐火材料的设计、研发、配置、制造、施工、维护与技术
服务
的生产资质与核心技术,为钢铁、有色、玻璃等行业的生产企业提供高性能耐火材料产品和整体技术支持服务。公司拥有原料加工、制品生产、售后服务的全产业链竞争优势。公司通过直销和整体承包模式开拓业务,直销模式即依据客户需求直接向客户销售耐火材料产品;整体承包模式即依照客户的现场使用情况提供设计、产品配置、施工、技术维护的一站式服务。铁基储能新材料领域在国家“煤改电”政策驱动下,公司率先研制、生产铁基储能新材料——蓄热砖,并投放市场。作为蓄热式电暖气、电锅炉的核心元器件——蓄热砖的提供商,公司目前着力发展此板块业务,产销量增幅较快。公司将产业链向下延伸,顺势布局城市清洁能源取暖热力运营领域,进行清洁能源蓄热机组组装、城市热力运营(供暖),将有效提升环保要求,实现企业效益优化。
二:股东信息
三:行业竞争对手
四:财务信息
客户
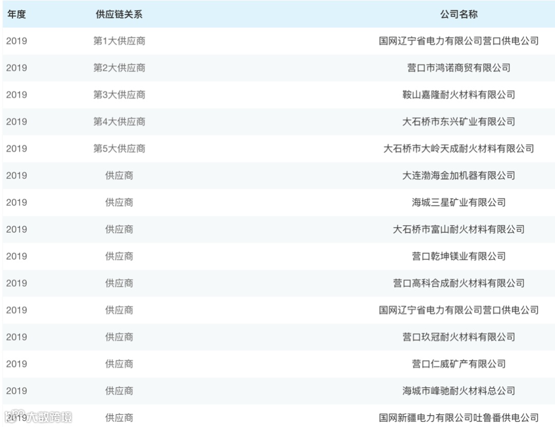
供应商
免责声明:
本研究分析及建议所依据的信息均来源于公开资料,本公司对这些信息的准确性和完整性不作任何保证,也不保证所依据的信息和建议不会发生任何变化。
我们已力求
报告
内容的客观、公正,但文中的观点、结论和建议仅供参考,不构成任何投资建议。
推荐阅读
》》新鼎资本荣获“投中榜2019年度中国最佳私募股权投资机构TOP100
》》
“氢能第一股”亿华通涨162% 燃料电池行业迎来发展机遇?
》》【新鼎观点】新鼎资本董事长张驰:新三板7月1日打新 赚钱效应将会明显
》》【媒体专访】《E见领袖》之对话新鼎资本董事长张驰:相信威马与小鹏能活到竞争最后
》》【已投企业】AI芯片设计第一股寒武纪今天成功登陆科创板
》》【新鼎研究】新三板优质企业之一百六十——宏源药业
》》
【急聘】新鼎资本招聘产品经理助理精英!
新鼎资本简介
北京
新鼎荣盛资本管理有限公司(新鼎资本),成立于2015年,为中国证券投资基金业协会备案的私募股权投资机构。目前管理规模近40亿元,发行备案的私募基金产品51支,投资项目30余个。
新鼎资本聚焦于:芯片半导体,人工智能,生物医药,新能源汽车,四大行业龙头企业,上市前一级市场投资,上市后二级市场退出获取收益。新鼎资本投资案例代表:云从科技(人脸识别国内龙头);影谱科技(人工智能+广告文娱国内龙头);第四范式(机器学习算法国内领先);寒武纪(AI芯片国内龙头);紫光展锐(中国最大的泛芯片设计企业);星环科技(业内第一家将大数据平台完整构建在基于容器的云平台上的企业);灵汐科技(类脑芯片龙头);博奥晶典(中国生物芯片研发、生产知名企业);赛特斯(5G概念龙头股);小鹏汽车(
阿里
巴巴重仓新势力造车);威马汽车(百度重仓新势力造车);阿尔特汽车(300825)(国内汽车设计龙头);亿华通(氢能汽车动力系统龙头);南孚电池(碱性电池龙头);宏济堂(人工麝香垄断);成大生物(人用狂犬病疫苗龙头);泽生科技(心衰药物研发);长风药业(呼吸系统药物研发);东方略(中美新药研发对接平台);祥云股份(磷酸一铵龙头);中建信息(华为重要ICT分销商)。
新鼎资本所获荣誉:2019年度最佳私募股权投资机构TOP100(投资中国);2019年度最佳私募股权投资机构TOP100(
融资
中国);已投企业亿华通荣获投中2019最佳投资案例(投资中国);2019年度优秀机构投资人(财视中国);2019年度新三板砥砺坚守奖(第一财经);2018年度“最佳私募股权投资机构TOP100”(融资中国);2018-2019年度最具LP投资价值GP-私募股权投资机构50强(CLPA );已投企业威马汽车、云从科技荣获投中2018最佳投资案例(投资中国);“最佳信息技术产业投资基金合伙人”(CLPA)等近百项。
【声明】内容源于网络
0
0
新鼎资本
北京新鼎荣盛资本管理有限公司,专注于优质项目私募股权投资。尤其新能源汽车、芯片半导体、人工智能、商业航天以及生物医药等领域。只为优质项目!
内容
5350
粉丝
0
关注
在线咨询
新鼎资本
北京新鼎荣盛资本管理有限公司,专注于优质项目私募股权投资。尤其新能源汽车、芯片半导体、人工智能、商业航天以及生物医药等领域。只为优质项目!
总阅读
2.8k
粉丝
0
内容
5.3k
在线咨询
关注