搜索
首页
大数快讯
大数活动
服务超市
文章专题
出海平台
流量密码
出海蓝图
产业赛道
物流仓储
跨境支付
选品策略
实操手册
报告
跨企查
百科
导航
知识体系
工具箱
更多
找货源
跨境招聘
DeepSeek
首页
>
【关注】首次公开!华为芯片堆叠技术来了
>
0
0
【关注】首次公开!华为芯片堆叠技术来了
新鼎资本
2022-04-22
0
近日,华为公司首次公开了一项涉及芯片堆叠技术的发明
专利
。
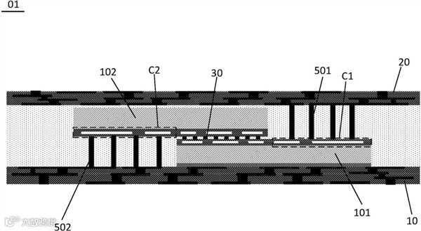
图:
芯片堆叠技术专利
近日,根据国家知识产权局官网公开的信息,HW公司公开了一种芯片堆叠封装及终端设备专利,专利摘要显示,该专利是
一种半导体封装技术
,其能够在保证供电需求的同时,解决因采用
硅通孔技术而导致的成本高
的问题。
媒体曾报道
海思升为一级部门,郭平:用堆叠、面积换性能
,在被工艺制造困扰已久的芯片领域,HW在2022年做出了
两个关键而影响深远的决定
。
一是
提升海思在内部架构中的地位(二级变为一级)
,变相回应了外界对海思前景的担忧,作为
中国大陆IC设计的一面旗帜
,海思将再次在熟悉的逆境中厚积薄发。
二是首次公开宣布
将芯片堆叠技术作为发展路径
,用堆叠、面积换性能是当前既合理又务实的选择,这一点同中芯国际类似,而在此之前HW作了为数不少的
相关技术储备
。
图:
芯片堆叠依赖封装技术
实际上,芯片大师曾多次报道,HW公司近年来已经在陆续布局
非先进工艺芯片(IGBT、车载摄像头和驱动IC等)和外围封装制造
。
有了解情况的人士就曾透露,此前HW对外公开的芯片技术专利,和此前曝光的
“双芯叠加”技术(即芯片堆叠技术)
相关,包含了
3D封装、异构
等等都在这个专利范围之内。
图:3D封装中的芯片堆叠
2021年12月,HW公司还投资6亿元成立了一家电子制造的全资子公司,工商信息显示,该企业名为HW精密制造有限公司,经营范围为
光通信设备制造,光电子器件制造,电子元器件制造和半导体分立器件制造
。
当时就有HW内部人士称,该公司具备
一定规模的量产和小批量试制(能力)
,但主要用于满足自有产品的系统集成需求。“
不生产芯片
,主要是部分
核心器件、模组、部件的精密制造
。”
同时,经营范围中提及的“半导体分立器件“主要是
分立器件的封装、测试
。如此来看,HW内部对芯片堆叠路线早有清晰的规划,同时已经投入制造环节。
来源:芯片大师
往期推荐
新鼎资本简介
北京
新鼎荣盛资本管理有限公司(新鼎资本),成立于2015年,为中国证券投资基金业协会备案的私募股权投资机构。目前管理规模80多亿元,发行备案的私募基金产品100余支,投资项目60余个。
新鼎资本聚焦于:芯片半导体,人工智能,生物医药,新能源汽车,商业航天五大行业龙头企业,上市前一级市场投资,上市后二级市场退出获取收益。
新鼎资本投资案例代表:寒武纪(688256)(AI芯片国内龙头);小鹏汽车(XPEV)(
阿里
巴巴重仓新势力造车);阿尔特汽车(300825)(国内汽车设计龙头);亿华通(688339)(氢能汽车动力系统龙头);云从科技(人脸识别国内龙头);影谱科技(人工智能+广告文娱国内龙头);第四范式(机器学习算法国内领先);
燧原科技(专注人工智能领域云端算力平台);
海光信息(国产CPU核心);屹唐半导体(中国半导体装备产业的龙头企业);紫光展锐(中国最大的泛芯片设计企业);集创北方(国内显示芯片龙头企业);京微齐力(北京唯一一家FPGA芯片企业);
泰科天润(新材料半导体龙头企业)
;
西人马(专注于芯片的IDM企业);
星环科技(业内第一家将大数据平台完整构建在基于容器的云平台上的企业);灵汐科技(类脑芯片龙头);博奥晶典(中国生物芯片研发、生产知名企业);福昕软件(688095)(国内PDF领域龙头企业);浪潮云(政务云领域的龙头企业);地平线(中国领先的人工智能芯片设计商);智行者科技(国内无人车产业龙头企业);希迪智驾(自动驾驶龙头及路端设备设计企业);氢璞创能(国内电堆领域龙头企业);泽景电子(国产HUD头部企业);赛特斯(5G概念龙头股);威马汽车(百度重仓新势力造车);南孚电池(碱性电池龙头);宏济堂(人工麝香垄断);成大生物(688739)(人用狂犬病疫苗龙头);泽生科技(心衰药物研发);长风药业(呼吸系统药物研发);东方略(中美新药研发对接平台);祥云股份(磷酸一铵龙头);中建信息(华为重要ICT分销商)等。
新鼎资本所获荣誉:2021“最受LP关注新一代信息技术领域投资机构TOP20”(母基金周刊);
2021
中国最佳私募股权投资机构TOP100(
融资
中国);
中国半导体投资机构TOP100(中国半导体投资联盟)、最佳投资机构榜单(中国半导体投资联盟);
2021GPLP最具创新投资机TOP10(犀牛财经);
2021年中国最受创业者欢迎私募股权投资机构TOP50(36氪);2021年中国芯片/半导体领域投资机构TOP20(36氪);
2020年度最佳私募股权投资机构TOP100(投资中国);
2020
中国最佳私募
股权投资机构Top100(融资中国);
IPO最佳投资机构TOP100(IPO早知道);
中国半导体投资机构TOP100(中国半导体投资联盟);
2020年度中国电动汽车最佳投资机构TOP30(电车人);
2020中国投资机构软实力GP100(母基金周刊);
2019年度最佳私募股权投资机构TOP100(投资中国);
2019年度最佳私募股权投资机构TOP100(融资中国);
已投企业亿华通荣获投中2019最佳投资案例(投资中国);
2019年度优秀机构投资人(财视中国);
2019年度新三板砥砺坚守奖(第一财经);
2018年度“最佳私募股权投资机构TOP100”(融资中国);
2018-2019年度最具LP投资价值GP-私募股权投资机构50强(CLPA );
已投企业威马汽车、云从科技荣获投中2018最佳投资案例(投资中国);
“最佳信息技术产业投资基金合伙人”(CLPA)等近百项。
本信息仅供参考,不构成对任何人的投资建议。市场有风险,投资需谨慎。
【声明】内容源于网络
0
0
新鼎资本
北京新鼎荣盛资本管理有限公司,专注于优质项目私募股权投资。尤其新能源汽车、芯片半导体、人工智能、商业航天以及生物医药等领域。只为优质项目!
内容
4048
粉丝
0
关注
在线咨询
新鼎资本
北京新鼎荣盛资本管理有限公司,专注于优质项目私募股权投资。尤其新能源汽车、芯片半导体、人工智能、商业航天以及生物医药等领域。只为优质项目!
总阅读
35
粉丝
0
内容
4.0k
在线咨询
关注