搜索
首页
大数快讯
大数活动
服务超市
文章专题
出海平台
流量密码
出海蓝图
产业赛道
物流仓储
跨境支付
选品策略
实操手册
报告
跨企查
百科
导航
知识体系
工具箱
更多
找货源
跨境招聘
DeepSeek
首页
>
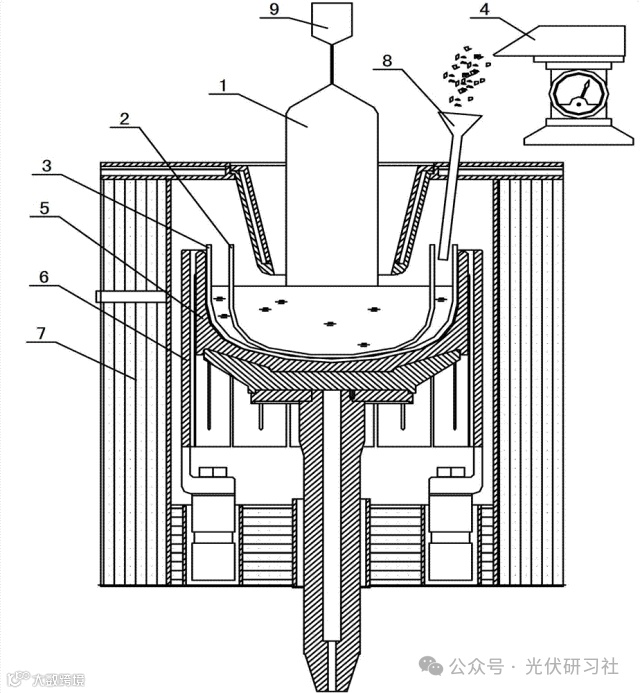
17页PPT | 加料工序介绍及不同加料装置对比
>
0
0
17页PPT | 加料工序介绍及不同加料装置对比
光伏研习社
2024-05-06
2
导读:材料+能源领域一站式服务平台
获取原文,公众号后台回复07,添加管理员
获取原文,公众号后台回复07,添加管理员
【声明】内容源于网络
0
0
光伏研习社
光伏研习社是一个光伏互联网服务平台,立足互联网,依托大数据,致力于光伏产业的资源融合、产业互连和行业服务。
内容
1434
粉丝
0
关注
在线咨询
光伏研习社
光伏研习社是一个光伏互联网服务平台,立足互联网,依托大数据,致力于光伏产业的资源融合、产业互连和行业服务。
总阅读
990
粉丝
0
内容
1.4k
在线咨询
关注