搜索
首页
大数快讯
大数活动
服务超市
文章专题
出海平台
流量密码
出海蓝图
产业赛道
物流仓储
跨境支付
选品策略
实操手册
报告
跨企查
百科
导航
知识体系
工具箱
更多
找货源
跨境招聘
DeepSeek
首页
>
与天然石英晶格相同:合成石英专利新突破!
>
0
0
与天然石英晶格相同:合成石英专利新突破!
光伏研习社
2024-07-15
1
目前
高纯石英砂
主要通过天然石英矿石提纯得到,提纯工艺与高品质矿源与当前高纯石英砂的产量密切相关。然而,高纯石英砂产业主要被拥有高品质高纯石英原料矿的海外企业垄断。随着全球范围内天然水晶和高品质石英矿脉的逐渐枯竭,化学合成石英砂的工艺逐渐得到重视和研究。
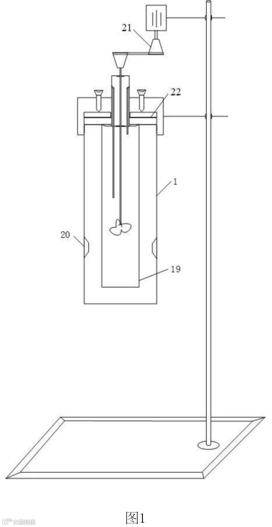
一种递次在线补给高纯二氧化硅结晶体合成方法中所述水热反应釜示意图
近日,
中触媒新材料股份有限公司申请一项名为“
一种递次在线补给高纯二氧化硅结晶体合成方法
”
专利
,公开号CN202410481244.X,申请日期为2024年4月。
该发明公开一种递次在线补给高纯二氧化硅结晶体合成方法
,以水玻璃为原料,添加
促进剂
,采用在线递次补给水热晶化合成工艺,涉及的工艺简单,反应条件相对温和,易控制,不引入新的杂质,同时有利于晶体的缓慢定向生长。
另外,
该发明
所得到的高纯二氧化硅晶体与天然石英具有相同晶格
,为石英晶体型,不需要粉碎,
可以有效解决以有机硅醇盐等原料合成非晶体,易残留碳,导致包覆气泡体高、羟基高等问题,在一定程度上,可以缓解天然石英矿短缺现状,可应用于工业扩大规模量产。
石英砂原矿属
非再生资源
,目前高品质矿产资源日益匮乏,依靠进口高纯砂来弥补国内的短板不是长久之计。据了解,当前已有不少企业将目光转向合成石英砂,提前布局、拓展人工合成石英砂领域。江瀚新材、凯盛科技、仕净科技、
三丰智能
、江苏晶芯源新材料、江苏德鑫科技、壹石通等在高纯合成石英砂领域都有所布局,另外,高纯石英龙头企业石英股份也表示目前公司储备有合成石英砂相关技术。
【声明】内容源于网络
0
0
光伏研习社
光伏研习社是一个光伏互联网服务平台,立足互联网,依托大数据,致力于光伏产业的资源融合、产业互连和行业服务。
内容
1434
粉丝
0
关注
在线咨询
光伏研习社
光伏研习社是一个光伏互联网服务平台,立足互联网,依托大数据,致力于光伏产业的资源融合、产业互连和行业服务。
总阅读
936
粉丝
0
内容
1.4k
在线咨询
关注