


近日,太一光伏科技(常州)有限公司、南阳德才光伏发电有限公司3家光伏企业被申请破产。
4月2日,昆山天洋新材料有限公司向江苏常州市金坛区人民法院申请太一光伏科技(常州)有限公司(以下简称“太一光伏”)破产一事被公开,案号为(2025)苏0413破16号。
资料显示,太一光伏科技(常州)有限公司成立于2020年,注册资本为38,800万,该公司专注于太阳能光伏产品的研发、生产和销售。
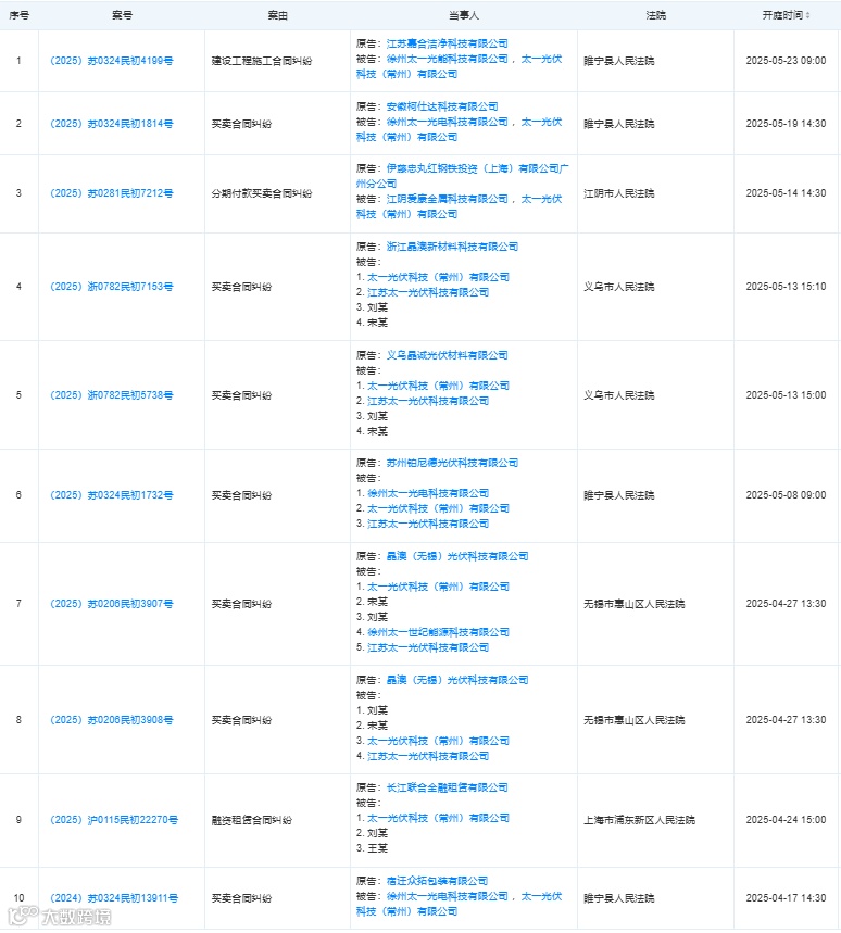
据悉,2025年开年以来,太一光伏深陷诉讼漩涡。以开庭时间为准,自2025年1月-5月太一光伏共涉诉46起案件。其中太一光伏作为被告的案件共有45起,案由多为买卖合同纠纷。
4月8日,华融金融租赁股份有限公司向河南方城县人民法院申请南阳德才光伏发电有限公司(以下简称“德才光伏”)破产一事被公开,案号为(2025)豫1322破申1号。
资料显示,南阳德才光伏发电有限公司成立于2015年,注册资本为1000万人民币,法人代表为张桂勤,该公司业务涵盖太阳能发电,以自有资金对光伏电站项目投资、建设、运营、技术咨询服务。
2024年7月3日,该公司被浙江省杭州市中级人民法院列为被执行人,案号为(2024)浙01执1166号,执行标的120,198,608.0元。

