
关注芯板坊微信公众号
后台回复“开发板”
免费领取热门开发板
微软上月发布Azure Sphere解决方案,目的是提供一个完整的安全的物联网解决方案,从硬件到云,有三个主要组成部分:安全的MCU、基于Linux的Azure Sphere OS和Azure Sphere Security(Cloud)服务器。
该公司已经表:联发科MT3620将是第一个Azure Sphere兼容单片机,今天Seed工作室已经宣布MT3620 Azure Sphere开发板预售价位84.90美元,预订定金为5美元,运输安排在9月底。

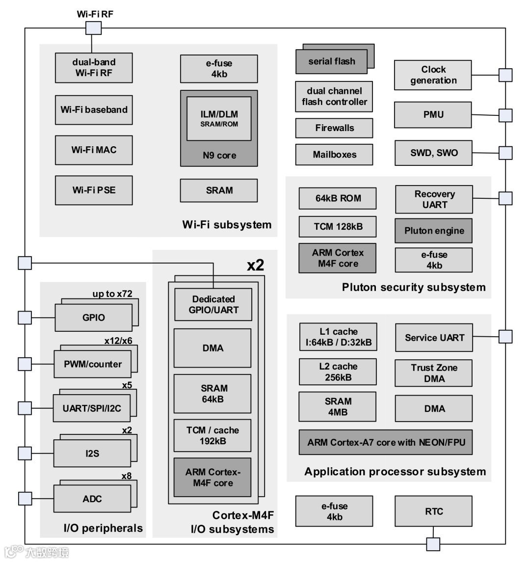
WiSoC – 联发科MT3620AN 单核心 ARM Cortex-A7 处理器,运行频率高达500MHz,双核心ARM Cortex-M4F 实时内核, Pluton 安全子系统和 WiFi。
系统内存—超过5MB的嵌入式RAM, 分散在不同的核心 (4MB for Arm Cortex A7 内核)
存储—2 x 8MB双通道quad SPI(一共16MB)
连接—双波段802.11 a/b/g/n WiFi 1T1R主要和辅助PCB天线,和两个u.FL连接
USB—1 x MicroUSB可编程接(FTDI FT4232HQ 高速 Quad USB UART IC)
扩展—2 x 14pin排针 + 2 x 12pin 排针的I/O口 (ADC, GPIO, I2C, I2S, PWM, SPI, UART)
其他– RTC电池座,2x用户按键,reset按键,4x 用户LEDs,4x 状态LED(power, wifi, etc…), 3x 高精度 ADC VREF校准,3.3V供电隔离和RTC 3.3V供电
电源供电—5V MicroUSB电源供电
尺寸—TBD

尽管只有4MB RAM可用于Cortex-A7内核,微软真的尽可能精简Linux内核。通常可供参考的OpenWrt通常需要至少16MB RAM运行正常。
你需要一个最新的Windows 10 PC系统来使用MT3620 Azure Sphere开发板,以及后期的基于Azure的Visual Studio工具也可以用于MT3620 Azure Sphere开发板,其中包括应用程序模板,开发工具和Azure Sphere软件开发工具包(SDK)。
在这个阶段,文档是有限的,但你会发现联发科MT3620产品/产品页面上的数据表。

现在开发板需要5美元的预定金,一旦开发板准备发货,你可以发送电子邮件和更多的细节来完成订单。还应该指出的是,一些国家/地区被排除在外:叙利亚、朝鲜、苏丹、古巴、伊朗,科索沃,中非共和国,赤道,克里米亚,和中国。
「热门开发板免费申请」
回复“树莓派”免费申请树莓派3B+开发板;
回复“正点原子”免费申请正点原子STM32F767开发板;
回复“3328”免费申请ROC-RK3328-CC;


