01 税务稽查局势大变
✅技术升级:“智慧税务”系统通过大数据自动识别风险,全面覆盖大、中、小微企业;
✅稽查方式变革:从“人查”到“系统查”,从“随机抽查”变成“精准打击”;
✅监管持续收紧:国家对税收合规提出更高要求,重点监控隐匿收入、私户收款等行为。
也就是说,企业规模小不再是“护身”符!
02 税局重点关注的问题
税局的风险筛查系统会根据企业的申报数据、发票行为、行业对比等因素,自动打分、预警。以下几类情况,非常容易被“盯上”:
收入或利润波动异常
第一年收入100万,第二年却只剩下10万元?连续几年呈亏损状态却不关门?这类行为容易被怀疑存在虚报、隐瞒收入或虚增成本的行为。
发票异常
例如开票金额远高于收入、开票频率异常集中、向非正常企业频繁开票、虚开发票套现等等问题将被税局高度关注。因为发票行为是税局重点监控的指标,一旦出现异常,系统会自动预警。
税负率异常
同行业平均税负5%,你公司只有1%?明明有实际经营与业务往来但长期零申报?小心,只要税负率过低或申报异常,都会被系统标记风险。
资金流与账面数据不符
像银行流水远高于申报收入、员工工资支出与社保缴纳不匹配此类,都可能成为“查账”的突破口!
上游牵连
这是小公司被稽查常见的原因之一。如果上游企业出了问题,比如虚开发票、偷税漏税、走逃失联等,税务机关在调查时,通常会对上下游企业进行协查。
03 小企业稽查流程看这里!
第一阶段:大数据预警
系统自动识别异常→推送风险提示至电子税务局→要求企业自查并反馈;
第二阶段:税务约谈
未及时处理预警→税局约谈企业法人/财务→要求说明情况并补缴税款;
第三阶段:全面稽查
若仍存在重大异常→调取账簿、凭证、银行流水→追缴税款、滞纳金并处罚款。
作为财务人员,除了自身工作中保有职业操守,还可借助智能工具帮助自己事半功倍!!
用诺企安一键检测税务风险
提前排查,安心经营
诺企安是一款帮助企业快速识别和应对税务风险的智能风险检测产品。该产品基于企业授权,自动获取企业财务、税务、发票、工商等多维数据,建立百余个财税风控模型,提示企业已知的和潜在的“票、财、税”等多方面风险问题以及相关政策法规、应对建议,通过预警提示和全面检测报告来帮助企业及时应对风险,提高业务合规性。
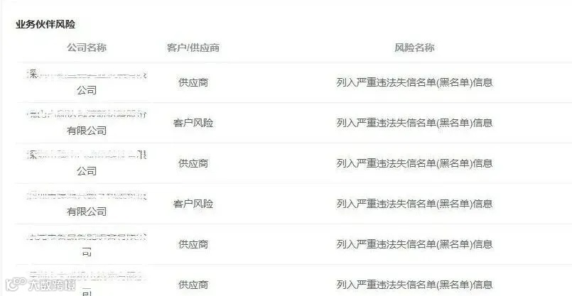
风险监测内容含业务伙伴风险提示,及时推送企业主要关联方风险,包括行政处罚信息、列入经营异常名录信息、严重违法失信名单等,协助企业提前做好应对。
✅自动检测:通过自动数据采集和检测,及时发现财税风险事件。
✅及时反馈:及时推送风险检测结果,助力企业快速做出反应,提出应对措施。
✅全面解读:从风险描述、政策法规、应对建议、相关图表等方面,系统直观展示所涉税务风险,帮助企业更好理解和应对风险。
✅数据安全:采用先进的数据安全和隐私保护技术,有效保护企业数据安全和隐私。
✅使用便捷:支持PC端和手机端访问,方便客户随时随地检测企业潜在风险。
✅灵活部署:支持独立运行或与其他产品集成。
风险不会因为忽视而消失
反而会因拖延而扩大!
有疑问?广东航信来帮您!
01
财税人的GPT已上线!
免费的“专家咨询”7*24小时随时用
02
人工客服在线为您服务!
关注“广东航信服务号”立刻咨询
广东航信服务号菜单栏,选择【服务优享】-【人工客服】
即可向客服咨询您的疑问!
注:部分图文来源于网络,如有侵权,请联系删除


