
导 读
寒武纪“闪电”入场科创板!
作为国内人工智能行业中的明星企业,寒武纪登陆资本市场的一举一动备受瞩目。自3月26日申请科创板获得受理,经过两轮问询后,科创板上市委2020年第33次审议会议结果显示,同意中科寒武纪科技股份有限公司(以下简称“寒武纪”)发行上市(首发)。
在2020年已成功上会的45家企业中,寒武纪以68天的时间,刷新了科创板审核速度记录。寒武纪此次发行拟募集资金28.01亿元。其中9亿元用于补充流动资金,19亿元用于新一代云端训练芯片、推理芯片、边缘人工智能芯片及系统项目。
在寒武纪进行科创板IPO“闯关”成功的前一天,芯片巨头中芯国际科创板上市申请刚获受理。
“中芯国际的回归,或将引领港股优质芯片企业回归A股风潮,此外,在集成电路等科技类股的行业景气度、估值定价等方面,中芯国际会成为一个重要参照物。”某券商高管告诉融中财经。
在全球产业环境诡谲多变,国际关系微妙敏感的时刻,这是否意味着中国资本市场要大力投资芯片、半导体行业?这一行业能否实现“破局”?
人工智能行业概念火爆,市场发展空间巨大,但盈利难始终是芯片行业的一个普遍现象。
据招股书显示,寒武纪在2017年至2019年的营业收入分别为784.33万元、1.17亿元、4.44亿元,净利润分别为-3.81亿元、-4104.65万元、-11.79亿元,3年连续亏损超过16亿元。
2020年一季度寒武纪实现净利润约为-1.08亿元,同比下滑2270.65%。上半年预计净利润同比下降。对此,寒武纪表示除却新冠肺炎疫情的因素外,从华为海思取得的终端智能处理器IP授权业务收入同比大幅下降是导致净利下滑的一个重要因素。
不过,寒武纪仍有信心预计2020年全年营收会大幅增长至6亿元至9亿元。以此收入进行预测,保荐机构中信证券给到寒武纪192亿至342亿元的估值。
寒武纪创始人陈云霁和陈天石均是从中科大少年班毕业的少年天才,博士在中科院计算所深造。陈云霁在25岁时,便成为8核龙芯3号的主任架构师, 29岁跻身中科院研究员之列。陈天石31岁研发出首款人工智能芯片,如今在AI芯片研究领域已具备一定影响力。因为两人皆出于中科院背景,寒武纪一度被认为是打着“中科院系”标签的AI独角兽。
2016年3月,寒武纪成立。陈云霁和陈天石发挥各自优势,进行了明确分工。陈云霁专注科研,担任首席科学家。陈天石则以寒武纪CEO的身份管理公司运营与对外事务。
寒武纪重视技术研究。在2017 年和2018 年,公司研发费用分别为2,986.19万元、24,011.18 万元。在2019年,这一费用提高至54,304.54 万元。截至2019年年末,公司研发人员占员工总数比例高达79.25%,将近700人。
寒武纪的主要产品为终端智能处理器IP、云端智能芯片及加速卡、边缘智能芯片及加速卡以及与上述产品配套的基础系统软件平台。产品的优质及高壁垒促成了寒武纪和华为的合作,这也使寒武纪站在了一个高起点。
华为麒麟970芯片中的1A 处理器、华为 Mate20 手机搭载的麒麟 980 芯片中双核 NPU都出自寒武纪之手。可以说,在华为“全球首款集成 AI 处理器的手机芯片”的名头以及华为 Mate20的强大功能下,寒武纪的芯片在其中发挥了核心作用。
在双方合作的过程中,华为海思为寒武纪带来了主要产品的销售收入。在2017年、2018年,华为为寒武纪的IP授权收入贡献了其中的98%和97%。
然而,随着“华为逐步意识到智能处理器相关技术的重要性,选择对于该等产品和技术进行自主研发”后,华为与寒武纪的合作也戛然而止。
2019年,在寒武纪4.4亿元的年收入中,曾依靠华为“大单”的终端智能处理器IP业务所带来的收入,仅占2019年收入的15%。对此,寒武纪在回答上交所问询时表示,“除已达成的合作外,华为未再继续采购寒武纪终端智能处理器IP产品。”
预计2020年终端智能处理器IP业务收入仍将下滑,届时,对于寒武纪来说,将面对一场新的考验。不过,离开华为后的寒武纪依旧有“大单”为其提供营收。
招股书显示,寒武纪目前的第一、第二大客户均为政府。在2019年的收入中,有80%的比例来源于两个政府IDC项目。据寒武纪的营收情况,依旧存在客户集中度明显过高的现象。只不过从之前的高度依赖单一客户华为,转为高度 TO G。
离开华为后,中科院成为寒武纪傍身的另一颗“大树”。
据天眼查显示,陈天石为寒武纪大股东,持股33.19%。北京中科算源资产管理有限公司持股18.24%,为寒武纪第二大股东。北京中科算源资产管理有限公司为中国科学院计算技术研究所100%控股。
中科院和珠海横琴新区管委会签订合作协议后,横琴先进智能计算中心项目成为寒武纪在2019年的主要营收来源之一。除此之外,西安市西咸新区沣东人工智能计算创新中心的项目也在2019年为寒武纪贡献了8108万元收入。
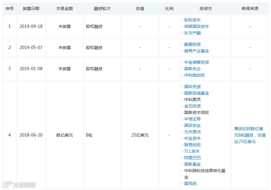
注:寒武纪融资历程,数据来源天眼查
作为资金密集型产业,芯片企业的发展离不开资本的助力。中科系背景,早期与华为合作的高起点,强大的技术壁垒,使寒武纪一路走来备受资本青睐。从2016年至今,寒武纪已完成六轮投资,估值也随之水涨船高。
在寒武纪投资方阵营中,国科投资、国风投、国新央企、招商银行等 “国字号”占了很大比例。另外,科大讯飞、阿里巴巴、联想创投等产业基金也位列其中。随着寒武纪登陆科创板,相信这些投资方也将获得不匪的收益。
在寒武纪成功过会的前一天,国内晶圆代工龙头中芯国际的科创板上市申请也获得上交所受理,芯片巨头踏上火速回归科创板征程。
据悉,此次中芯国际拟募资200亿元。募资用途为“在扣除发行费用后,拟40%(80亿元)用于12英寸芯片SNI项目、20%(40亿元)用于公司先进及成熟工艺研发项目储备资金、40%(80亿元)用于补充流动资金。”
对于中芯国际的估值,业内人士多数看好,“从目前情况看,科创板估值高于整个A股,A股估值高于港股,和同类企业相比,中芯国际的稀缺性,决定了它应享有高估值。”
在中美贸易摩擦的大背景下,中芯国际的回归意味深长。
对于国内投资者来说,可以享受科创企业的发展红利。对于整个芯片板块乃至相关产业链来说,这无疑是重大利好。在中芯国际一季报飘红、获得国家大基金百亿注资之后,二级市场半导体板块及相关产业链公司皆出现不同程度的上涨。在中芯国际宣布回归的次日,科创板集成电路板块一片飘红。
“中芯国际的回归,或将引领港股优质芯片企业回归A股风潮,此外,在集成电路等科技类股的行业景气度、估值定价等方面,中芯国际会成为一个重要参照物。”某券商高管告诉融中财经。
然而,不确定性风险依旧存在。“若干自美国进口的半导体设备与技术,在获得美国商务部行政许可之前,可能无法用于为若干客户的产品进行生产制造。上述修订的规则中,仍然有许多不确定的法律概念,其具体影响的程度,目前尚未能准确评估。”中芯国际在招股书中揭示了中美贸易摩擦不确定性等相关风险。
全球产业环境诡谲多变,国家之间的关系微妙敏感。寒武纪成功过会科创板,中芯国际回归A股,是否意味着中国资本市场要大力投资芯片、半导体行业?这一行业将实现“破局”?
随着全球5G 产业的高速发展,芯片、半导体将进入“快车道”。据艾瑞咨询预计,2022年,AI芯片的市场空间有望超过500亿美元。至2025年,增长有望达到10倍。市场广阔,企业需要抓住时代机遇。
不可否认的是,在芯片、半导体领域,我们的国产化能力与国际顶尖技术水平存在一定差距,高端专业技术人才不足、资金实力不足等行业难题存在已久。但国产替代的过程需要时间,产业发展的规律需要遵守。
无论是寒武纪登陆科创板,还是中芯国际回归A股,对于上下游产业链的发展以及提升整体国产化能力,都起到一定的正向促进作用。优质项目的上市,也将极大提高资本参与的积极性。
从资本市场的角度看,在复旦张江发行定价过程中采取的“累计投标询价”、接受港股上市的中芯国际回归、寒武纪68天的“闪电”审核速度……种种创新表现,无不突出了上交所秉承的“突出市场导向,提升服务能力,优化审核方式,提高信披质量,稳定市场预期,保障常态供给”的原则。
在上交所的另一端,申报科创板的企业源源不断,优质项目的持续输入,将极大丰富科创板的项目储备。当市场供需趋于平衡,会从很大程度上改善之前企业估值偏高等不合理现象。
日臻完善的科创板正张开双臂拥抱芯片企业。
END
媒体合作:010-84464881
GP观察
华平投资 | 高瓴资本 | 百度投资|CMC资本 | 博裕资本
创璟资本| 高榕资本 | 澳银资本 | 景林资产 | 凯联资本
盛世投资 | 顺为资本 | 一村资本 | 腾讯投资 | 毅达资本
元明资本 | 远洋资本|盈科资本 | 雷石投资 | 远翼投资
启赋资本 | 温氏投资 | 曦域资本 | 华盖资本 | 华兴资本
达晨财智| 红杉中国 | 同创伟业 | 厚德前海 | 首钢基金
中望软件 | 亿纬锂能 | 康希诺 | 爱尔眼科 | 新瑞鹏
尚品宅配 | 和而泰 | 佛朗斯叉车 | 掌门教育 | 数联铭品
宁德时代 | 三角兽 | 娱人制造 | 云从科技 | 交控科技
笑果文化 | 沃尔德 | 声智科技 | 三只松鼠 | 车通云 | 思必驰
碧桂园 | 富时罗素 | 天风天睿 | 旷视科技 | 瑞幸咖啡
企业观察
世和基因 | 数澜科技 | 凯联医疗 | 天广实 | 臻格生物



