
奈雪的茶不仅是田野股份最大的客户,也是其第四大股东
本文共3553字,约5分钟
作者 | 阿布 编辑 | 吾人
来源 | 融中财经
(ID:thecapital)
去年11月,奈雪的茶参与了新三板项目田野创新股份有限公司(以下简称“田野股份”)的定增,如今这个项目即将登陆北交所。
6月15日,田野股份正式向北交所递交申报稿,计划在北交所挂牌上市。出现在田野股份上一轮定增名单中的,除了奈雪的茶,还有另一家茶企沪上阿姨。根据公告显示,奈雪的茶以3864万元,认购了1200万股,而沪上阿姨以322万元,认购了100万股。
值得一提的是,根据田野股份2021年报显示,奈雪的茶是其第一大客户。
在消费品牌挣扎于疫情困扰时,供应商们开启新一轮上市潮。比如,喜茶、瑞幸包装材料供应商合肥恒鑫,肯德基、麦当劳、星巴克的调味料供应商宝立食品,皆在今年提交了上市申请。
作为品牌方,投资自己的供应商,或许也是降低成本、延伸自身产业链的一个趋势。
01
奈雪的茶投资了自己的供应商
2015年,田野股份在新三板挂牌上市,7年过去,田野股份开始冲击北交所。
官网显示,田野股份是一家集果蔬种植、制品加工、销售为一体的大型农业产业化集团企业,旗下有海南达川食品有限公司、广西田野创新农业科技有限公司、攀枝花田野创新农业科技有限公司、湖北田野农谷生物科技有限公司等四家全资子公司。
田野股份目前拥有芒果、菠萝、荔枝等四十多种果蔬产品配方和工艺,主营产品为原料果汁、速冻果块、鲜果等。其中,原料果汁包括冷冻芒果原浆、冷冻西番莲原浆、冷冻菠萝蜜原浆、冷冻水蜜桃原浆等。
招股书显示,田野股份2021年前五大客户分别为奈雪的茶、茶百道、农夫山泉、一点点、沪上阿姨,此前,还是可口可乐、CoCo奶茶的供应商。
数据来源:天眼查
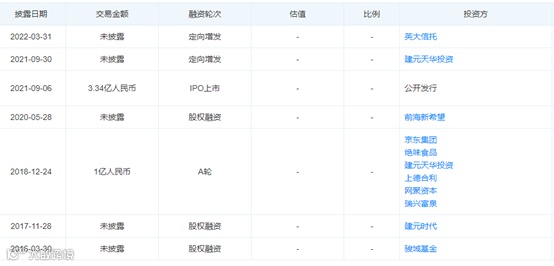
根据天眼查信息显示,田野股份共进行了2轮融资,投资方包括秋银投资、全立方投资、方富资本等。
在完成新三板挂牌后,田野股份曾在次年就IPO事项申请上市辅导,不过2019年,田野股份因公司战略发展需要,拟调整公司上市计划,经与华龙证券协商一致,双方签署了《关于终止的协议》,并向广西证监局报送终止上市辅导的备案材料。
而值得注意的是,根据这一年发布的2018业绩报告显示,田野股份全年归属于挂牌公司股东的净利润比上年(2017年)同期42,082,668.58元下降43.11%,基本每股收益比2017年同期(0.18)元下降43.11%。
数据来源:招股书
在终止上市后,欣融国际接盘了方富资本约11.72%股权。田野股份开始在市场上寻求融资。这一时期,随着新式茶饮企业的崛起,包括奈雪的茶、茶百道、一点点、沪上阿姨、农夫山泉、可口可乐开始成为田野股份的大客户。
招股书显示,从2019年-2021年,田野股份的营收分别为2.9亿元、2.66亿元和4.59亿元,同期的净利润则分别为2432万元、2100万元、6518万元。到了2021年,奈雪的茶带来的营收占比已经达到了20.04%,而沪上阿姨营收占比为10.49%。
为了强化了与供应商的利益关系,奈雪的茶在投出了自己上市后的首笔投资,项目正是自己的供应商——田野股份。招股书显示,本次发行前,奈雪的茶持股比例为4.44%,为田野股份的第四大股东。
值得注意的是,此次增资过程中,田野股份也签订了对赌协议。公司实际控制人之一姚玖志与以上8名认购者签订了《股票认购协议》的补充协议,其中田野股份承诺在2024年12月底之前完成上市,如果在规定时间内未完成上市,就需要回购定向增发的股票。
在这轮定增后,田野股份曾于曾拟于深交所IPO,但在今年3月,田野股份董事会通过议案,终止申请在深交所主板上市的相关工作,改道北交所。
02
茶饮企业杀入创投圈,买买买停不下来
3月28日,奈雪的茶成立深圳市美好自有力量投资有限公司,其主要经营范围为创业投资,注册资本1000万元。
而一旦田野股份完成A股上市,也意味着奈雪的茶上市后投出的首个项目精准击中IPO。
追溯茶饮项目迈入投资领域,喜茶可能是最早开创投资先河的企业之一。先后投资了咖啡品牌Seesaw、燕麦奶品牌YePlant,茶饮品牌“和気桃桃”,以及预调酒饮品牌WAT鸡尾酒、控股了主打分子果子饮品的果汁品牌野萃山、少数派咖啡……
在投资上,喜茶买买买之路,停不下来。
除此之外,其他的茶饮品牌也没闲着。除了奈雪的茶设立美好自有力量进行投资,蜜雪冰城成立了雪王投资有限公司,投资了广东新茶饮品牌汇茶。而今年,蜜雪冰城的投资步伐从“喝的”转向了“吃的”,4月投资了主打韩式炸鸡和各类韩餐的连锁餐饮品“鸡装箱”。
除此之外,古茗奶茶在去年12月也参与了乳业新品牌认养一头牛B轮融资书,亦烧仙草战略投资长沙连锁咖啡品牌DOC咖啡,占股23.5%。
茶饮品牌缘何爱上投资?
茶饮市场正逐渐进入成熟期,茶饮品牌通过投资并购企业,进而补足短板,以期自己能够在激烈的茶饮市场屹立长久。
易观分析品牌零售行业分析师李心怡曾表示,新消费品牌做CVC主要有三种目的:
一是强化对产业链上下游的控制力度;
二是拓展品类,在主营业务基础上寻找增量,同时提前布局也可分散一定的风险,比如喜茶投资野萃山、茶颜悦色投资果呀呀;
三是支撑估值或市值,部分赛道过热造成了一些品牌估值较高,通过投资已经过市场验证、已成型的品牌,可以让新消费CVC们以更轻松、更快的方式找到支撑估值的机会。
今年以来,疫情反复,让一直持续开店的茶饮品牌受到很大的影响,通过投资找到第二增长曲线,可能是现在最好的抵抗风险之术。
不过,投资效果如何?还需要时间去验证。
03
供应商迎来上市潮
田野股份,并非是茶饮品牌缔造的首个供应商IPO项目。
在此之前,喜茶、瑞幸咖啡、Manner咖啡、Coco都可茶饮、益禾堂的包装材料供应商合肥恒鑫提交了创业板上市申请。
恒鑫生活是一家从事纸制与塑料餐饮具研发、生产和销售的企业,产品覆盖快餐、外卖、饮品等餐饮行业。招股书显示,星巴克、喜茶、蜜雪冰城、Manner咖啡、Coco都可茶饮、益禾堂、古茗等在当下年轻人群中流行的咖啡茶饮品牌,他们用的纸杯和塑料杯大部分来自恒鑫生活。
这家成立于1997年的老牌企业,在融资方面并不活跃,招股书显示,樊砚茹、严德平、严书景为公司控股股东、实际控制人。其中,樊砚茹与严德平系夫妻关系,严书景系樊砚茹、严德平之女,一家三口合计控制持有公司88.52%的股份。
最近一年内,恒鑫生活曾新引进了三名外部股东,分别是悦时景朗、悦时景晖和无锡复星创投。恒鑫生活表示,此次引入外部投资者的原因为要建设新的基地,投资规模较大,因此在公开发行募集资金到位前,需要以自有资金先行投入。
除了恒鑫生活,今年年初,宝立食品递交上市申请,拟上交所主板上市。
宝立食品成立于2001年,目前主要产品包括复合调味料、轻烹解决方案和饮品甜点配料等,其招股书内容显示,大客户包括肯德基、麦当劳、德克士等企业,宝立食品主要为前述几家企业提供腌料、裹粉以及沙拉酱等酱料。过去,宝立食品完成了两轮融资,投资方包括胜辉永晨、杭州臻品、厚生投资、暖流资产。
今年以来,食品赛道供应商上市潮正在袭来。
“可能很多人都不了解千味央厨,但肯定都吃过千味央厨的产品。”千味央厨董事长孙剑今年在一次活动上表示,肯德基的蛋挞和油条、海底捞的油条和椰壳蛋糕、瑞幸咖啡的曲奇,都来自千味央厨。
去年9月,千味央厨登陆深交所,成为“速冻供应链第一股”,这也点燃了供应链企业的上市决心。截至发稿,千味央厨市值为51.16亿。
在上市前,千味央厨完成4轮融资,投资方包括京东、绝味食品等产业资本。越来越多的供应商上市,正印证了投资人们信奉的那句话:“挖矿的不如卖铲子的”。
根据艾媒咨询发布的《2022年上半年中国新式茶饮行业发展现状与消费趋势调查分析报告》数据显示:2021年中国新式茶饮市场规模为2795.9亿元,而随着消费者的需求持续上涨,预计2025年新式茶饮市场规模达到3749.3亿元。
茶饮行业进入门槛低,竞争压力较大。所以各家茶饮都在力求出新,那么新茶饮“新”在何处?首先是要新鲜食材,选用高品质原材料是在这个时代所有新茶饮企业必须达到的标准。第二就是新技术。这些都需要产业链的共同努力,由此看来,茶饮企业上下游的并购和投资的冲动是为了更好的打造产业护城河,那么,对供应商的把握越来越重要。
茶饮品牌做大做强,让背后的供应商纷纷迎来业绩的高光时刻。不仅是消费赛道,在制造业、医疗行业,也同样如此。
以新能源赛道为例,近年来,已上市的电动汽车项目受疫情、芯片等多因素影响,业绩并不喜人,但是,产业链利润向上游倾斜,各细分领域盈利能力开始分化加剧。动力电池、正极材料、负极材料、电解液、锂电隔膜、铜箔及结构件等细分赛道都迎来新的发展。
财报显示,2021年,天齐锂业实现营业收入76.63亿元,同比大增了136.56%,归母净利润20.79亿元,同比高涨213.37%,在2020年亏损18.33亿元的基础上扭亏为盈。今年一季度,天齐锂业的营收更是大增481.41%至52.57亿元;扣非归母净利润28.34亿元,已超过2021年全年的13.34亿元。
锂电池隔膜龙头恩捷股份, 2021年公司实现营收79.82亿元,同比增长86.37%;实现净利润27.18亿元,同比增长143.60%。
淘金热,赚钱的不一定是挖矿的,有可能是卖铲子的。这很可能是未来很长一段时间,投资人们关注的方向。
END

媒体合作:010-84464881
商务合作:010-84467811
早期项目有多卷?头部基金互拉黑名单,“我的项目不许他家投”|PE/VC崛起横琴|这个赛道成投资人新宠
GP观察
CMC资本 | CVCA | 澳银资本 | 北极光|北汽产投
国科投资 | 红杉中国 | 洪泰基金 | 华盖资本 | 华平投资
华兴资本 | 基石基金 | 凯联资本 | 雷石投资 | 启赋资本
深创投 | 盛世投资 | 顺为资本 | 钛信资本 | 天图投资
温氏投资 | 星纳赫资本 | 一村资本 | 毅达资本 |盛景嘉成
盈科资本 | 元明资本 | 源码资本 | 远洋资本|中科创星
曹德云|陈玮 | 何伯权 | 贾康|雷军 | 刘庆峰 |刘昼
米磊 | 倪泽望 | 邵红霞 | 沈建光 | 沈南鹏 | 盛希泰
宋向前 | 索继栓 | 唐宁 | 田源 | 王航 | 王忠民
卫哲 | 肖冰 | 叶卫纲 | 殷哲 | 俞敏洪 | 张磊 | 张琼
爱尔眼科 | B站 | 碧桂园 | 承泰科技 | 地平线 | 国电高科
国星宇航 | 华大基因 | 康希诺 | 旷视科技 | 马泷齿科
奈雪的茶 | 宁德时代 | 瑞幸咖啡 | 闪送 | 商汤科技
尚品宅配 | 神策数据 | 数据宝 | 数码大方 | 思必驰
微脉 | 微医 | 蔚来 | 沃尔德 | 西少爷 | 小马智行


点分享

点收藏

点点赞

点在看

