| 简介
一实科技(科技牛)专注于为企业精准匹配科研专家,快速提供技术解决方案,帮助企业学研合作、技术难题攻关、委托(联合)开发、技术成果对接,找到突破口,顺利完成转型升级。
如果您有以下科技成果、专利技术需求(含往期成果推荐),或企业遇到技术难题、寻求转型升级,点击文末“阅读原文”填写技术需求反馈表,或直接拨打电话:021-60496215,我们将有专业对口的项目人员为您提供全程专业化服务。
- 低温技术加工领域 -

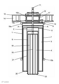
本发明提供一种真空低温恒温器,包括:维持真空的真空腔;悬设在真空腔内部的用于盛装第一致冷剂的第一腔(4),其连接有至少两根用于引入和/或排出流体的第一导管(2),第一腔(4)下方为冷却区域;悬设在真空腔内部并围绕第一腔(4)设置的用于盛装第二致冷剂的第二腔(5),第二致冷剂在标准大气压下的沸点高于第一致冷剂,第二腔(5)连接有至少两根用于引入和/或排出流体的第二导管(3),第二腔(5)能够给第一腔(4)提供外部降温。其中,第二腔(5)与第一腔(4)由真空隔开。本发明具有对沸点低的致冷剂的消耗低,震动小的特点。
在科学研究(如表面物理、超导物理)和医学检验(如磁共振成像MRI)中,真空环境和低温环境都是必不可少的。维持低温环境需要使用低温恒温器。低温恒温器通常使用液氮和/或液氦作为冷却介质,而工作方式主要有两种,即连续流动低温恒温器和杜瓦式低温恒温器。
杜瓦是指容器壁中具有真空夹层的容器。连续流动低温恒温器一般通过液氦连续流过需要降温的部件,达到降温的效果。在这种方式下,储存冷却介质的部位和需要降温的部位可以分开,这样需降温的部位可做到很小,便于安排。但一般而言,连续流动低温恒温器的结构较为复杂,消耗液氦也较快。
杜瓦式低温恒温器则是直接将液氮和液氦储存在需降温部位的上方,它消耗液氦较少,结构也比较简单,缺点是杜瓦体积较大,会对整个实验系统的设计带来更多的限制。国内很多低温恒温器都是采购自英国Oxford Instruments公司和美国JANIS公司。
相比液氮,液氦的价格昂贵。很多现有技术中的低温恒温器的设计都是以尽量减少液氦消耗为目的。另外,液氦和液氮在冷却时会发生沸腾,从而产生震动,并且系统自身也可能会产生震动。这些震动不利于实验的开展,可能会影响某些实验数据的准确性,因此人们希望使真空低温恒温器工作时的震动尽量减少。
本发明的真空低温恒温器能够在提供较好的恒温效果的同时大大降低第一致冷剂例如液氦的消耗速率,并且还能够有效缓解震动对第一致冷剂的冷却结构的影响。
技术许可、转让、入股
面议
科技牛,一家为企业精准匹配科研专家,快速提供技术解决方案的产学研服务平台。关注我们,了解最新科技成果。
点击下方“阅读原文”填写技术需求表 ☺

