引言:PMIC在现代电子系统中的
重要性与挑战
随着电子技术的快速发展,电源管理集成电路(PMIC)在现代电子设备中的重要性日益增长。从智能手机到汽车电子,再到高性能计算系统,PMIC在确保设备稳定、节能和高效运行中扮演着关键角色。然而,随着PMIC功能的日益复杂化,如何高效、准确地进行其测试和验证,成为了工程师面临的一大挑战。
本文将整合多个重要的PMIC测试方案,探讨如何利用先进的测试技术,如DC-DC电源管理芯片效率测试、电源环路响应测试、共模瞬变抗扰度(CMTI)测试、传输线脉冲(TLP)测试、电源抑制比(PSRR)测试和失效分析等,为PMIC产品的研发、生产和应用提供全方位的支持。通过高效智能的测试流程,不仅能够提高产品的可靠性,还能加速产品的市场推广。
(点击上方标题,可直接查看测试方案)
(点击上方标题,可直接查看测试方案)
(点击上方标题,可直接查看测试方案)
随着新一代宽禁带半导体器件的出现,PMIC芯片在高频、高速的工作环境中必须具备更强的抗干扰能力。CMTI(共模瞬变抗扰度)测试是衡量隔离器件对高速共模电压冲击抑制能力的关键测试。CMTI性能的优劣,直接影响到电源系统的稳定性,特别是在电机驱动、太阳能逆变器等应用中,快速的共模电压波动可能导致信号失真、系统不稳定甚至故障。
CMTI测试分为静态和动态两种方式。在静态测试中,工程师将输入端施加高电平或低电平,并模拟共模瞬变,观察其是否影响输出状态。动态测试则在实际工作条件下进行,测试隔离器件在真实环境中的抗干扰能力。为了准确评估CMTI性能,需要使用高带宽、低噪声的示波器,配合适当的探头和设备,确保捕捉到微小的信号变化。
(点击上方标题,可直接查看测试方案)
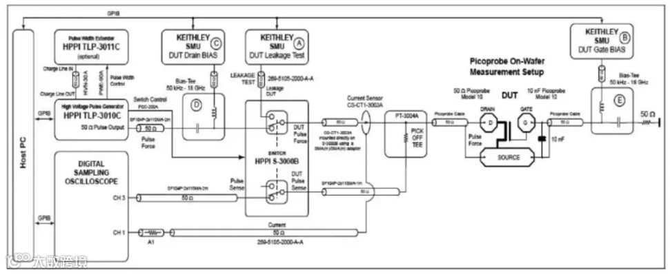
静电放电(ESD)是电子器件在运行过程中常见的故障来源,尤其是在高密度集成电路中。TLP(传输线脉冲)测试能够模拟静电放电脉冲,评估芯片的抗静电能力。与传统的ESD测试方法(如HBM、MM、CDM)不同,TLP测试使用方波脉冲,并通过测量电流-电压特性曲线来评估器件在静电放电中的表现。
TLP测试能够提供更详细的IV、IT、VT曲线,这对于静电防护设计的仿真和优化至关重要。尽管TLP脉冲与真实的ESD放电存在差异,但它仍能提供对静电过程的准确模拟,帮助工程师预测芯片在静电环境中的表现。为了实现高精度的TLP测试,必须使用带宽高、采样率快的示波器和探头,以确保捕捉到超快脉冲的细微变化。
(点击上方标题,可直接查看测试方案)
电源对纹波噪声的抑制能力是PMIC的重要性能指标,特别是在高效能应用中,电源的稳定性直接影响到系统的信号质量和运行稳定性。PSRR(电源抑制比)测试是衡量电源管理芯片对输入端纹波噪声的抑制能力的重要指标。电源纹波噪声不仅来源于开关噪声和谐波,还可能受到数字信号串扰、时钟耦合等因素的影响。
PSRR测试通常通过注入特定扫频信号,测量输入端和输出端的纹波,计算出PSRR值。为了确保高精度的测试,推荐使用低噪声、高分辨率的示波器,并结合泰克PSRR应用软件,快速绘制PSRR曲线。这种方法不仅能够高效测量电源噪声抑制能力,还能在系统设计过程中提供数据支持,优化电源设计,提升系统性能。
(点击上方标题,可直接查看测试方案)
失效分析是确保PMIC和其他电子器件可靠性的重要环节,尤其在面对高精度和复杂器件时,传统的手动测试方法往往效率低且易出错。使用泰克3700A曲线跟踪器,工程师可以高效地进行静态参数测试,特别适用于集成电路、二极管、MOSFET等器件的失效分析。
3700A曲线跟踪器不仅继承了之前型号的经典操作模式,还优化了数字化信息管理系统。其快速的测试速度和高精度的测量能力,能够大幅提升失效分析的效率。内置的波形比较功能和自动化测试操作,使得工程师能够快速识别样品与标准品之间的差异,优化测试流程,减少人工操作,提高工作效率。
结尾:智能化测试引领PMIC研发新趋势
在PMIC的研发过程中,高效精准的测试方案是确保产品稳定性和性能的关键。本文介绍的几种测试方案,如DC-DC电源管理芯片效率测试、电源环路响应测试、CMTI、TLP测试、PSRR测量和失效分析,涵盖了PMIC产品的各个重要测试环节。通过使用泰克和Keithley等品牌的先进设备,工程师能够在更高效、精准的测试流程中发现潜在问题,优化设计,提升产品的可靠性。
随着测试技术的不断进步,智能化和自动化将成为PMIC研发中的主流趋势。借助这些高效的测试方案,工程师能够在短时间内完成复杂测试任务,为PMIC产品的研发、生产和应用提供有力支持,推动技术创新和产业升级。
点击阅读原文,参与报名!
欲知更多产品和应用详情,您还可以通过如下方式联系我们:
邮箱:china.mktg@tektronix.com
网址:tek.com.cn
电话:400-820-5835(周一至周五9:00-17:00)
将您的灵感变为现实
我们提供专业的测量洞见信息,旨在帮助您提高绩效以及将各种可能性转化为现实。
泰克设计和制造能够帮助您测试和测量各种解决方案,从而突破复杂性的层层壁垒,加快您的全局创新步伐。我们携手共进,一定能够帮助各级工程师更方便、更快速、更准确地创造和实现技术进步。
扫码添加“泰克工程师小助手”
立享1对1专属服务!
点击“阅读原文”参与报名!

