资产云2.0「聚秀行政事业单位资产管理」
常见问题解答
“
写在前面
我公司于2021年5月在资产云平台上架行政资产管理应用后,该应用陆续在衢州、金华、湖州、温州、丽水等地区落地使用,并在省外地区陆续推广使用。在运维过程收集了一些大家常见的问题,在这里给大家做详细解答,内容如下:
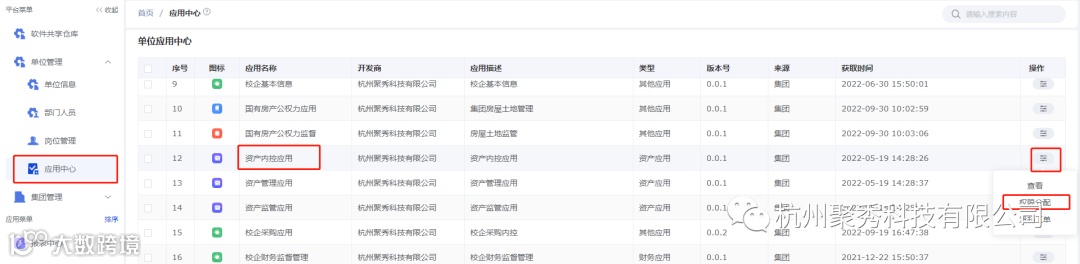
一、 新增、变更操作员步骤
1.单位管理员在【单位管理】-【部门人员】中,点击【新增人员】并进行【账户开通】。



2.【岗位管理】中分配岗位,点击对应的岗位:资产管理员、财务管理员或主管审批员等,点击【分配人员】。

3.【应用中心】中找到“资产内控应用”,点击【权限分配】,选择“单位资产管理员”进行分配。


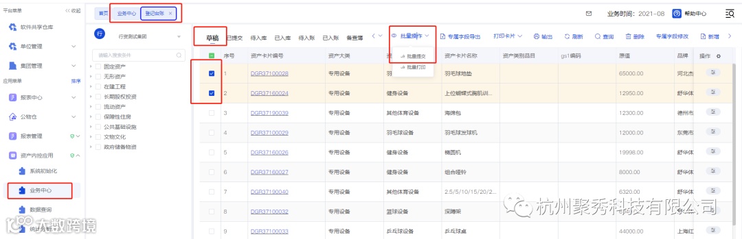
二、卡片批量提交、撤销入账
1.在【业务中心】-【登记台账】的“草稿”界面,选中多条数据后点击【批量操作】下的【批量提交】,如果没有按钮可能因为浏览器尺寸太小,可以点击左侧箭头。


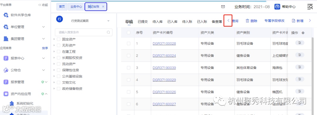
2.对于当月新增的资产,可以撤销入账。在【业务中心】-【登记台账】的“已入账”界面,选中要撤销的卡片,点击【撤销入账】。

如果不是当月新增资产可以去【资产处置申请】中做处置方式为“错账更正”的处置申请或者去【资产卡片变动】做修改。
三、 月结账操作
1.【期末折旧】:点击【确认折旧】进行确认后,点击【导出资产总账】,将数据提供给财务做账。


2.【加载财务数据】:在此填写资产负债表,完成后点击【校验】和【保存】。

3.【月结账】:点击【试算平衡】核对资产账和财务账是否一致,对账状态“平”的话,点击【确认月结】完成月结,业务时间跳转到下个月。

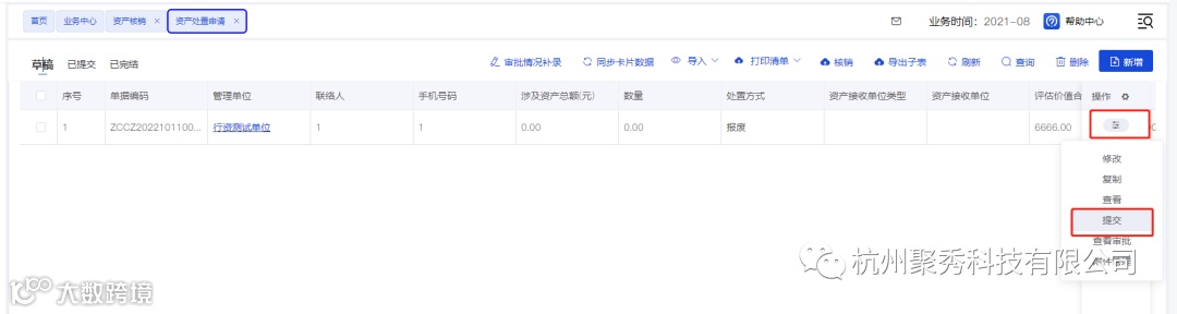
四、 批量资产的处置申请如何操作
1.少量资产卡片进行处置时可以在新单据里点击【引入资产库】或【引入处置库资产】添加资产。

2.如果有很多资产需要处置,填写完主表信息后无需引入资产点击保存,在草稿界面下载导入模板,填写好模板后选中单据进行导入。



3.点击【提交】审批通过后,在【资产核销】内进行核销,如果是调拨业务需要先等对方单位接收。


五、 卡片拆分如何操作
1.点击【业务中心】-【资产拆分】,点击【新增】选择数量大于1的资产。

2.输入拆分条数后点击【数量拆分】,系统会自动平均拆分好,如果想要不平均拆分,可以点击拆分明细内的【操作】进行修改。点击【保存】后提交,审批通过后,拆分生效。

六、 卡片变动如何操作
1.点击【业务中心】-【资产卡片变动】-【新增】,选择“批量变更类型”后“选择属性”。
注意:批量变更类型分为上级审批和自由修改,两者修改不同的资产属性,例如原值、数量需要选择上级审批。

2.然后再“选择资产”,填写好变动信息后点击【保存】,上级审批需要提交审批通过后生效,自由修改点击保存后直接生效。


七、在建转固如何操作
1.点击【业务中心】-【在建转固】-【新增】,选择在建工程卡片点击确认。

2.点击【新增】填写固定资产子表信息,在建工程原值=固定资产原值+待注销原值。
保存提交审批通过后在【资产核销】-【在建转固】页面进行核销,核销后在建工程卡片在资产总账中减少,固定资产卡片生成在【登记台账】的草稿界面,填写其他卡片信息后审批入账。




