设备维修管理的现状
以往,工厂的设备维修管理采用的是根据现有的设备台数及维修人员数量进行合理的分配,各负其责,既分工又合作;但由于受理由关系等各种因素影响,维修人员之间的技术交流和探讨、维修人员与操作人员之间的技术传帮带都具有很大的局限性。
并且由于教会徒弟饿死师傅的传统观念仍深扎根于维修人员,特别是那些有丰富实践经验但理论水平欠缺的老维修人员的思维中,这种现状对设备整体运行效率的提高及后备维修人才的培养是极其不利的。
要改变这种现状,方法是多种多样的,可通过思想教育来转变员工的挂念,也可通过分配制度的改革来扭转这一局面;
但更为直观、便捷的办法就是搭建一个可以资源共享的学习平台,通过平台可以使每位操作人员、维修人员和技术人员都能互相借鉴、取长补短,不断提升自己的技术水平;
建立设备维修知识库的目的
我们知道,设备故障产生的因素是很多方面,就同一个故障而言,其产生原因也是多种多样,不同的人处理的方法也是不一样,关键看怎么处理故障的效率更高,哪种方法更便捷。
在设备维护和管理过程中,在分析和处理故障的时候,力求是在最短的时间内找到故障产生的原因并尽快解决。设备故障的处理效率与个人的技术水平和维修经验息息相关,每个人的水平和经验都不相同,如何把整体的水平和效率提高呢?
关键在于如何把处理同一问题的不同解决方法进行有效的总结和提炼,形成一条应对同样故障不同机理的经验,并能有效的使大家通过学习从中受益,这也是维修知识库的作用。
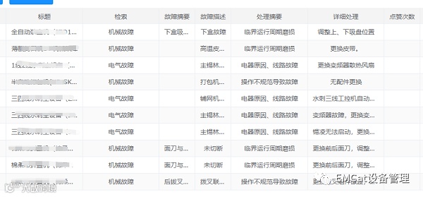
维修知识库是基于维修人员和技术人员工作的总结和提炼,通过搭建内部的一个技术交流和共享平台,建立大量的故障信息数据的收集,科学分类,把所有类型的维修从故障现场、原因分析、处理措施和耗时等都同步至知识库,为经验的总结和提升提供数据
以下是设备管理系统中维修记录的统计和查询:
通过维修知识库的搭建和运用,首先在工厂内逐步形成富有管理特色,对实际工作有指导意见,并且员工易于接受,其次是设备效率提升,由于设备故障查找和排除的时间减小,设备有效运行率可以得到稳步提升。


