上期回顾:产品和模具设计要点系列之均匀壁厚
今天是第二期:流道
何为流道?流道是连接注塑机射嘴头与模具型腔的通道,利用这个通道,将炮筒内的材料注射进模具型腔,固化后得到所需的产品。所以流道是注塑模具里不可缺少的一个重要组成部分。流道可以分为全热流道、半热流道和冷流道。本文,我们主要来讲讲冷流道的几个要点。
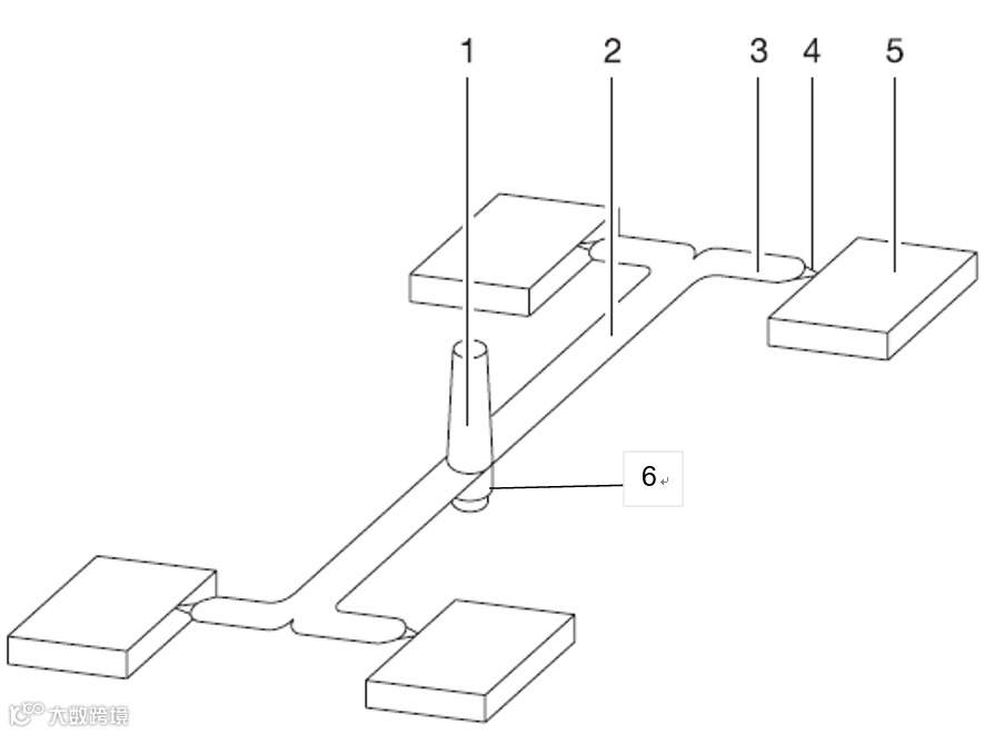
图1
1为主流道;
2为一级分流道;
3为二级分流道;
4为浇口;
5为产品;
6为冷料井
冷料井
何为冷料井?冷料井顾名思义就是储存冷料的地方。如上图所示,6即为冷料井。冷料井有两个关键尺寸,直径D6和深度L6。设计时要求D6≧D1,D1为主流道大端直径。若D6比D1小,则注射时沿着主流道侧壁冷却的材料难以进入到冷料井内,此时多余的冷料则会被注入到分流道、浇口乃至型腔,影响产品的品质。冷料井的长度L6常为D1的1~2倍。
平衡性
平衡性包括两部分,一个是流道的平衡性,一个是型腔的平衡性。流道的平衡性是型腔平衡的前提,但却经常不被重视。
图2
图3
如上面两图里的1、2、3均为非平衡流道设计—--每腔材料的流动距离不一样,非平衡流道的设计会引起型腔的不平衡从而导致产品的差异,比如有的飞边有的欠注。所以针对非平衡流道,通常需要去调整每腔分流道及浇口的尺寸,来型腔的同步充满。但是,在此过程中,由于剪切、冷却等的差异,会导致每腔内的材料物性发生改变,难以得到稳定的产品。
关于流道不平衡引起的型腔不平衡,试模时有时候会遇到一个让人困惑的现象。通常,流道快的型腔填充也快。但是,有时候发现流道快的型腔反而慢了,这该怎么解释呢?
注塑里有个专业名词叫“迟滞效应”,就是针对“流道快而型腔反而慢”这种现象的解释:注塑时,材料倾向于往阻力小的地方流动。
圆角过渡
在流道各级衔接的地方,采用圆角过渡。圆角过渡的好处:
1、降低压力损失;
2、减小剪切差异使得各腔的材料黏度接近。
除了流道自身的设计外,我们还必须关注另外一点,即模具与注塑机射嘴的中心度问题。若是中心度不够,则容易导致:
1、增大注塑阻力;
2、加剧射嘴头磨损;
3、倒扣引起脱模不顺
在车间里走走看看,拿起料头瞅两眼。中心度是否可以?冷料井是否足够大?流道是否平衡?若采用圆角过渡是否会更好?或许只是一个细节的改变,就可以解决一个大大的烦恼。
本文建议收藏
关于产品和模具设计
不知道各位塑友们还遇到哪些问题
欢迎大家留言告诉我们
觉得内容还不错的话,给我点个“在看”呗

