一、知识产权基本信息
(1)202010401754.3 一种污水处理沉降池用底部刮泥板装置
(2)201910904213.X 一种污水颗粒物集聚过滤结构
(3)201910786206.4 一种污水处理系统废水导入结构
(4)201910896354.1 一种污水处理沉降池结构
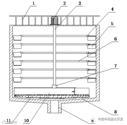
二、背景技术简要介绍(一种污水处理沉降池用底部刮泥板装置)
沉降池是污水处理系统中的重要组成部分,通常沉降池会对应配备刮泥结构以对其底部和侧边上沉降的污泥进行刮除然后通过底部锥形处的抽泥管将沉降的污泥抽走,再通过污泥离心机进行再处理,然而现有的用于沉降池底部的刮泥板其结构分布为沿着顶侧横臂进行均匀分布,这就导致在进行旋转刮泥时被刮泥板刮起的部分污泥受离心力作用而攀附在刮泥平板上,另一部分污泥在锥形底作用下汇聚到中心抽泥管处,导致刮泥板对沉降池的刮泥清理的不彻底。
对应产品技术优势和性能指标:
·专利产品性能·
本发明一种污水处理沉降池用底部刮泥板装置提供了一种通过涡流架使得刮起的污泥在受到离心力时能够沿着涡旋轮廓被向着中心处导向,避免污泥攀附的刮泥板机构。

应用情况:专利产品+商业计划书
应用前景:污水处理设备设施、涡流架、环境保护、污泥阻挡、排水
转化形式:专利权转让、许可、自行实施
联系人:北京中知中科技术开发有限公司

北京中知中科技术开发有限公司,目前已在全国形成2个概念验证中心,3个专利运营机构和1个投资机构的协同创新体系,围绕先进专利技术构建了“1+X+N”的商业模式。
围绕解决科技成果转化、突破产业发展的关键技术等实际需要,采用科学发现、技术发明和产业发展结合的研发模式,同步研发、逆向创新、交叉融合开发等新型创新理念贯穿整个标准化研究过程,以应用技术的产权化、产品化、产业化为主线,为高校、科研院所、企业提供创意概念验证服务,技术协同创新、专利产品研发和技术产业化应用推广服务。


